Nissan Rogue (T33) 2021-Present Service Manual: Removal and Installation :: Brake Power Backup Unit
Exploded View

| 1 | Brake power backup unit | 2 | Bracket (lower) | 3 | Bracket (upper) |
Removal & Installation
REMOVAL
Power switch OFF and disconnect CONSULT from DDL2 diagnosis connector.
Check that room lamps are turned OFF after closing all doors including back door, and then wait for 3 minutes or more at out side of Nissan Ariya vehicle.
CAUTION:
Never touch the vehicle during waiting.
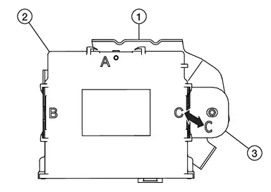
Remove the luggage side lower finisher (left). Refer to Removal and Installation.
Disconnect the harness connector from the brake power backup unit.
Remove the nut, the upper bracket, and the brake power backup unit. Refer to Exploded View.
CAUTION:
Never drop parts after removal.
Remove the upper bracket from the brake power backup unit.
Remove the bolts and the lower bracket.
INSTALLATION
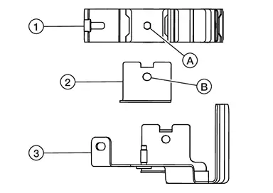
Install the lower bracket with the bolts. Refer to Exploded View.
Align the letter (C) on the brake power backup unit (2) with the letter (C) on the upper bracket (3) positioned over the lower bracket (1).

Install the upper bracket (2) to the brake power backup unit (1). Make sure to insert the protrusion (A) on the brake power backup unit to the lock hole (B) on the upper bracket.

Install the upper bracket to the stud on the lower bracket (3).
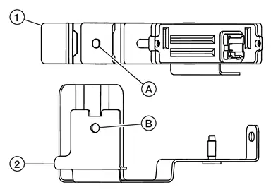
Insert the protrusion (A) on the brake power backup unit (1) to the lock hole (B) on the lower bracket.

Install the nut to the stud on the lower bracket.
Connect the harness connector to the brake power backup unit.
Install the luggage side lower finisher (left). Refer to Removal and Installation.
Other materials:
Système de commande dynamique du véhicule (VDC)
Informations de base
Le système de commande dynamique du véhicule (VDC) du Nissan Rogue repose sur plusieurs capteurs avancés capables d’analyser en permanence les actions du conducteur ainsi que les mouvements et la stabilité du véhicule dans diverses situations de conduite.
Selon les co ...
U2118-87 Can Comm Circuit
DTC Description
CAN (Controller Area Network) is a serial communication system for
real time application. It is an on-Nissan Ariya vehicle multiplex
communication system with high data communication speed and excellent
error detectability. Many electronic control units are equipped onto
Nis ...
P1c91-A2 Sub Starter & Generator
DTC Description
DTC DETECTION LOGIC DTC No. CONSULT screen terms (Trouble diagnosis content) DTC detection condition
P1C91-A2
Sub starter & generator
(Sub starter & generator)
Diagnosis condition
Engine restart
Nissan Ariya Vehicle speed above 4.9 MPH (8 km/h)
...
