Nissan Rogue (T33) 2021-Present Service Manual: Dtc/circuit Diagnosis :: Power Window Relay
Component Inspection
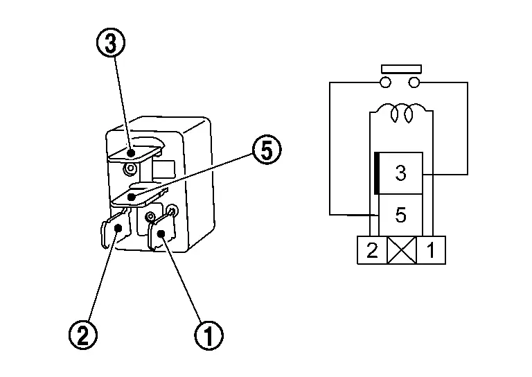
CHECK POWER WINDOW RELAY
-
Ignition switch OFF.
-
Remove power window relay.
-
Check continuity between power window relay terminals.

Power window relay Condition Continuity Terminals 

12 V direct current supply between terminals
and
. Yes No current supply No
Is the inspection result normal?
YES>>Inspection End.
NO>>Replace power window relay.
Other materials:
Dtc/circuit Diagnosis. B1002-13 Lap Pre-Tensioner Rh
DTC Description
DTC DETECTION LOGIC DTC No.
CONSULT screen items
(Trouble diagnosis content) DTC Detection Condition
B1002-13
Lap pre-tensioner RH
(Lap pre-tensioner right hand)
Diagnosis condition
When ignition switch is ON.
Signal (terminal)
Lap pre-tensioner RH signal
...
Heated steering wheel
Example
Push the heated steering wheel switch to warm the steering wheel after the engine starts. The indicator light A will illuminate once the system is active.
If the steering wheel surface temperature is below 86–104ºF (30–40ºC), the system will automatically heat the wheel and cycle o ...
Brake assist
Brake assist
When brake pedal force exceeds a certain
threshold, Brake Assist activates to provide
greater braking force than a conventional
brake booster, even with relatively light pedal
pressure.
WARNING
Brake Assist supports braking but does
not replace careful driving. It is not a collision
wa ...
