Nissan Rogue (T33) 2021-Present Service Manual: Removal and Installation :: Washer Tank
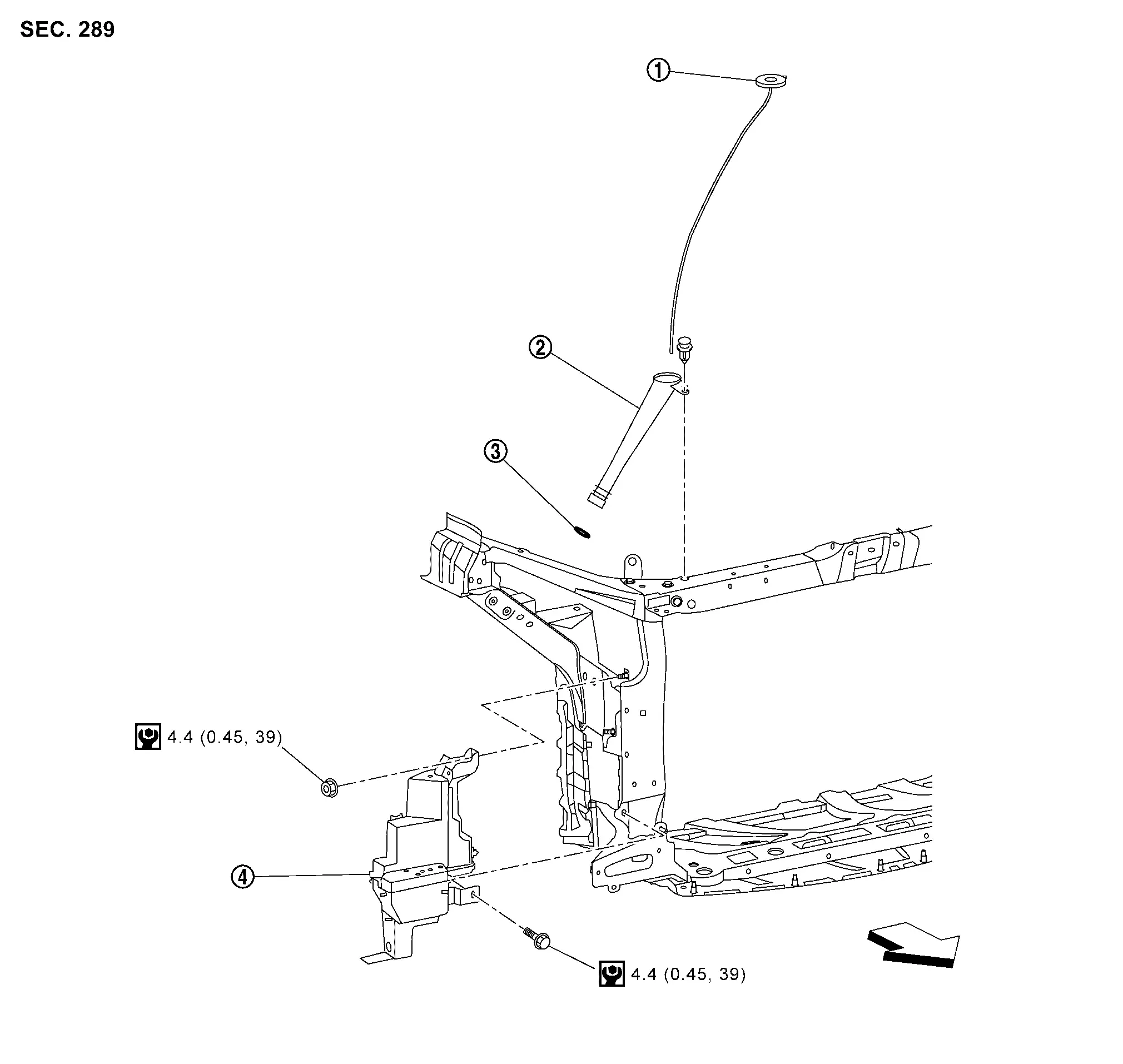
Exploded View
Except for Canada

| 1. | Washer tank cap | 2. | Washer tank inlet | 3. | O-ring |
| 4. | Washer tank | — | — | — | — |
![]() |
: Nissan Ariya Vehicle front | ||||
![]() |
: N·m (kg-m, in-lb) | ||||
For Canada

| 1. | Washer tank cap | 2. | Washer tank inlet | 3. | O-ring |
| 4. | Washer tank | 5. | Washer fluid level switch | — | — |
![]() |
: Nissan Ariya Vehicle front | ||||
![]() |
: N·m (kg-m, in-lb) | ||||
Removal and Installation
CAUTION:
When washer tank is removed, washer fluid may come out so prepare a container to receive the fluid and never allow fluid to be sprinkled.
REMOVAL
Fully open hood assembly.
Remove front grille cover. Refer to Removal and Installation.
Remove washer tank inlet fixing clip (A) and harness clip (B), and then pull out to remove washer tank inlet from washer tank.

Remove front combination lamp. Refer to Removal and Installation.
Remove front and rear washer pump. Refer to Removal and Installation.
For Canada models only, disconnect the harness connector from washer fluid level switch.
Remove washer tank mounting bolt(s) and nut.
Remove harness clips from washer tank, and then remove washer tank.
INSTALLATION
Note the following item, and then install in the reverse order of removal.
CAUTION:
After installation, refill washer tank with washer fluid, and then check that there is no leakage.
Other materials:
Étiquettes d'avertissement d'airbag supplémentaire
Les étiquettes d'avertissement concernant
le système d'airbag avant sont placées
sur le véhicule comme indiqué sur
l'illustration, afin de rappeler les consignes essentielles de sécurité.
Airbag SRS
Les étiquettes d'avertissement sont
situées sur la surface des pare-soleil, ...
Nettoyage intérieur
Informations de base
Nettoyez régulièrement l’habitacle du Nissan Rogue afin de préserver un environnement propre, sain et agréable pour tous les occupants. Les surfaces intérieures, les éléments en plastique ainsi que les sièges doivent être entretenus à l’aide d’un aspirateur ou d ...
Distance Sensor Inspection
Work Procedure
CAUTION:
In the following conditions, the distance sensor may not perform optimally.
Attaching stickers or installing aftermarket parts around the distance sensor.
Repairs performed by the customer.
Scratches, bird droppings, insects, mud, etc., around the distance se ...


