Nissan Rogue (T33) 2021-Present Service Manual: Removal and Installation :: Coil Spring
Exploded View

![]() |
Upper rubber seat | ![]() |
Coil spring | ![]() |
Lower rubber seat |
![]() |
Rear lower link | ||||
![]() |
: Nissan Ariya Vehicle front |
Removal and Installation
REMOVAL
Remove tires. Refer to Removal & Installation..
Using jack (A) to rear lower link
.

CAUTION:
-
Never damage the rear lower link with a jack.
-
Check the stable condition when using a jack.
Loosen the rear lower link mounting bolts and nuts
(rear suspension member side).

Remove the rear lower link mounting bolts and nuts
(axle housing side).

Slowly lower jack, remove upper rubber seat and coil spring
.

CAUTION:
Operate while checking that jack supporting status is stable.
Remove lower rubber seat from rear lower link.
Perform inspection after removal. Refer to Inspection.
INSTALLATION
Note the following, and install in the reverse order of removal.
-
Install lower rubber seat
with its protrusion
on the lower area aligned with the hole
of rear lower link
.
CAUTION:
The lower rubber seat protrusion
must be securely inserted into the hole
of rear lower link
. -
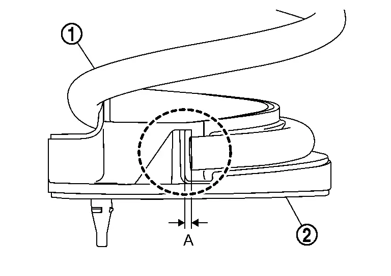
Install coil spring
by aligning lower end of coil spring with lower rubber seat
as shown in the figure.
Dimension (A) : 5 mm (0.20 in) or less CAUTION:
Set coil spring so that its paint marks
and
are aligned with the position from the bottom end of the coil spring shown in the figure.

: Upper side Japan production models 
: 2.75 turns 
: 1.80 turns North America production models 
: 3.5 turns 
: 2.5 turns -
Perform final tightening of fixing parts at the Nissan Ariya vehicle installation position (rubber bushing), under unladen conditions with tires on level ground.
-
Perform inspection after installation. Refer to Inspection.
Inspection
INSPECTION AFTER REMOVAL
Check rear lower link, rubber seat, upper seat, and coil spring for deformation, crack, and damage. Replace it if necessary.
INSPECTION AFTER INSTALLATION
Check wheel alignment. Refer to Inspection.
Other materials:
P1564 Ascd Steering Switch
DTC Description
DTC DETECTION LOGIC DTC
CONSULT screen terms
(Trouble diagnosis content)
DTC detection condition
P1564
00
ASCD SW
(ASCD SW)
Diagnosis condition
—
Signal (terminal)
ASCD steering switch signal
Threshold
ECM detects that input signal from t ...
Périmètre de fonctionnement de la clé intelligente (modèles avec contact extérieur de poignée de portière du Nissan Rogue)
Les fonctions avancées de la clé intelligente (Intelligent Key) de votre Nissan Rogue sont conçues pour offrir un confort d'accès optimal tout en maintenant une sécurité électronique rigoureuse. Ces fonctionnalités peuvent être utilisées uniquement et exclusivement lorsque la clé in ...
P0106 Manifold Absolute Pressure Sensor
DTC Description
DTC DETECTION LOGIC DTC
CONSULT screen terms
(Trouble diagnosis content)
DTC detection condition
P0106
00
ABSL PRES SEN/CIRC
(Manifold Absolute Pressure/Barometric Pressure Sensor Circuit Range/Performance)
Diagnosis condition
—
Signal (terminal)
...


