Nissan Rogue (T33) 2021-Present Service Manual: Removal and Installation :: Brake Piping
Front
Exploded View
JAPAN PRODUCTION MODELS WITHOUT ProPILOT Assist 2.1

![]() |
ABS actuator and electric unit (control unit) | ![]() |
Brake tube | ![]() |
Brake tube bracket |
![]() |
Brake booster | ![]() |
Master cylinder assembly | ![]() |
Bracket |
![]() |
Lock plate | ![]() |
Brake hose | ![]() |
Union bolt |
![]() |
Copper washer | ||||
![]() |
To rear brake tube. Refer to Exploded view. | ||||
, , , , : Indicates that the part is connected at points with same symbol in actual Nissan Ariya vehicle. |
|||||
![]() |
: Vehicle front | ||||
![]() |
: N·m (kg-m, ft-lb) | ||||
![]() |
: N·m (kg-m, in-lb) | ||||
![]() |
: Always replace after every disassembly. | ||||
JAPAN PRODUCTION MODELS WITH ProPILOT Assist 2.1

![]() |
Electrically-driven intelligent brake unit | ![]() |
Brake tube | ![]() |
Bracket |
![]() |
ABS actuator and electric unit (control unit) | ![]() |
Lock plate | ![]() |
Brake hose |
![]() |
Union bolt | ![]() |
Copper washer | ||
![]() |
To rear brake tube. Refer to Exploded View. | ||||
![]() |
: Nissan Ariya Vehicle front | ||||
![]() |
: N·m (kg-m, ft-lb) | ||||
![]() |
: Always replace after every disassembly. | ||||
![]() |
: Indicates that the part is connected at points with same symbol in actual Nissan Ariya vehicle. | ||||
NORTH AMERICA PRODUCTION MODELS

![]() |
ABS actuator and electric unit (control unit) | ![]() |
Brake tube | ![]() |
Brake tube bracket |
![]() |
Brake booster | ![]() |
Master cylinder assembly | ![]() |
Bracket |
![]() |
Lock plate | ![]() |
Brake hose | ![]() |
Union bolt |
![]() |
Copper washer | ||||
![]() |
To rear brake tube. Refer to Exploded view. | ||||
, , , , : Indicates that the part is connected at points with same symbol in actual Nissan Ariya vehicle. |
|||||
![]() |
: Vehicle front | ||||
![]() |
: N·m (kg-m, ft-lb) | ||||
![]() |
: N·m (kg-m, in-lb) | ||||
![]() |
: Always replace after every disassembly. | ||||
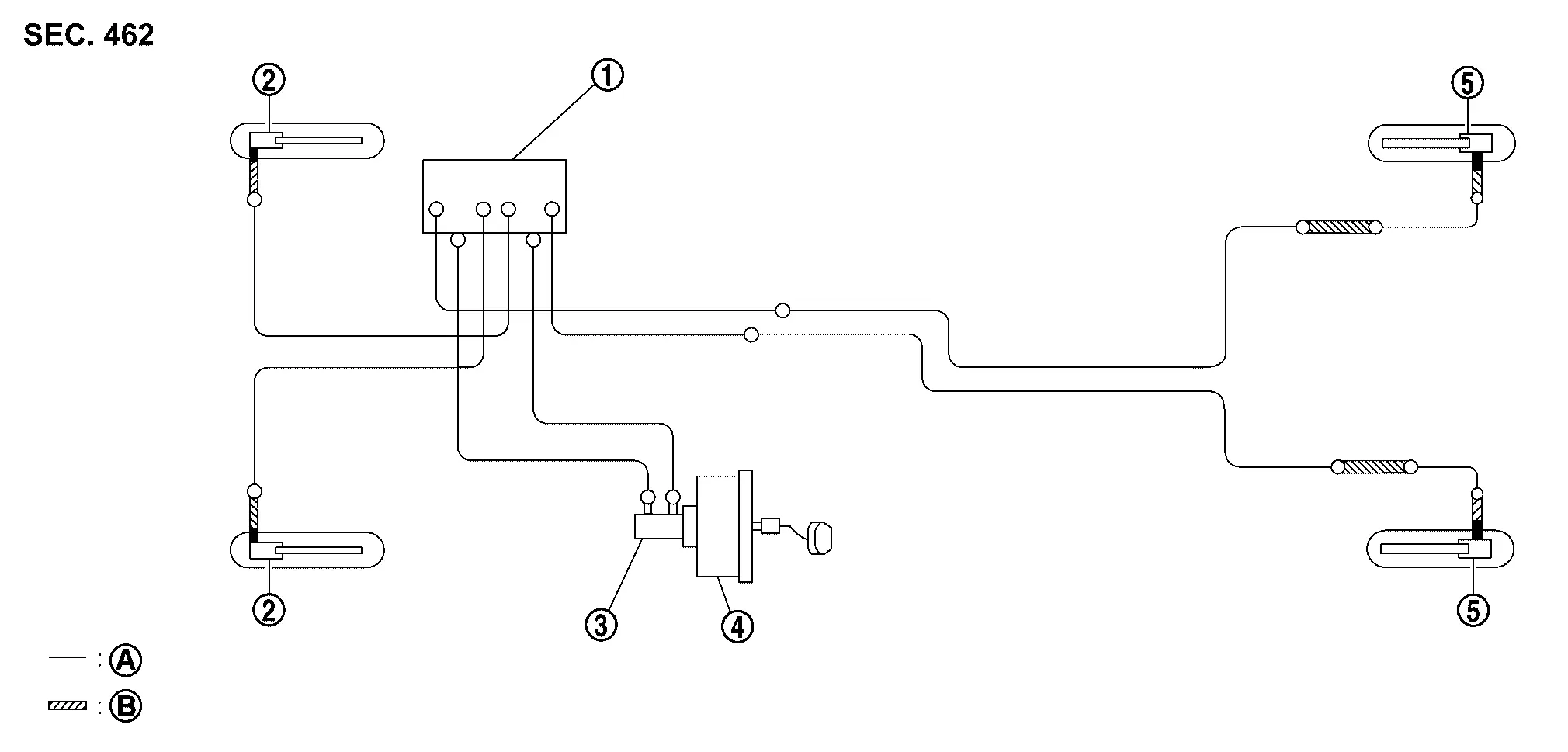
Hydraulic Piping

![]() |
ABS actuator and electric unit (control unit) | ![]() |
Front disc brake | ![]() |
Master cylinder assembly |
![]() |
Brake booster | ![]() |
Rear disc brake | ||
![]() |
Brake tube | ![]() |
Brake hose | ||
![]() |
: Flare nut | ||||
![]() |
: Union bolt | ||||
Removal and Installation
REMOVAL
CAUTION:
-
Never spill or splash brake fluid on painted surfaces. Brake fluid may seriously damage paint. Wipe it off immediately and wash with water if it gets on a painted surface. For brake component parts, never wash them with water.
-
Never depress the brake pedal while removing the brake hose or brake tube. If this is not complied with, brake fluid may splash.
Remove tires.
Drain brake fluid. Refer to Draining.
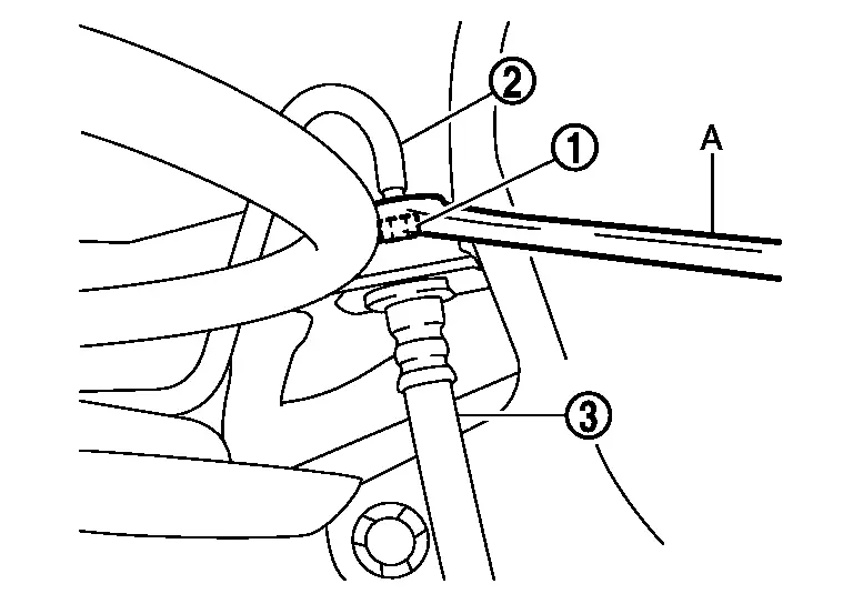
Loosen the flare nut
with a flare nut wrench (A) and separate the brake tube
from the brake hose
.

CAUTION:
-
Never scratch the flare nut and the brake tube.
-
Never bend sharply, twist or strongly pull out the brake hoses and tubes.
-
Cover open end of brake tubes and hoses when disconnecting to prevent entrance of dirt.
Remove the union bolt
and copper washers
, and remove the brake hose
from the brake caliper assembly.

Remove the lock plate
and remove the brake hose.
INSTALLATION
CAUTION:
-
Never spill or splash brake fluid on painted surfaces. Brake fluid may seriously damage paint. Wipe it off immediately and wash with water if it gets on a painted surface. For brake component parts, never wash them with water.
-
Never depress the brake pedal while removing the brake hose or brake tube. If this is not complied with, brake fluid may splash.
-
Never allow foreign matter (e.g. dust) and oils other than brake fluid to enter the reservoir tank.
Assemble the union bolt
and the copper washer
to the brake hose.

CAUTION:
Never reuse the copper washer.
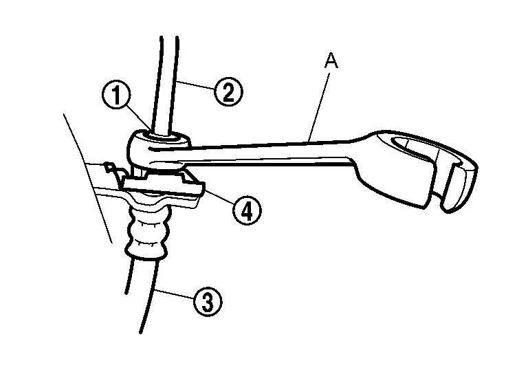
Align the brake hose pin
with the brake caliper assembly projection
, and tighten the union bolt to the specified torque.
Install the brake tube
to the brake hose
, temporarily tighten the flare nut
by hand until it does not rotate further, and fix the brake hose to the bracket
with the lock plate
.

CAUTION:
Check that all brake hoses and brake tubes are not twisted and bent.
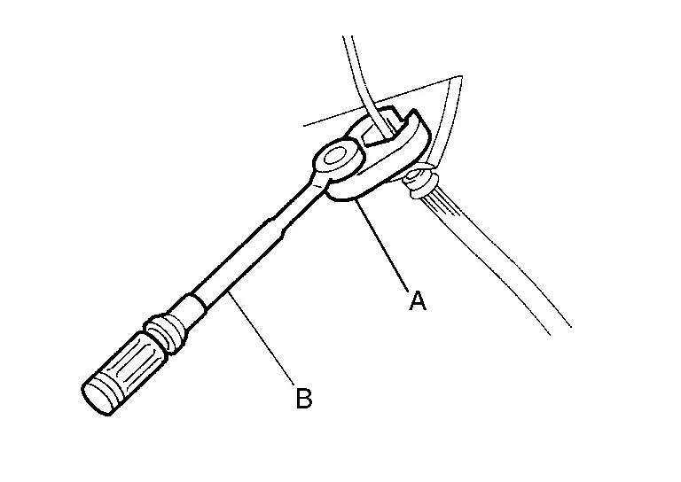
Tighten the flare nut to the specified torque with a crowfoot (A) and torque wrench (B).

CAUTION:
Never scratch the flare nut and the brake tube.
Refill with new brake fluid and perform the air bleeding. Refer to Bleeding Brake System.
CAUTION:
Never reuse drained brake fluid.
Install tires. Refer to Removal & Installation.
Perform inspection after installation. Refer to Inspection.
Inspection
INSPECTION AFTER INSTALLATION
Check the brake hoses and tubes for the following: no scratches; no twist and deformation; no interference with other components when steering the steering wheel; no looseness at connections.
CAUTION:
Clearance with brake hose and each parts being secured more than 10 mm (0.39 in) in unladen condition*.
*: Fuel, engine coolant and lubricant are quantity to specified. Spare tire, jack, hand tools and mats are brought out of Nissan Ariya vehicle.
Depress the brake pedal with a force of 785 N (80 kg, 176 lb) and hold down the pedal for approximately 5 seconds with the engine running. Check for any fluid leakage.
CAUTION:
Retighten the applicable connection to the specified torque and repair any abnormal (damaged, worn or deformed) part if any brake fluid leakage is present.
Rear
Exploded View

![]() |
Brake tube A | ![]() |
Lock plate | ![]() |
Brake tube bracket |
![]() |
Brake hose A | ![]() |
Brake tube B | ![]() |
Brake hose B |
![]() |
Union bolt | ![]() |
Copper washer | ||
![]() |
To front brake tube | ![]() |
To rear brake hose A | ||
![]() |
: Nissan Ariya Vehicle front | ||||
![]() |
: N·m (kg-m, ft-lb) | ||||
![]() |
: N·m (kg-m, in-lb) | ||||
![]() |
: Always replace after every disassembly. | ||||
Hydraulic Piping

![]() |
ABS actuator and electric unit (control unit) | ![]() |
Front disc brake | ![]() |
Master cylinder assembly |
![]() |
Brake booster | ![]() |
Rear disc brake | ||
![]() |
Brake tube | ![]() |
Brake hose | ||
![]() |
: Flare nut | ||||
![]() |
: Union bolt | ||||
Removal and Installation
REMOVAL
CAUTION:
-
Never spill or splash brake fluid on painted surfaces. Brake fluid may seriously damage paint. Wipe it off immediately and wash with water if it gets on a painted surface. For brake component parts, never wash them with water.
-
Never depress the brake pedal while removing the brake hose or brake tube. If this is not complied with, brake fluid may splash.
-
Wipe off immediately when attaching brake fluid with disc rotor and caliper assembly.
Remove tires. Refer to Removal & Installation
Drain brake fluid. Refer to Draining.
Loosen the flare nut
with a flare nut wrench (A) and separate the brake tube A
from the brake hose A
. And then remove the lock plate
.

CAUTION:
-
Never scratch the flare nut and the brake tube.
-
Never bend sharply, twist or strongly pull out the brake hoses and tubes.
-
Cover open end of brake tubes and brake hoses when disconnecting to prevent entrance of dirt.
Loosen the flare nut
with a flare nut wrench (A) and separate the brake hose A
from the brake tube B
. And then remove the lock plate
.

CAUTION:
-
Never scratch the flare nut and the brake tube.
-
Never bend sharply, twist or strongly pull out the brake hoses and tubes.
-
Cover open end of brake tubes and brake hoses when disconnecting to prevent entrance of dirt.
Remove the lock plate
, then remove the brake hose from the brake tube bracket.
Loosen the flare nut
with a flare nut wrench (A) and separate the brake tube B
from the brake hose B
.

CAUTION:
-
Never scratch the flare nut and the brake tube.
-
Never bend sharply, twist or strongly pull out the brake hoses and tubes.
-
Cover open end of brake tubes and brake hoses when disconnecting to prevent entrance of dirt.
Remove the lock plate
, then remove the brake tube B
from the brake tube bracket.
Remove the union bolt
and copper washers
, and remove the brake hose B
from the brake caliper assembly.

INSTALLATION
CAUTION:
-
Never spill or splash brake fluid on painted surfaces. Brake fluid may seriously damage paint. Wipe it off immediately and wash with water if it gets on a painted surface. For brake component parts, never wash them with water.
-
Never depress the brake pedal while removing the brake hose or brake tube. If this is not complied with, brake fluid may splash.
-
Never allow foreign matter (e.g. dust) and oils other than brake fluid to enter the reservoir tank.
-
Wipe off immediately when attaching brake fluid with disc rotor and caliper assembly.
Assemble the union bolt
and the copper washers
to the brake hose B.

CAUTION:
Never reuse the copper washer.
Align the brake hose L-pin
with the brake caliper assembly hole
, and tighten the union bolt to the specified torque.
Install the brake hose B to the brake tube B, temporarily tighten the flare nut by hand until it does not rotate further, and fix the brake hose to the brake hose bracket with the lock plate.
CAUTION:
Check that all brake hoses and brake tubes are not twisted and bent.
Tighten the flare nut to the specified torque with a crowfoot (A) and torque wrench (B).

CAUTION:
Never scratch the flare nut and the brake tube.
Install the brake tube B to the brake hose A, temporarily tighten the flare nut by hand until it does not rotate further, and fix the brake hose to brake hose brackets with the lock plate.
CAUTION:
Check that all brake hoses and brake tubes are not twisted and bent.
Tighten the flare nut to the specified torque with a crowfoot (A) and torque wrench (B).

CAUTION:
Never scratch the flare nut and the brake tube.
Install the brake hose A to the brake tube A, temporarily tighten the flare nut by hand until it does not rotate further, and fix the brake hose with the lock plate.
CAUTION:
Check that all brake hoses and brake tubes are not twisted and bent.
Tighten the flare nut to the specified torque with a crowfoot (A) and torque wrench (B).

CAUTION:
Never scratch the flare nut and the brake tube.
Refill with new brake fluid and perform the air bleeding. Refer to Bleeding Brake System.
CAUTION:
Never reuse drained brake fluid.
Install tires. Refer to Removal & Installation
Perform inspection after installation. Refer to Inspection.
Inspection
INSPECTION AFTER INSTALLATION
Check the brake hoses and tubes for the following: no scratches; no twist and deformation; no looseness at connections.
CAUTION:
Clearance with brake hose and each parts being secured more than 10 mm (0.39 in) in unladen condition*.
*: Fuel, engine coolant and lubricant are quantity to specified. Spare tire, jack, hand tools and mats are brought out of Nissan Ariya vehicle.
Depress the brake pedal with a force of 785 N (80 kg, 176 lb) and hold down the pedal for approximately 5 seconds with the engine running. Check for any fluid leakage.
CAUTION:
Retighten the applicable connection to the specified torque and repair any abnormal (damaged, worn or deformed) part if any brake fluid leakage is present.
Other materials:
U0079-00 Can Comm Circuit
DTC Description
DESCRIPTIONCAN (Controller Area Network) is a serial
communication line for real-time application. It is an onNissan Ariya
vehicle multiplex communication line with high data communication speed
and excellent error detection ability. Many electronic control units are
equippe ...
Symptom Diagnosis. Intelligent Key Low Battery Warning Does Not Operate
Diagnosis Procedure
CHECK INFORMATION DISPLAY
Check information display.
Refer to Work flow.
Is the inspection result normal?
YES>>
GO TO 2.
NO>>
Repair or replace the malfunctioning parts.
CHECK INTELLIGENT KEY BATTERY
Check Intelligent Key battery.
Refer to Component Inspe ...
Telematics System. Basic Inspection
Diagnosis and Repair Work Flow
Work Flow
OVERALL SEQUENCE
Reference 1··· Refer to Consult Function
.
Reference 2··· Refer to DTC Index
.
Reference 3··· Refer to Symptom Table
.
DETAILED FLOWINTERVIEW AND SYMPTOM CONFIRMATION
Check the malfunction symptoms by performing the f ...







,
,
: Indicates that the part is connected at points with same symbol in actual Nissan Ariya vehicle. 





