Nissan Rogue (T33) 2021-Present Service Manual: Differential Side Oil Seal
Exploded View

| 1. | Transaxle assembly | 2. | Differential side oil seal (left side) | 3. | Differential side oil seal (right side) |
: Always replace after every disassembly.
: Apply CVT fluid.

| 1. | Transaxle assembly | 2. | Differential side oil seal (left side) |
: Always replace after every disassembly.
: Apply CVT fluid.
Removal and Installation
REMOVAL
| Never Reuse These Parts | Part Code | For additional information: |
|---|---|---|
| Seal-O-ring, differential transmission case | 38342Q | Exploded View |
| Seal-O-ring, differential converter housing | 38342P | Exploded View |
Remove front drive shaft. Refer to Removal and Installation (2WD) or Removal and Installation (AWD).
Using a suitable tool remove the differential side oil seal.
CAUTION:
When removing the differential side oil seal, be careful not to scratch the oil seal mounting surfaces of the transaxle case and converter housing.
INSTALLATION
Note the following and install in the reverse order of removal.
CAUTION:
-
Never reuse differential side oil seal.
-
Apply CVT fluid to differential side oil seal.
-
When inserting the drive shaft, be sure to use protector on differential side oil seal. Refer to Removal and Installation(2WD) or Removal and Installation(AWD).
-
Install each differential side oil seal evenly using following Tools.
Tools to be used:
Location Special Service Tools Transaxle case side -
Output seal installer (case side) [SST: KV31500800(NI-52283)]
-
Universal driver handle [SST: ST35325000 (NI-8092)]
Converter housing side -
Output seal installer (torque converter side) [SST: KV31500900 (NI-52284)]
-
Universal driver handle [SST: ST35325000 (NI-8092)]
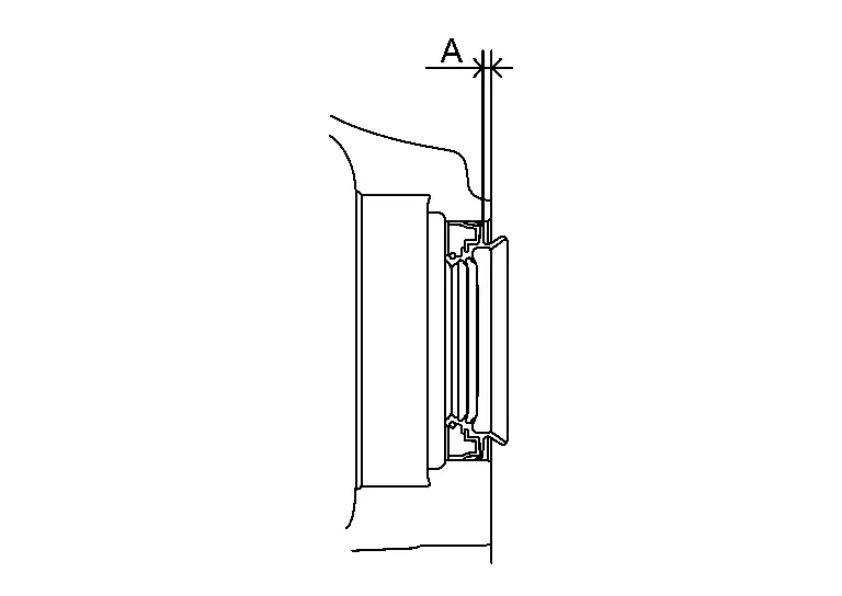
Install differential oil seal to the converter housing with seal installer (SST:NI-52283) until it is flush. Height or depth of differential oil seal from the surface (A):0±0.5mm (0 ± 0.020 mm)

-
Inspection and Adjustment
Check for CVT fluid leakage. Refer to Inspection.
Adjust CVT fluid level. Refer to Adjustment.
Other materials:
Electric Wastegate Control Actuator
Component Inspection
INSPECTION START
Do you have CONSULT?
Do you have CONSULT?
YES>>
GO TO 2.
NO>>
GO TO 3.
CHECK ELECTRIC WASTEGATE CONTROL ACTUATOR
With CONSULT
Turn ignition switch ON and engine stopped.
On the CONSULT screen, select “ENGINE”>>“ACTIVE ...
U2454-87 Can Comm Circuit
Without Propilot Assist 2.1
DTC Description
CAN COMMUNICATIONCAN (Controller Area Network) is a
serial communication line for real time applications. It is an on-Nissan
Ariya vehicle multiplex communication line with high data communication
speed and excellent error detection ability. Mode ...
Dtc/circuit Diagnosis. B100e-1a Knee Air Bag Module Rh
DTC Description
DTC DETECTION LOGIC DTC No.
CONSULT screen items
(Trouble diagnosis content) DTC Detection Condition
B100E-1A
Knee air bag module RH
(Knee air bag module right hand)
Diagnosis condition
When ignition switch is ON.
Signal (terminal)
Knee air bag module RH si ...
