Nissan Rogue (T33) 2021-Present Service Manual: Vacuum Pump
Exploded View

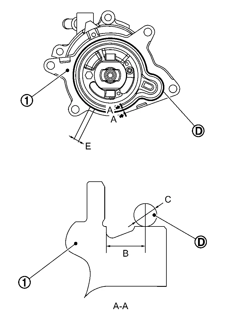
![]() |
Vacuum pump | ||||
![]() |
Comply with the assembly procedure when tightening. Refer to Removal and Installation. | ||||
![]() |
: Sealing point | ||||
![]() |
: N·m (kg-m, in-lb) | ||||
Removal and Installation
REMOVAL
Remove air duct. Refer to Removal and Installation.
Remove bracket 1
and air duct bracket
.

Disconnect vacuum hose
from vacuum pump.

Loosen the vacuum pump bolts in reverse of the sequence shown.

Insert a suitable tool at location
and separate the vacuum pump
from the cylinder head.

CAUTION:
-
Do not damage the mating surface.
-
The liquid gasket used at the factory is very strong. Pry only in the area shown.
-
Do not disassemble vacuum pump.
INSTALLATION
Apply a continuous bead of liquid gasket
with a tube presser (commercial service tool) as shown in the figure.

![]() |
: Vacuum pump |
| B | : 5.5 — 7.5 mm (0.217 — 0.295 in) |
| C | : Φ3.4 — 4.4 mm (0.134 — 0.173 in) |
| E | : 5 mm or more (0.20 in or more) |
-
Use Genuine RTV Silicone Sealant or an equivalent. Refer to Recommended Chemical Products and Sealants.
CAUTION:
-
The components must be installed within 5 minutes of the liquid gasket application.
-
Do not re-tighten bolts after the 5 minutes have elapsed.
-
Then allow 30 minutes for the liquid gasket to set before adding oil to the engine.
-
Install the vacuum pump and tighten bolts to the specified torque in the sequence shown.

Vacuum pump bolts ![]() |
: 10.0 N·m (1.0 kg-m, 89 in-lb) |
NOTE:
Make sure to align the tabs
on the back of the vacuum pump with the recesses
in the signal plate [EXH]
.

Installation of the remaining components is in the reverse order of removal.
Other materials:
Brake assist
Brake assist
When brake pedal force exceeds a certain
threshold, Brake Assist activates to provide
greater braking force than a conventional
brake booster, even with relatively light pedal
pressure.
WARNING
Brake Assist supports braking but does
not replace careful driving. It is not a collision
wa ...
Dtc/circuit Diagnosis. C1731-16 Tire Pressure Sensor Fl
DTC Description
NOTE:
The Signal Tech II Tool [– (NI-50190)] can be used to
perform the following functions: Refer to the Signal Tech II User Guide
for additional information.
Activate and display TPMS sensor IDs
Display tire pressure reported by the TPMS sensor
Read TPMS DTCs ...
U2b8c-88 Ethernet Circuit
DTC Description
DTC DETECTION LOGIC DTC No. CONSULT screen terms DTC detected condition
U2B8C-88
Ethernet circuit
Diagnosis condition
When ignition switch is ON.
Signal (terminal)
—
Threshold
Lost ethernet communication with driving video recorder control module
...


