Nissan Rogue (T33) 2021-Present Service Manual: Telematics System :: Removal and Installation
Tcu
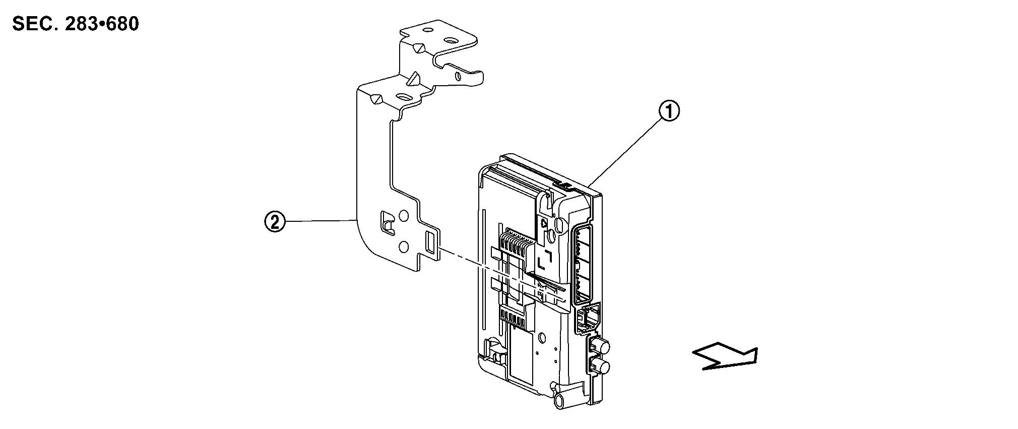
Exploded View

![]() |
TCU | ![]() |
Bracket |
![]() |
: Nissan Ariya Vehicle front |
Removal & Installation
REMOVAL
CAUTION:
Before replacing TCU, perform “ADDITIONAL SERVICE WHEN REPLACING TCU". For details, refer to Work Procedure
Remove the glove box. Refer to Removal and Installation.
Remove the passenger knee air bag module to secure working space. Refer to Removal and Installation.
Remove the pawl holding
the TCU
.

Remove the TCU from the bracket.
Disconnect the TCU harness connectors.
NOTE:
To remove the bracket, remove the instrument panel assembly.
INSTALLATION
Installation is in the reverse order of removal.
CAUTION:
Before replacing TCU, perform “ADDITIONAL SERVICE WHEN REPLACING TCU". For details, refer to Work Procedure
Microphone
Removal and Installation
REMOVAL
Remove the map lamp assembly. Refer to Removal and Installation.
Release the microphone pawls, then remove the microphone.

![]() |
:pawl |
INSTALLATION
Installation is in the reverse order of removal.
Telematics Switch
Removal & Installation
REMOVAL
Remove the map lamp assembly. Refer to Removal and Installation.
Release the telematics switch pawls, then remove the telematics switch.
Models with moonroof
![]() |
: pawl |
Models without moonroof
INSTALLATION
Installation is the reverse order of removal.
Telematics Antenna
Feeder Layout

| 1. | Telematics antenna | 2. | TCU | ||
| A | Connector M174 | B | Connector M175 | C | Connector M176 |
Removal & Installation
REMOVAL
Remove the instrument panel assembly. Refer to Removal and Installation.
Remove the screw
to remove the telematics antenna from the instrument panel.

INSTALLATION
Installation is in the reverse order of removal.
Other materials:
Illumination Control Switch Signal Circuit
Component Function Check
CHECK COMBINATION METER INPUT SIGNAL
Ignition switch ON.
Measure voltage between the following terminals of the combination meter.
Combination meter
Condition
Voltage
(Approx.)
Connector
Terminals
(+)
(−)
M76
25
32
When il ...
Emergency Call (SOS) button
Emergency support
Basic information
NissanConnect Services provide a range of emergency assistance features designed to support the driver of the Nissan Rogue in critical situations.
For example, in the event of a medical emergency or serious injury, pressing the in-vehicle Emergency Call (SOS) b ...
Adas Control Unit. Removal and Installation. Adas Control Unit 2
Adas Control Unit 2
Removal and Installation
With ProPILOT Assist 1.1REMOVALCAUTION:
Be sure to perform “ADDITIONAL SERVICE WHEN REPLACING ADAS
CONTROL UNIT 2” when replacing ADAS control unit 2. Refer to Work
Procedure.
Remove center console assembly. Refer to Removal and Installation.
...



