Nissan Rogue (T33) 2021-Present Service Manual: System Description :: System (automatic Back Door System)
System Description
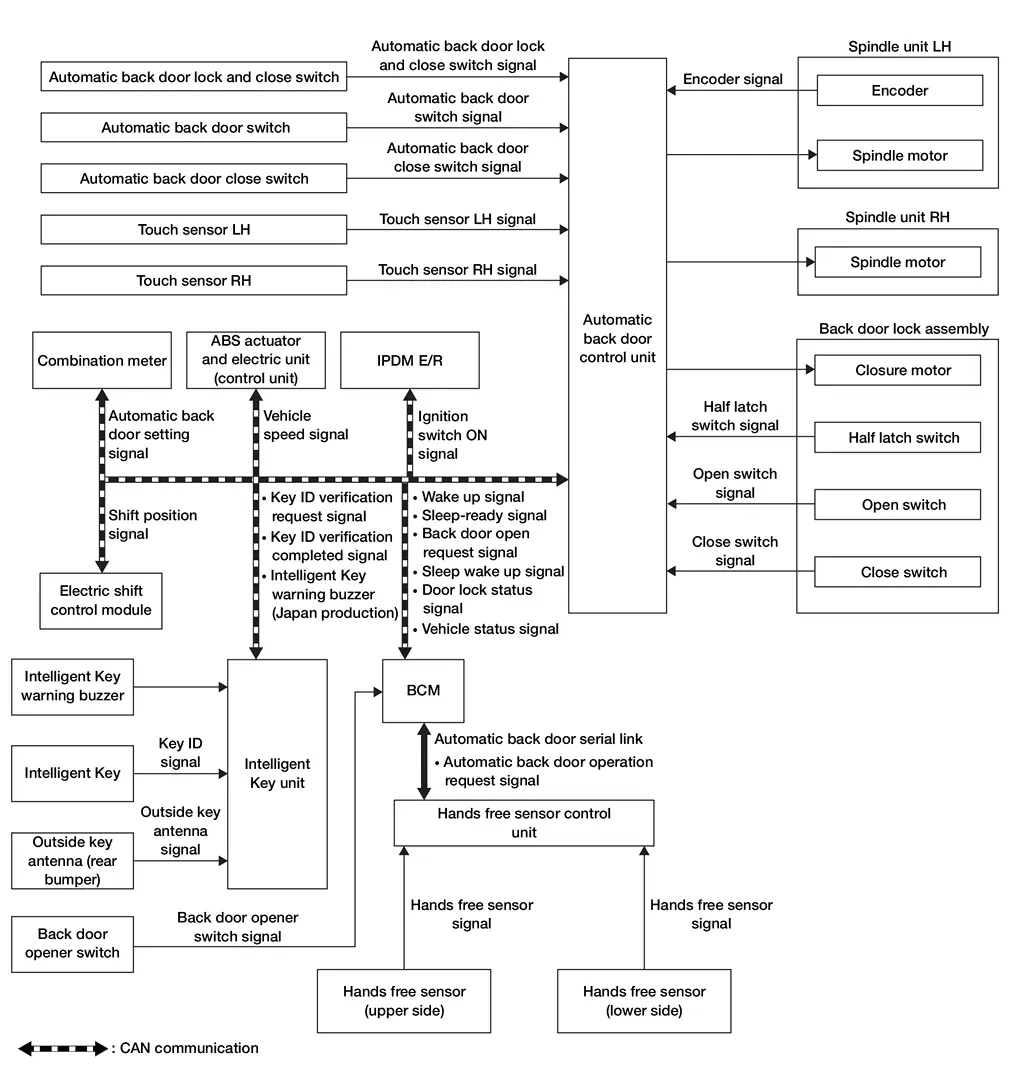
SYSTEM DIAGRAM

The automatic back door system performs the automatic open/close operation of the back door by operating the automatic back door switch, automatic back door close switch, automatic back door lock and close switch, back door opener switch, hands free sensor, and Intelligent Key.
Automatic back door system controls operation function of the following items.
-
Hands free function (hands free sensor operation)
-
Automatic open/close temporary stop function
-
Back door open position setting function
-
Automatic back door open/close function
-
Warning function
-
Back door auto closure function
-
Anti-pinch function
Signal transmission function list
| Signal name | Input | Output | Description |
|---|---|---|---|
| Automatic back door main switch signal | Automatic back door main switch | Automatic back door control module | Inputs automatic back door main switch signal and transmits it via CAN communication. |
| Automatic back door switch signal | Automatic back door switch | Automatic back door control module | Inputs automatic back door switch signal and transmits it via CAN communication. |
| Automatic back door close switch signal | Automatic back door close switch | Automatic back door control module | Inputs automatic back door close switch signal and transmits it via CAN communication. |
| Touch sensor LH signal | Touch sensor LH | Automatic back door control module | Inputs touch sensor LH signal and transmits it via CAN communication. |
| Touch sensor RH signal | Touch sensor RH | Automatic back door control module | Inputs touch sensor RH signal and transmits it via CAN communication. |
| Half latch switch signal | Back door lock assembly | Automatic back door control module | Inputs half latch switch signal and transmits it via CAN communication. |
| Open switch signal | Back door lock assembly | Automatic back door control module | Inputs open switch signal and transmits it via CAN communication. |
| Close switch signal | Back door lock assembly | Automatic back door control module | Inputs close switch signal and transmits it via CAN communication. |
| Encoder signal LH | Spindle unit LH | Automatic back door control module | Inputs encoder signal LH and transmits it via CAN communication. |
| Encoder signal RH | Spindle unit RH | Automatic back door control module | Inputs encoder signal RH and transmits it via CAN communication. |
| Motion activated back door sensor signal (UPPER) | Motion activated back door sensor (UPPER) | Motion activated back door control unit | Inputs motion activated back door sensor signal and transmits it via communication line. |
| Motion activated back door sensor signal (LOWER) | Motion activated back door sensor (LOWER) | Motion activated back door control unit | Inputs motion activated back door sensor signal and transmits it via communication line. |
HANDS FREE FUNCTION (HANDS FREE SENSOR OPERATION)
The hands free function is a function that automatically opens/closes the back door when the user moves a foot toward rear bumper and then pulls it back quickly (performs a kick motion).
Hands Free Sensor Operation
When the user performs a kick motion toward rear bumper while carrying Intelligent Key as shown in the figure, hands free sensor (upper side) detects shin motion of leg and hands free sensor (lower side) detects instep motion of foot. This varies the voltage waveform of hands free sensor. Hands free sensor control unit judges user operation by detecting the voltage change of hands free sensor.
|
Quick forward kick and return while the Intelligent Key is within range. Wait approximately 2 seconds after kick. |
Do not swing foot side to side or pause during kick. |
Hands Free Sensor Detection Area
It is necessary to perform a kick motion within space as shown in the figure for activating the hands free sensor completely. The detection area may differ depending on the conditions of the surroundings.


NOTE:
-
For activating the hands free function, a kick motion must be detected by both hands free sensor (upper side) and hands free sensor (lower side).
-
Hands free sensor may not operate in a place near a radio-wave generation source such as a coin-operated parking lot or radio wave tower.
-
Hands free sensor may not operate if shoes that block static electricity (safety shoes, etc.) are worn when operating hands free sensor.
-
Hands free sensor may not operate if there is any metal near rear bumper.
-
Automatic open/close function may operate if hands free sensor detects an animal, rain, an object, etc. when Intelligent Key is near the rear bumper.
-
When automatic open function is activated by hands free function, BCM unlocks all doors and activates Intelligent Key warning buzzer.
Operation Condition
When all of the following conditions are satisfied
-
Vehicle speed: 0 km/h
-
Shift position: P position
-
Power back door setting: ON
-
Intelligent Key: Within outside key antenna (rear bumper) detection area
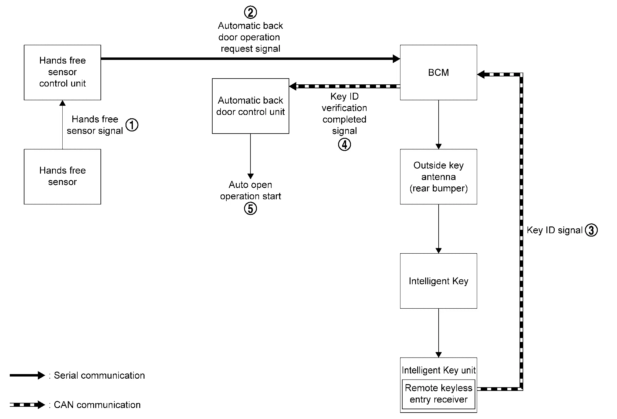
Operation Description (Fully Closed to Fully Open of Back Door)
-
When the user moves a foot toward rear bumper and pulls back quickly (performs a kick motion) while carrying Intelligent Key, voltage waveform change of hands free sensor (upper side) and hands free sensor (lower side) occurs.
-
Hands free sensor control unit judges user operation by detecting the voltage waveform change of hands free sensor (upper side) and hands free sensor (lower side). The hands free sensor control unit then transmits automatic back door operation request signal to BCM via serial communication.
-
When BCM receives an automatic back door operation request signal from hands free sensor control unit, the BCM transmits a key ID verification request signal to Intelligent Key unit via CAN communication.
-
When Intelligent Key unit receives a key ID verification request signal, Intelligent Key unit activates outside key antenna (rear bumper) and checks that Intelligent Key is near rear bumper.
-
When Intelligent Key is within the outside key antenna (rear bumper) detection area, Intelligent Key receives the request signal and transmits the key ID signal to Intelligent Key unit via remote keyless entry receiver.
-
Intelligent Key unit receives key ID signal and verifies the received key ID with the registered key ID.
-
When key IDs verification match, Intelligent Key unit transmits a key ID verification completed signal to automatic back door control unit via CAN communication. When selective unlock function is OFF, BCM unlocks all doors simultaneously. For details of selective unlock function, refer to System Description.
-
When automatic back door control unit receives a key ID verification completed signal from Intelligent Key unit, the automatic back door control unit operates back door auto closure function and opens back door.
-
Automatic back door control unit operates the automatic open function after back door auto closure function stops, and opens back door to the full open position* automatically.
*: Full open position can be changed with back door open position setting function.

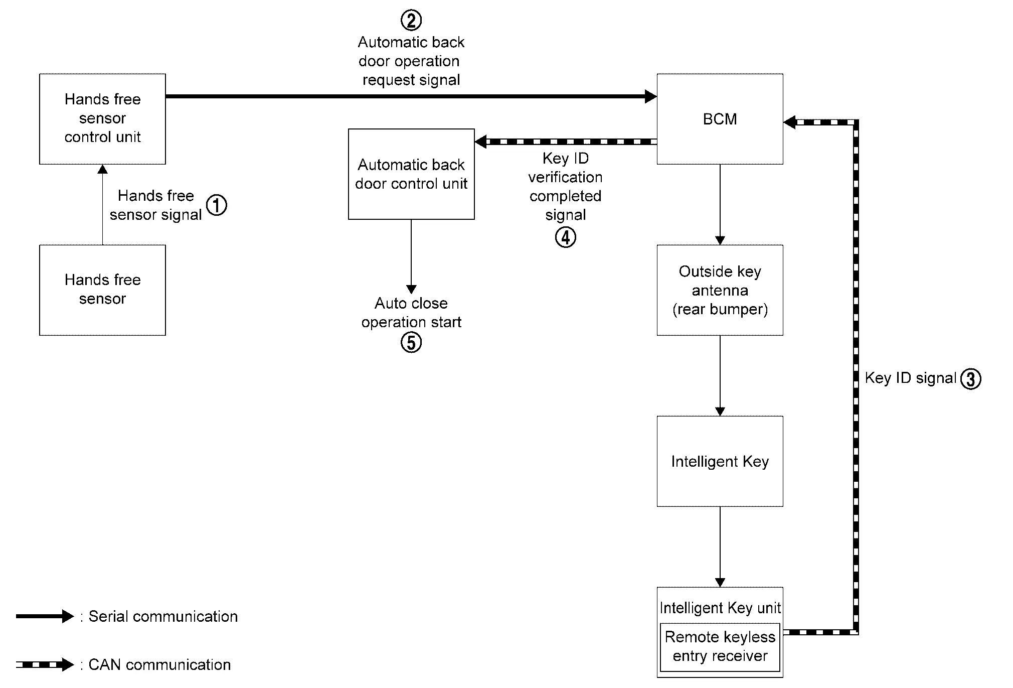
Operation Description (Fully Open to Fully Closed of Back Door)
-
When the user moves a foot toward rear bumper and pulls back quickly (performs a kick motion) while carrying Intelligent Key, voltage waveform change of hands free sensor (upper side) and hands free sensor (lower side) occurs.
-
Hands free sensor control unit judges user operation by detecting the voltage waveform of hands free sensor (upper side) and hands free sensor (lower side). The hands free sensor control unit then transmits an automatic back door operation request signal to BCM via serial communication.
-
When BCM receives an automatic back door operation request signal from hands free sensor control unit, the BCM transmits a key ID verification request signal to Intelligent Key unit via CAN communication.
-
When Intelligent Key unit receives key ID verification request signal, Intelligent Key unit activates outside key antenna (rear bumper) and checks that Intelligent Key is near rear bumper.
-
When Intelligent Key is within the outside key antenna (rear bumper) detection area, Intelligent Key receives the request signal and transmits the key ID signal to Intelligent Key unit via remote keyless entry receiver.
-
Intelligent Key unit receives a key ID signal and verifies it with the registered key ID.
-
When the key IDs match, Intelligent Key unit transmits the key ID verification completed signal to automatic back door control unit via CAN communication.
-
When automatic back door control unit receives key ID verification completed signal from Intelligent Key unit, the automatic back door control unit operates automatic close function to close back door automatically until back door is in the ajar state (latch and striker are engaged).
-
When automatic back door control unit detects back door ajar state, the unit operates back door auto closure function to close back door completely.

AUTOMATIC OPEN/CLOSE TEMPORARY STOP FUNCTION
Automatic open/close temporary stop function temporarily stops the open/close operation by operating back door opener switch, automatic back door lock and close switch, automatic back door close switch, automatic back door switch, Intelligent Key or hands free sensor during automatic open/close operation.
Each Switch, Intelligent Key or Hands Free Sensor Operation
-
Automatic open/close operation stops when back door opener switch, automatic back door lock and close switch, automatic back door close switch, automatic back door switch, Intelligent Key or hands free sensor is operated during automatic open/close operation.
-
If the back door opener switch, automatic back door lock and close switch, automatic back door close switch, automatic back door switch, Intelligent Key, or hands free sensor is operated during the operation of automatic open/close temporary stop function (back door operation is stopped), the back door direction of operation changes automatically. As a result, the back door operates in the direction opposite to the direction of operation before operation stop.
BACK DOOR OPEN POSITION SETTING FUNCTION
Back door open position setting function is a function that enables users to set the full opening stop position of automatic open operation when back door may contact an obstacle if fully opened by the automatic open operation.
CAUTION:
-
It is not possible to set the position farther than the initial setting fully open position in the open direction.
-
The position of back door cannot be set to approximately 30% or less than full open position. (Opening angle cannot be set to approximately 28° or less.)
-
If a Nissan Ariya vehicle is parked on a steep slope after setting the fully open position of back door to half open or less, the door may open to near the half open position instead of stopping at the set position.
-
When more than one user uses the Nissan Ariya vehicle, the back door fully open position setting function may be changed. Be careful when operating automatic open operation for the first time.
Setting Procedure
By performing the following operations, stop position of the back door open position setting function can be set.
-
Set the shift position to P range.
-
Fully close the back door. (When back door is already fully closed, this operation is not necessary.)
-
After turning OFF the power back door setting, release the latch by back door opener switch operation.
-
Manually move the back door to the desired stop position.
-
While maintaining the back door position, press and hold the automatic back door close switch for 3 seconds or more. When the setting is successfully completed, automatic back door warning buzzer sounds (pattern C).
Reset Procedure
By performing the following operation, the setting of the back door open position setting function can be canceled.
-
Set the shift position to P range.
-
Open the back door to the fully open position.
-
Manually move the back door to the upper limit position in the opening direction.
-
Press and hold the automatic back door close switch for 3 seconds or more. When the setting is successfully completed, automatic back door warning buzzer sounds (pattern C).
AUTOMATIC BACK DOOR OPEN/CLOSE FUNCTION
Automatic back door open/close function operates auto open/close of back door according to operation of automatic back door switch, automatic back door close switch, back door opener switch, hands free sensor, and Intelligent Key.
When push the automatic back door lock and close switch while carrying the Intelligent Key, the back door will close, and when fully closed, all doors can be locked.
Operation Condition
When all of the following conditions are satisfied.
-
Shift position: P position
-
Vehicle speed: 0 km/h
-
Power supply (automatic power back door control unit): Approx. 11 V or more
-
Intelligent Key is with in outside key antenna (rear bumper) detection area. (when automatic back door lock and lock and close switch operated)
-
All doors are in unlock status (when automatic back door switch operated)
Automatic Open/close Operation When Each Switch is Operated
The automatic open/close operation when each switch is operated differs according to the stop position or operating status of back door. Refer to the following.

NOTE:
-
When the back door position is in the range of
[between "just before fully closed" and the position approximately less
than 150 mm (5.91 in) from "just before fully closed"], the back door
does not operate even if any of switches are operated. But this is not
malfunction. -
To operate the back door by switches, manually close the back door to "Fully closed" position or manually open the back door approximately more than 150 mm (5.91 in) from the position of "Just before fully closed". And then operate any of switches.
| Condition | Automatic back door switch | Back door operation | ||
|---|---|---|---|---|
| Back door position | Back door condition | Power back door setting | ||
| Full open | Stop | ON | Long press (0.5 sec) | Perform the automatic close function |
| OFF | Non-operation | |||
| Fully open to just before fully open | Stop | ON | Long press (0.5 sec) | Perform the automatic close function |
| Automatic open function operating | Stop of the auto operation | |||
| Automatic close function operating | Stop of the auto operation | |||
| Stop | OFF | Non-operation | ||
| Middle | Stop | ON | Long press (0.5 sec) |
|
| Automatic open function operating | Stop of the auto operation | |||
| Automatic close function operating | Stop of the auto operation | |||
| Stop | OFF | Non-operation | ||
| Just before fully closed to fully closed | Stop | ON | Long press (0.5 sec) | Perform the automatic open function |
| Automatic open function operating | Stop of the auto operation | |||
| Automatic close function operating | Stop of the auto operation | |||
| Stop | OFF | Non-operation | ||
| Full closed | Stop | ON | Long press (0.5 sec) | Perform the automatic open function |
| OFF | Non-operation | |||
| Condition | Intelligent Key | Back door operation | ||
|---|---|---|---|---|
| Back door position | Back door condition | Power back door setting | ||
| Full open | Stop | ON | Long press (0.5 sec) | Perform the automatic close function |
| OFF | Non-operation | |||
| Fully open to just before fully open | Stop | ON | Long press (0.5 sec) | Perform the automatic close function |
| Stop | OFF | Perform the automatic close function | ||
| Middle | Stop | ON | Long press (0.5 sec) |
|
| Stop | OFF | Non-operation | ||
| Just before fully closed to fully closed | Stop | ON | Long press (0.5 sec) | Perform the automatic open function |
| Stop | OFF | Non-operation | ||
| Full closed | Stop | ON | Long press (0.5 sec) | Perform the automatic open function |
| OFF | Non-operation | |||
| Condition | Intelligent Key | Back door operation | ||
|---|---|---|---|---|
| Back door position | Back door condition | Power back door setting | ||
| Full open | Stop | ON | Short press (0.1 sec) | Non-operation |
| OFF | ||||
| Fully open to just before fully open | Stop | ON | Short press (0.1 sec) | Non-operation |
| Automatic open function operating | Stop of the auto operation | |||
| Automatic close function operating | Stop of the auto operation | |||
| Stop | OFF | Non-operation | ||
| Middle | Stop | ON | Short press (0.1 sec) | Non-operation |
| Automatic open function operating | Stop of the auto operation | |||
| Automatic close function operating | Stop of the auto operation | |||
| Stop | OFF | Non-operation | ||
| Just before fully closed to fully closed | Stop | ON | Short press (0.1 sec) | Non-operation |
| Automatic open function operating | Stop of the auto operation | |||
| Automatic close function operating | Stop of the auto operation | |||
| Stop | OFF | Non-operation | ||
| Full closed | Stop | ON | Short press (0.1 sec) | Non-operation |
| OFF | ||||
| Condition | Automatic back door lock and close switch | Back door operation | ||
|---|---|---|---|---|
| Back door position | Back door condition | Power back door setting | ||
| Full open | Stop | ON | Press | Perform the automatic close function |
| OFF | Non-operation | |||
| Fully open to just before fully open | Stop | ON | Press | Perform the automatic close function |
| Automatic open function operating | Stop of the auto operation | |||
| Automatic close function operating | Stop of the auto operation | |||
| Stop | OFF | Non-operation | ||
| Middle | Stop | ON | Press | Perform the automatic close function |
| Automatic open function operating | Stop of the auto operation | |||
| Automatic close function operating | Stop of the auto operation | |||
| Stop | OFF | Non-operation | ||
| Just before fully closed to fully closed | Stop | ON | Press | Non-operation |
| Automatic open function operating | Stop of the auto operation | |||
| Automatic close function operating | Stop of the auto operation | |||
| Stop | OFF | Non-operation | ||
| Condition | Automatic back door close switch | Back door operation | ||
|---|---|---|---|---|
| Back door position | Back door condition | Power back door setting | ||
| Full open | Stop | ON | Press | Perform the automatic close function |
| OFF | Non-operation | |||
| Fully open to just before fully open | Stop | ON | Press | Perform the automatic close function |
| Automatic open function operating | Stop of the auto operation | |||
| Automatic close function operating | Stop of the auto operation | |||
| Stop | OFF | Non-operation | ||
| Middle | Stop | ON | Press |
|
| Automatic open function operating | Stop of the auto operation | |||
| Automatic close function operating | Stop of the auto operation | |||
| Stop | OFF | Non-operation | ||
| Just before fully closed to fully closed | Stop | ON | Press | Perform the automatic open function |
| Automatic open function operating | Stop of the auto operation | |||
| Automatic close function operating | Stop of the auto operation | |||
| Stop | OFF | Non-operation | ||
| Condition | Back door opener switch | Back door operation | ||
|---|---|---|---|---|
| Back door position | Back door condition | Power back door setting | ||
| Full open | Stop | ON | Press | Perform the automatic close function |
| OFF | Non-operation | |||
| Fully open to just before fully open | Stop | ON | Press | Perform the automatic close function |
| Automatic open function operating | Stop of the auto operation | |||
| Automatic close function operating | Stop of the auto operation | |||
| Stop | OFF | Non-operation | ||
| Middle | Stop | ON | Press |
|
| Automatic open function operating | Stop of the auto operation | |||
| Automatic close function operating | Stop of the auto operation | |||
| Stop | OFF | Non-operation | ||
| Just before fully closed to fully closed | Stop | ON | Press | Perform the automatic open function |
| Automatic open function operating | Stop of the auto operation | |||
| Automatic close function operating | Stop of the auto operation | |||
| Stop | OFF | Non-operation | ||
| Full closed | Stop | ON | Press | Perform the automatic open function |
| OFF | Perform the back door auto closure open operation | |||
| Condition | Hands free sensor | Back door operation | ||
|---|---|---|---|---|
| Back door position | Back door condition | Power back door setting | ||
| Full open | Stop | ON | ON | Perform the automatic close function |
| OFF | Non-operation | |||
| Fully open to just before fully open | Stop | ON | ON | Perform the automatic close function |
| Automatic open function operating | Stop of the auto operation | |||
| Automatic close function operating | Stop of the auto operation | |||
| Stop | OFF | Non-operation | ||
| Middle | Stop | ON | ON |
|
| Automatic open function operating | Stop of the auto operation | |||
| Automatic close function operating | Stop of the auto operation | |||
| Stop | OFF | Non-operation | ||
| Just before fully closed to fully closed | Stop | ON | ON | Perform the automatic open function |
| Automatic open function operating | Stop of the auto operation | |||
| Automatic close function operating | Stop of the auto operation | |||
| Stop | OFF | Non-operation | ||
| Full closed | Stop | ON | ON | Perform the automatic open function |
| OFF | Non-operation | |||
NOTE:
Intelligent Key must be carried for starting the automatic open/close function by hands free sensor operation (hands free function) with the back door stopped.
Timing Chart (Full Closed to Fully Open Operation): Case 1

| Timing | Operation |
|---|---|
![]() |
Buzzer operate (A pattern) and, back door closure motor starts the open operation. |
![]() |
Open SW turns ON, and back door latch release operation completes. |
![]() |
Half latch SW turns ON, and then back door closure motor performs reverse operation and returns to the neutral position. |
![]() |
When close SW turns OFF, back door closure motor reverse operation stops, and then completes returning to the neutral position. |
Timing Chart (Full Closed to Fully Open Operation): Case 2

| Timing | Operation |
|---|---|
![]() |
Buzzer operate (A pattern) and, back door closure motor starts the open operation. |
![]() |
Half latch SW turns ON, and back door latch release operation completes. |
![]() |
Open SW turns ON, and then back door closure motor performs reverse operation and returns to the neutral position. |
![]() |
When close SW turns OFF, back door closure motor reverse operation stops, and then completes returning to the neutral position. |
Timing Chart (Fully Open to Fully Closed Operation)

| Timing | Operation |
|---|---|
![]() |
Buzzer operate (A pattern) and, spindle motor starts the close operation. |
CONTROL IF NOT WITHIN THE OPERATION CONDITIONS DURING THE OPERATION
If the back door is not within the operation conditions during the operation, the automatic back door control unit performs the control as follows.
|
Item (Condition) | Back door operation status | |
|---|---|---|
| Power back door setting: ON→OFF | Operation stops | |
| Operation condition release during the operation start announcement | Automatic back door function is not operating | |
| Shift position: P position→other than P position |
|
|
|
Nissan Ariya Vehicle speed (0 km/h → More than 3 km/h) |
Automatic open function operating | Operation stop [Back door fully closed or buzzer sounds until the Nissan Ariya vehicle stops (pattern B)] |
| Automatic close function operating | The operation is continued [buzzer sounds (pattern B) until back door fully closed] | |
|
Malfunction detected (Power supply circuit, half latch switch, and back door condition) |
Operation stops | |
|
Touch sensor circuit (Normal → Open) |
Open operation | Operation stops |
| Close operation | Operation stops | |
| Closure (close) operation | Closure closing operation, or warning buzzer operates (B pattern) | |
| Closure [open (return the latch to the neutral position)] | Operation continues | |
WARNING FUNCTION
The warning function is as follows and gives the user warning information usingautomatic back door warning buzzer (USA production) Intelligent Key buzzer (Japan production).
| Pattern | Description | Time | |
|---|---|---|---|
| A |
|
Operation start announcement | 0.75 sec |
| B | Pi------•••••• | The conditions are not satisfied in the fully open position or during the operation, and then the operation continues | Back door fully closed or Nissan Ariya vehicle is stopped |
| C |
|
|
2.5 sec |
| D |
|
Anti-pinch operation start announcement | 0.2 sec |
BACK DOOR AUTO CLOSURE FUNCTION
Open Function
When back door opener switch is pressed and power back door setting in the OFF position, BCM transmits the back door open request signal to automatic back door control unit via CAN communication, and automatic back door control unit opens back door lock assembly.
Timing Chart (Open function): Case 1

Timing Chart (Open function): Case 2

Closure Function
When the back door is closed to the half-latch position, the motor drives to rotate the latch lever and pulls it in from half latched to fully latched and automatically closes the door. Then, the closure motor reverses to the neutral position.
Timing Chart (Closure Function)

ANTI-PINCH FUNCTION
-
When pinching of foreign material is detected during the operation of automatic open/close function, the back door is operated in the reverse direction.
-
The detection methods are the following two types.
-
Overload detection (detection by encoder)
-
When a drop in the operating speed is detected during the operation of the automatic open/close function, this is judged as pinching, and reverse operation operates.
-
If an overload by pinching or contact with foreign material is detected, reverse operation operates again. At this time, when the second overload is detected, automatic operation stops.
-
-
Pinching detection (detection by back door touch sensor)
If the side part of the door pinches foreign material during the operation of automatic close function, the touch sensor detects this, and the door operates in the reverse direction. If a reverse operation is performed during driving, back door shifts to closing operation again. At this time, if the touch sensor detects foreign material in the closing direction for a second time, automatic operation stops.
-
Automatic operation is stopped when one of the following conditions is detected after the first overload or pinching is detected.
-
Automatic back door switch: ON
-
Intelligent Key back door open button: ON
-
Automatic back door close switch: ON
-
Automatic back door lock and close switch: ON
-
Back door opener switch: ON
-
Hands free sensor: ON
-
Overload detection or pinching detection: second time
-
Operation Condition
| Detection method | Encoder pulse | Touch sensor | |
|---|---|---|---|
| Operation when any trapped foreign material is detected | Stop the Nissan Ariya vehicle | Buzzer sounds (pattern D) and reverse operation | Buzzer sounds (pattern D) and the back door stops in the fully-open position after reverse operation when automatic close function operating |
| Running the Nissan Ariya vehicle | No reverse operation (buzzer sounds, pattern B) | Stop of the automatic close function | |
| Number of allowable reverse operations | Perform the automatic open/close temporary stop function after 2 reverse operations regardless of the operation direction | ||
Fail-safe
| Display contents of CONSULT | Fail-safe |
|---|---|
| B2409–12: Half latch switch | Inhibit automatic back door system [only operate back door closure function (open function)] |
| B2409–14: Half latch switch |
|
| B2416–15: Touch sensor circuit RH open | Inhibit automatic back door system (only operate back door closure function) |
| B2417–15: Touch sensor circuit LH open | |
| B2419–12: Open switch | Inhibit automatic back door system all function |
| B2419–14: Open switch | |
| B2420–12: Close switch | |
| B2420–14: Close switch | |
| B2422–78: Back door position abnormal | Inhibit automatic back door system (only operate back door closure function) |
| B2422–79: Back door position abnormal | |
| B2426–11: Spindle sensor LH | |
| B2426–12: Spindle sensor LH | |
| B2426–13: Spindle sensor LH | |
| B2426–25: Spindle sensor LH | |
| B2428–44: Automatic back door control unit | Inhibit automatic back door system all function |
| B2428–45: Automatic back door control unit | |
| B2428–46: Automatic back door control unit | |
| B2428–49: Automatic back door control unit | |
| B2428–52: Automatic back door control unit | |
| B2428–54: Automatic back door control unit | |
| B242A–11: Closure motor | |
| B242A–12: Closure motor | |
| B242A–13: Closure motor | |
| B242A–19: Closure motor | |
| B242A–98: Closure motor | |
| B2436–11: Spindle motor LH | Inhibit automatic back door system (only operate back door closure function) |
| B2436–12: Spindle motor LH | |
| B2436–13: Spindle motor LH | |
| B2436–19: Spindle motor LH | |
| B2436–98: Spindle motor LH | |
| B2437–11: Spindle motor RH | |
| B2437–12: Spindle motor RH | |
| B2437–13: Spindle motor RH | |
| B2437–19: Spindle motor RH | |
| B2437–98: Spindle motor RH | |
| U0075–00: Control module comm Bus C Off | Inhibit automatic back door system all function |
| U2141–87: CAN comm err (TCM) | |
| U2148–87: CAN comm err (brake control unit) | |
| U214E–87: CAN comm err (combination meter) | |
| U214F–87: CAN comm err (BCM) | |
| U215B–87: CAN comm err (IPDM E/R) |
Other materials:
P0460 Fuel Level Sensor
DTC Description
DTC DETECTION LOGICWhen the vehicle is parked,
naturally the fuel level in the fuel tank is stable. It means that
output signal of the fuel level sensor does not change. If ECM senses
sloshing signal from the sensor, fuel level sensor malfunction is
detected. DTC
CONSULT ...
Power Supply and Ground Circuit
Combination Meter
Diagnosis Procedure
CHECK FUSE
Check that the following fuses are not blown:
Unit Location Fuse No. Capacity
Combination meter
Fuse block (J/B)
29
5A
6
5A
Is the fuse blown?
YES>>
Replace the blown fuse after repairing the affected circu ...
2wd. Symptom Diagnosis. Noise, Vibration and Harshness (nvh) Troubleshooting
Noise, Vibration and Harshness (nvh) Troubleshooting
NVH Troubleshooting Chart
Use chart below to find the cause of the symptom. If necessary, repair or replace these parts. Possible cause and SUSPECTED PARTS Symptom Reference
DRIVE SHAFT FRONT AXLE
Noise Shake Noise Shake Vibration ...









