Nissan Rogue (T33) 2021-Present Service Manual: Transfer Case
Kr15ddt
Exploded View

![]() |
Drive pinion lock nut | ![]() |
Companion flange | ![]() |
Dust shield |
![]() |
Drive pinion oil seal | ![]() |
Pinion bearing assembly | ![]() |
O-ring |
![]() |
Drive pinion adjusting shim | ![]() |
Drive pinion | ![]() |
O-ring |
![]() |
Transfer case oil seal | ![]() |
Dowel pin | ![]() |
Plug |
![]() |
Gasket | ![]() |
Transfer case | ![]() |
Baffle plate |
![]() |
Ring gear bearing adjusting shim (transfer case side) | ![]() |
Ring gear bearing (transfer case side) | ![]() |
Ring gear |
![]() |
Ring gear shaft | ![]() |
Drive shaft oil seal | ![]() |
Ring gear bearing (transfer cover side) |
![]() |
Ring gear bearing adjusting shim (transfer cover side) | ![]() |
Transfer cover oil seal | ![]() |
O-ring |
![]() |
Transfer cover | ![]() |
Transfer cover dust seal | ![]() |
Filler plug |
![]() |
Drain plug | ![]() |
Transfer oil temperature sensor | ![]() |
Gasket |
![]() |
Oil seal lip | ![]() |
Comply with the assembly procedure when tightening. Refer to Disassembly and Assembly. | ||
: N·m (kg-m, in-lb) |
|||||
: N·m (kg-m, ft-lb) |
|||||
: Always replace after every disassembly. |
|||||
: Select with proper thickness. |
|||||
: Apply transfer oil. |
|||||
*: Apply anti-corrosive oil. |
|||||
: Apply multi-purpose grease. |
|||||
Disassembly and Assembly
DISASSEMBLY
Remove transfer cover. Refer to Disassembly and Assembly.
Remove ring gear shaft assembly. Refer to Disassembly and Assembly.
Remove drive pinion assembly. Refer to Disassembly and Assembly.
Remove O-ring from transfer case.
CAUTION:
-
Never use a tool.
-
Never damage transfer case.
Remove transfer case oil seals
.

CAUTION:
Never damage transfer case.
Remove baffle plate
.

Remove the ring gear bearing adjusting shim (transfer case side)
and ring gear bearing outer race (transfer case side)
by tapping from the 2 cutouts (
) on the transfer case.

CAUTION:
Never damage transfer case.
Remove plug and gasket.
Perform inspection after disassembly. Refer to Inspection.
ASSEMBLY
Select the ring gear bearing adjusting shim (transfer case side). Refer to Adjustment.
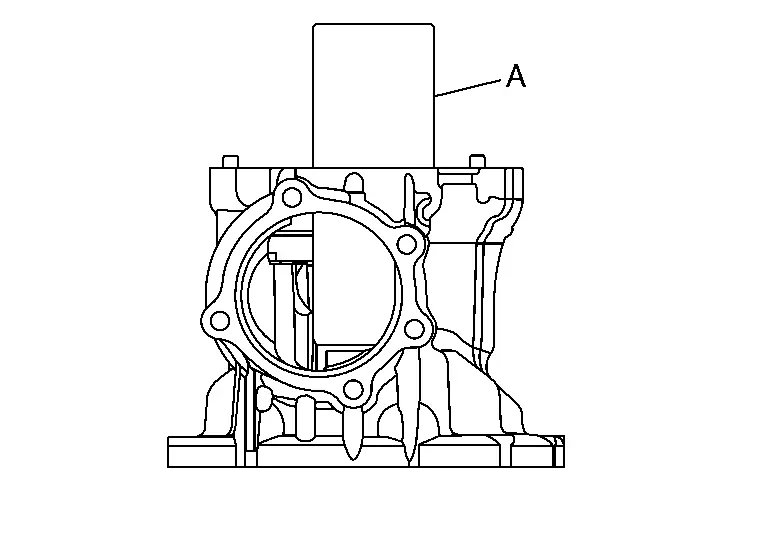
Install the selected ring gear bearing adjusting shim (transfer case side) and ring gear bearing outer race (transfer case side) using drift (A) (commercial service tool).

CAUTION:
-
Never reuse ring gear bearing (transfer case side).
-
Apply transfer oil to the ring gear bearing (transfer case side).
Install baffle plate
.

-
For tightening torque, refer to Exploded View.
Install ring gear shaft assembly. Refer to Disassembly and Assembly.
CAUTION:
Protect transfer case oil seals beforehand from being damaged by the spline of ring gear shaft.
Install drive pinion assembly. Refer to Disassembly and Assembly.
Install transfer cover to check and adjust each part. Refer to Disassembly and Assembly.
NOTE:
At this timing, O-ring installing to transfer cover is not necessary. Install O-ring after backlash and tooth contact are checked.
Check backlash, tooth contact, total preload and companion flange runout. Refer to Adjustment.
CAUTION:
Measure the total preload without oil seals of transfer cover and transfer case.
Reinstall transfer cover to install O-ring. Refer to Disassembly and Assembly.
Install transfer case oil seals using drift (commercial service tool).

| A | : 24.8 mm (0.976 in) |
| B | : 10.3 mm (0.406 in) |
CAUTION:
-
When checking the total preload torque, measure it without the oil seal, then install the oil seal.
-
Never reuse the oil seal.
-
When installing, never incline oil seal.
-
Apply multi-purpose grease onto oil seal lips, and transfer oil onto the circumference of the oil seal.
-
Never damage oil seals by spline of ring gear shaft.
After installing transfer case oil seals to transfer case, remove wrapped vinyl from the spline of ring gear shaft.
Install O-ring to the transfer case.
CAUTION:
-
Never reuse O-ring.
-
Apply multi-purpose grease lightly and evenly onto O-ring.
-
When installing O-ring, never use a tool.
-
Never damage O-ring.
Inspection
INSPECTION AFTER DISASSEMBLY
Check items below. If necessary, replace them with new ones.
Case
Check the bearing mounting surface for wear, cracks and damages.
Other materials:
Fuel information
Basic information
Use unleaded regular gasoline with an octane rating of at least 87 AKI (Anti-Knock Index) number (Research octane number 91), as recommended for your Nissan Rogue.
CAUTION
Using a fuel other than specified may negatively affect the emission control system of your Nissan Rogue an ...
Airbags latéraux fixés aux sièges avant, avant central*, latéraux arrière,
airbags latéraux de fenêtre fixés au toit et airbags de protection en cas de
tonneau
Dans le Nissan Rogue, ces systèmes d’airbags latéraux, de fenêtre (rideaux) et de protection en cas de tonneau sont conçus pour compléter la protection apportée par les ceintures de sécurité. Ils améliorent la sécurité des occupants, à condition que la position d’assise soit correcte ...
Diagnosis and Repair Workflow
Intelligent Around View Monitor
Work Flow
OVERALL SEQUENCE
Reference 1··· Refer to Consult Function.
Reference 2··· Refer to DTC Index.
Reference 3··· Refer to Symptom Table.
DETAILED FLOWINTERVIEW AND SYMPTOM CONFIRMATION
Check the malfunction symptoms by performing th ...































: N·m (kg-m, in-lb)
: N·m (kg-m, ft-lb)
: Always replace after every disassembly.
: Select with proper thickness.
: Apply transfer oil.
: Apply multi-purpose grease.