Nissan Rogue (T33) 2021-Present Service Manual: System Description :: System
Body Control System
System Description
OUTLINE
-
BCM (Body Control Module) controls the various electrical components. It inputs the information required to the control from CAN communication and the signal received from each switch and sensor.
-
BCM has combination switch reading function for reading the operation status of combination switches (light, turn signal, wiper and washer) in addition to a function for controlling the operation of various electrical components. It also has the signal transmission function as the passed point of signal and the power saving control function that reduces the power consumption with the ignition switch OFF.
-
BCM is equipped with the diagnosis function that performs the diagnosis with CONSULT and various settings.
BCM CONTROL FUNCTION LIST
| System | Reference | |
|---|---|---|
| Combination switch reading system | System Description | |
| Signal buffer system | System Description | |
| Power consumption control system | System Description | |
| Shipping mode control system | System Description | |
| Headlamp system | System Description | |
| Intelligent auto light system | System Description | |
| HBA (high beam assist) system | System Description | |
| Daytime running light system | System Description | |
| Turn signal and hazard warning lamp system | System Description | |
| Parking, license plate, side marker and tail lamp system | System Description | |
| Stop lamp system | System Description | |
| Back-up lamp system | System Description | |
| Exterior lamp battery saver system | System Description | |
| Interior room lamp control system | System Description | |
| Interior room lamp battery saver system | System Description | |
| Illumination control system | System Description | |
| Front wiper and washer system | System Description | |
| Rear wiper and washer system | System Description | |
| Rear window defogger system | System Description | |
| Warning chime system | System Description | |
| Power distribution system | System Description | |
| Auto ACC function | System Description | |
| PTC heater control system |
|
|
| Power door lock system | System Description | |
| Back door opener system | System Description | |
| Automatic back door system | System Description | |
| Intelligent Key system/Engine start function | System Description | |
| Nissan Nissan Ariya vehicle immobilizer system-NATS | System Description | |
| Intelligent Key system | Intelligent Key system | System Description |
| Door lock function | System Description | |
| Back door open function | System Description | |
| Remote keyless entry function | System Description | |
| Key reminder function | System Description | |
| Nissan Ariya Vehicle security system | Theft warning alarm | System Description |
| Panic alarm | ||
| Power window system | System Description | |
| Moonroof system | System Description | |
| RAP (retained accessory power) | System Description | |
| TPMS (tire pressure monitoring system) | System Description | |
MAC (MESSAGE AUTHENTICATION CODE)
MAC (Message Authentication Code) is a function that prevents unauthorized communication from other than the ECU with MAC function by secure authentication communication. BCM can write a MAC key required for communication between the ECUs and perform MAC diagnosis.
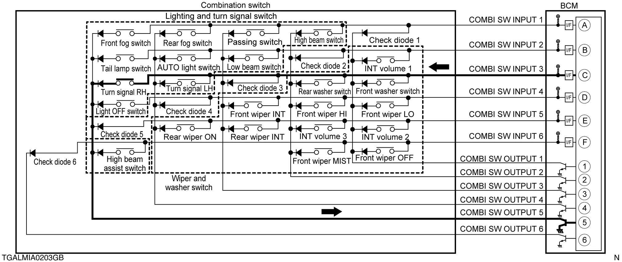
Combination Switch Reading System
System Description
SYSTEM DIAGRAM

NOTE:
AUTO light switch is not applicable (for Canada models).
OUTLINE
-
BCM reads the status of the combination switch and recognizes the status of each switch.
-
BCM has a combination of 6 input terminals (INPUT 1 - 6) and 6 output terminals (OUTPUT 1 - 6), reads a maximum of 23 switch states and 6 check diode states.
COMBINATION SWITCH MATRIX

NOTE:
AUTO light switch is not applicable (for Canada models).
| System | INPUT 1 | INPUT 2 | INPUT 3 | INPUT 4 | INPUT 5 | INPUT 6 |
|---|---|---|---|---|---|---|
| OUTPUT 1 | Check diode 1 | INT volume 1 | Front washer switch | Front wiper LO | INT volume 2 | Front wiper OFF |
| OUTPUT 2 | High beam switch | Check diode 2 | Rear washer switch | Front wiper HI | INT volume 3 | Front wiper MIST |
| OUTPUT 3 | Passing switch | Low beam switch | Check diode 3 | Front wiper INT | Rear wiper INT | — |
| OUTPUT 4 | Rear fog swich | AUTO light switch | Turn signal LH | Check diode 4 | Rear wiper ON | — |
| OUTPUT 5 | Front fog switch | Tail lamp switch | Turn signal RH | Light OFF switch | Check diode 5 | High beam assist switch |
| OUTPUT 6 | — | — | — | — | — | Check diode 6 |
NOTE:
AUTO light switch is not applicable (for Canada models).
COMBINATION SWITCH READING FUNCTION
Description
-
BCM reads the status of the combination switch at 10 ms intervals normally.

-
BCM operates as follows and judges the status of the combination switch:
-
It operates the transistor on INPUT side in the following order: OUTPUT 6–> 5 –> 4 –> 3 –> 2 –> 1, and outputs voltage waveform.
-
The voltage waveform of OUTPUT corresponding to the formed circuit is input into the interface on INPUT side if any (1 or more) switches are ON.
-
It reads this change of the voltage as the status signal of the combination switch.

-
Operation Example
In the following operation
example, the combination of the status signals of the combination switch
is replaced as follows: INPUT 1 - 6 to “
-
” and OUTPUT 1 - 6 to “
-
”.
Example 1: When a switch (turn signal RH) is turned ON
-
The circuit between INPUT 3 (
) and OUTPUT 5 (
) is formed when the turn signal RH is turned ON.
NOTE:
AUTO light switch is not applicable (for Canada models).
-
BCM detects the combination switch status signal “

” when the signal of INPUT 3 is input to OUTPUT 5. -
BCM judges that the turn signal RH is ON when the signal “

” is detected.
Example 2: When some switches (front fog switch, turn signal RH) are turned ON
-
The circuits between INPUT 1 (
) and OUTPUT 5 (
) and between INPUT 3 (
) and OUTPUT 5 (
) are formed when the front fog switch and turn signal RH are turned ON.
NOTE:
AUTO light switch is not applicable (for Canada models).
-
BCM detects the combination switch status signal “


” when the signals of INPUT 1 and INPUT 3 are input to OUTPUT 5. -
BCM judges that the front fog switch and turn signal RH are ON when the signal “


” is detected.
NOTE:
BCM judges lighting switch is in AUTO position when light OFF switch is ON (for Canada models).
WIPER INTERMITTENT DIAL POSITION (WITH WIPER INTERMITTENT DIAL POSITION)
BCM judges the wiper intermittent dial 1 - 5 by the status of INT volume 1, 2 and 3 switches.
|
Wiper intermittent dial position | Switch status | ||
|---|---|---|---|
| INT volume 1 | INT volume 2 | INT volume 3 | |
| 1 | ON | ON | OFF |
| 2 | ON | OFF | OFF |
| 3 | OFF | OFF | OFF |
| 4 | OFF | OFF | ON |
| 5 | OFF | ON | ON |
NOTE:
For details of wiper volume dial position, refer to System Description.
Signal Buffer System
System Description
SYSTEM DIAGRAM

| Parts name | System description |
|---|---|
| Each switch | Transmits each signal to the BCM. |
| BCM | BCM has the signal transmission function that transmits each input/received signal to each unit. |
| Each unit | Inputs each signal from the BCM. |
OUTLINE
BCM has the signal transmission function that transmits each input signal to each unit.
Signal transmission function list
| Signal name | Input | Output | Description |
|---|---|---|---|
| Door switch signal | Each door switch |
|
Inputs each door switch signal and transmits the door switch signal judged by the BCM via CAN communication. |
| Drive mode switch signal | Drive mode switch | Chassis control module | Inputs the drive mode switch signal and transmits the drive mode switch signal judged by the BCM via CAN communication. |
| Front seat belt buckle switch LH signal | Front seat belt buckle switch LH |
|
Inputs the front seat belt buckle switch LH signal and transmits the front seat belt buckle switch LH signal judged by the BCM via CAN communication. |
| Stop lamp switch signal | Stop lamp switch |
|
Inputs the stop lamp switch signal and transmits the stop lamp switch signal via CAN communication. |
| Brake pedal position switch signal | Stop lamp switch | ADAS control unit 2 | Inputs the brake pedal position switch signal and transmits the brake pedal position switch signal judged by the BCM via CAN communication. |
| Combination switch signal | Combination switch |
|
Inputs the combination switch signal and transmits the combination switch signal judged by the BCM via CAN communication. |
Power Consumption Control System
System Description
SYSTEM DIAGRAM

INPUT SIGNAL AND OUTPUT SIGNAL
Major signal transmission between each unit via CAN communication is shown in the following table:
| Component | Function |
|---|---|
| BCM |
|
| AV control unit |
|
| Chassis control module | |
| Combination meter | |
| Driver seat control unit | |
| Intelligent Key unit | |
| IPDM E/R | |
| TCU | |
| BOSE speaker amp. | |
| ABS actuator and electric unit (control unit) | |
| Automatic back door control unit | |
| Electric shift control module | |
| Each switch | Each switch transmits the Nissan Ariya vehicle status to the BCM. |
OUTLINE
BCM incorporates a power saving control function that reduces the power consumption according to the Nissan Ariya vehicle status.
Low power consumption mode (sleep)
-
CAN transmission is stopped to other units
-
Each control with BCM is operating low power consumption mode
Normal mode (wake-up)
-
CAN communication is normally performed
-
Each control with BCM is operating normally
Low power consumption mode activation
-
BCM receives the sleep-ready signal from each unit via CAN communication.
-
BCM transmits the sleep wake up signal (sleep) to each unit when receive the sleep-ready signal from each unit.
-
Each unit stops the transmission of CAN communication with the sleep wake up signal (sleep).
-
BCM perform the low power consumption control when fulfilled with all sleep conditions.
Sleep condition -
Ignition switch OFF (not auto ACC status)
-
Interior room lamp power supply OFF
-
Navigation and audio system OFF
-
Wake-up operation
-
BCM transmits sleep wake up signal (wake up) to each unit when sleep conditions change, and then goes into normal mode from low power consumption mode.
-
Each unit starts transmissions with CAN communication by receiving sleep wake up signal (wake up).
-
BCM stop the low power consumption control when fulfilled with any wake up conditions.
Wake up condition -
Ignition switch OFF → ON
-
Door closed → opened
-
Door lock / unlock operation
-
Shipping Mode Control System
System Description
SYSTEM DIAGRAM

Signal transmission function list
| Signal name | Input | Output | Description |
|---|---|---|---|
| Shipping mode status signal | BCM | Combination meter (CAN) | Transmits the shipping mode status signal via CAN communication. |
DESCRIPTION
-
BCM switches the status (shipping mode or normal mode) by itself according to the extended storage fuse switch condition, and transmits shipping mode status signal to combination meter and each unit via CAN communication.
-
When shipping mode function operates, each control unit does not detect DTCs.
-
BCM control functions are limited in shipping mode. Refer to Description.
-
The combination meter displays extended storage fuse warning message on the information display, when BCM is in shipping mode.
Other materials:
Témoins d'avertissement/lumineux
(rouge)
Informations de base
Consultez également la section « Écran d'informations
du véhicule » pour comprendre l'affichage des messages et des symboles associés aux témoins du Nissan Rogue.
Témoin d'avertissement de frein
ou
Ce témoin regroupe des informations liées au frein de statio ...
Three-point type seat belt with retractor
Basic information
WARNING
Every person riding in the Nissan Rogue must wear a seat belt at all times. Children should always ride in the rear in an appropriate restraint.
Do not ride in the vehicle when the seatback is reclined.
This is dangerous because the shoulder belt will not rest prope ...
With Idle Start/stop. Service Data and Specifications (sds). Service Data and Specifications (sds)
Service Data and Specifications (sds)
Sub Starter & Generator
Part number*
448191
Manufacturer
Valeo make
Nominal rating
[V - A]
14 - 120
Ground polarity
-
Negative ground
Minimum revolution under no-load
(When 13.5 V is applied)
[rpm]
Less than 1,400 ...
