Nissan Rogue (T33) 2021-Present Service Manual: System Description :: System
System Description (Heated Steering Wheel)
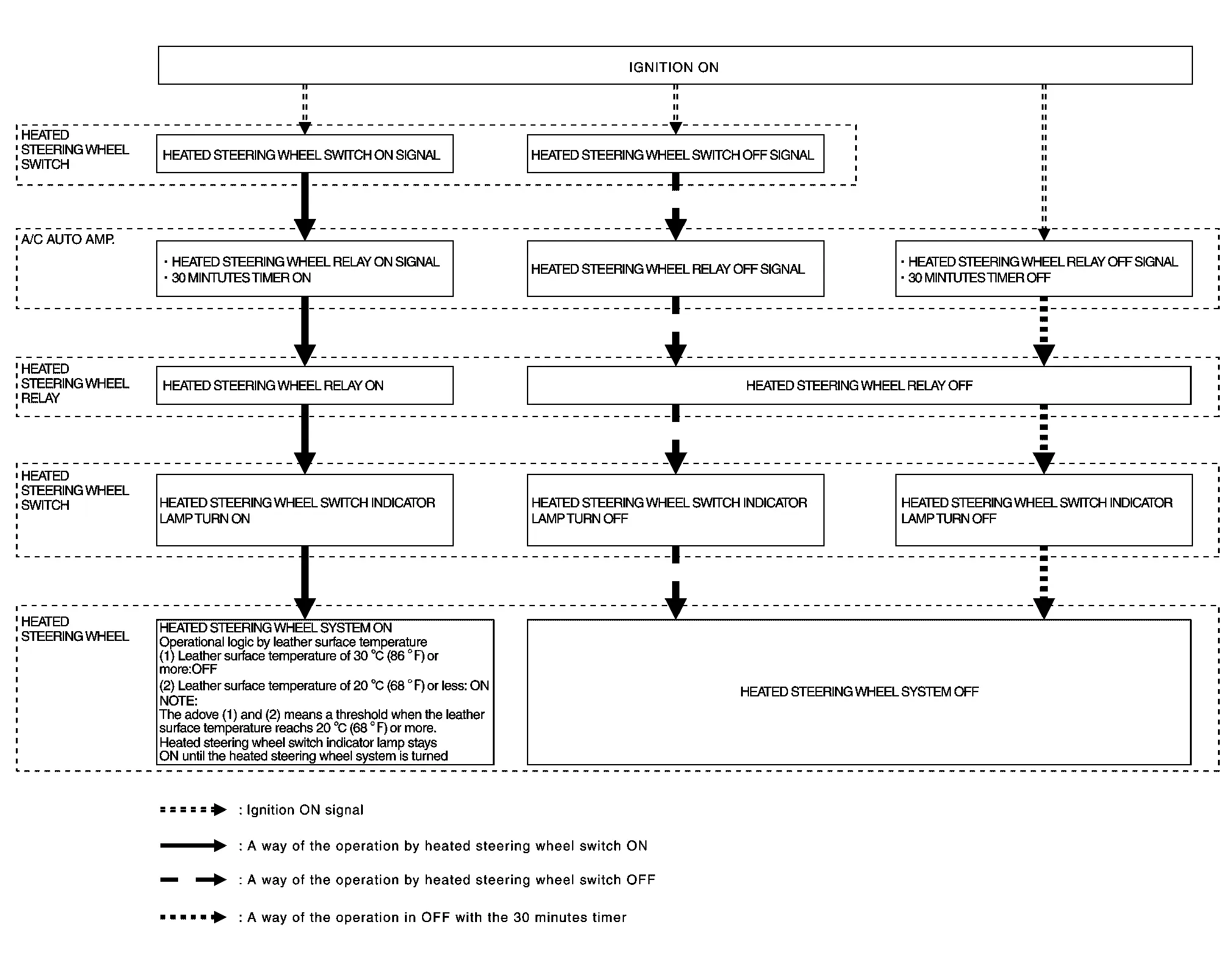
SYSTEM DIAGRAM

The heated steering wheel switch controls the heated steering wheel relay. When the heated steering wheel switch is turned on, the heated steering wheel relay is energized and the heated steering wheel system will operate. The heated steering wheel system will turn off when the heated steering wheel temperature reaches approximately 86°F (30°C). Heated steering wheel system operation can also be canceled by pressing the heated steering wheel switch again. The A/C amp. Incorporates a timer and turns OFF the heated steering wheel relay when operating time reaches a certain time.
NOTE:
If the surface temperature of the steering wheel is below 68°F (20°C), the system will heat the steering wheel and cycle off and on to maintain a temperature above 68°F (20°C). The indicator light will remain on as long as the system is on. Push the switch again to turn the heated steering wheel system off manually. The indicator light will go off.
CIRCUIT DIAGRAM

Other materials:
Ceinture de sécurité à trois points d'ancrage avec enrouleur
Informations de base
Sur le Nissan Rogue, la ceinture de sécurité à trois points d’ancrage avec enrouleur est conçue pour maintenir efficacement le conducteur et les passagers tout en permettant une liberté de mouvement normale. Correctement portée et bien ajustée, elle contribue forteme ...
Fuel Level Sensor Signal Circuit
Component Function Check
PERFORM COMPONENT FUNCTION CHECK (1)
Ignition switch OFF.
Disconnect fuel level sensor unit, fuel pump and FPCM (fuel level sensor) (main) harness connector.
Connect variable resistor between harness connector terminals located
on the Nissan Ariya vehicle s ...
Kr15ddt. Symptom Diagnosis. Overheating Cause Analysis
Overheating Cause Analysis
Troubleshooting Chart
Symptom Check items
Cooling system parts malfunction
Poor heat transfer
Water pump malfunction
Worn or loose drive belt
—
Thermostat stuck closed
Coolant circulation
Damaged fins
Dust contamination or rock cl ...
