Nissan Rogue (T33) 2021-Present Service Manual: System Description :: System
Tire Pressure Monitoring System
System Description
-
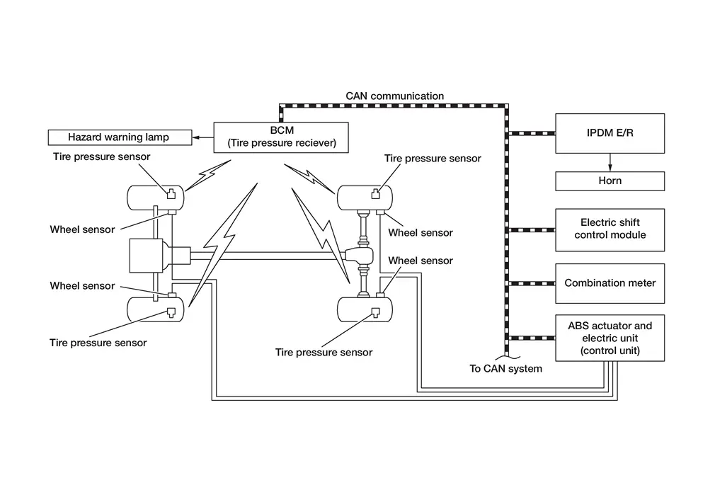
During driving, the TPMS (tire pressure monitoring system) system receives the signal transmitted from the tire pressure sensor installed in each wheel. The BCM has pressure judgment and trouble diagnosis functions. When the TPMS system detects low inflation pressure or another unusual symptom, the low tire pressure warning lamps in the combination meter comes on.
-
If tire pressure is less than the warning tire pressure value, the low tire pressure warning lamp illuminates.
-
Location of the wheel is specified due to the synchronism of the wheel sensor position and tire pressure sensor position.
-
Activates the TPMS system when the Nissan Ariya vehicle speed is 25 MPH (40 km/h) or more.
-
The TPMS system has easy fill tire alert function to aid in tire inflation.
SYSTEM DIAGRAM

INPUT SIGNAL AND OUTPUT SIGNAL
| Component | Signal description |
|---|---|
| BCM |
Mainly transmits the following signals to combination meter via CAN communication:
Mainly receives the following signal from ABS actuator and electric unit (control unit) via CAN communication:
Mainly transmits the following signal to IPDM E/R via CAN communication:
Mainly receives the following signal from electronic shift control module via CAN communication:
|
| Combination meter |
Mainly receives the following signals from BCM via CAN communication:
|
| ABS actuator and electric unit (control unit) |
Mainly transmits the following signal to BCM via CAN communication:
|
| Electric shift control module |
Mainly transmits the following signal to BCM via CAN communication:
|
| IPDM E/R (Intelligent Power Distribution Module Engine Room) |
Mainly receives the following signal from BCM via CAN communication:
|
LOW TIRE PRESSURE WARNING LAMP AND INFORMATION DISPLAY INDICATIONS
Uses CAN communication from the BCM to illuminate the low tire pressure warning lamp in the combination meter.
| Condition | Low tire pressure warning lamp | Information display |
|---|---|---|
| Ignition switch OFF | OFF | OFF |
|
Ignition switch ON (system normal) |
ON for 1 second then turns OFF | No TPMS message |
| Low tire pressure | ON | Low Tire Pressure Warning |
| Configuration not performed in tire pressure monitoring system | Blinks for 1 minute then stays ON | No TPMS message |
| Tire pressure sensor ID not registered in BCM | ||
| Tire pressure monitoring system malfunction |
HAZARD WARNING LAMP INDICATION CONDITION
The hazard warning lamp blinks under the following conditions:
-
When ID registration is completed. Refer to Description.
-
During the use of the inflation indicator function.
HORN CONTROL CONDITION
During the use of the easy fill tire alert function.
Easy Fill Tire Alert Function
NOTE:
-
The tire easy fill tire alert function is recommended to use the ignition switch ON.
-
When beginning tire inflation, it takes a few seconds for the easy fill tire alert function. If there is no response for approximately 15 seconds or more, cancel the easy fill tire alert function and move the Nissan Ariya vehicle approximately 3.2 ft (1 m) backward or forward to try again.
-
The easy fill tire alert function operates only when the select lever position is in P-range with the ignition switch ON.
-
This function informs the driver with a visual and audible indication that the recommended COLD tire pressure has been reached.
-
The hazard warning lamps blink when the recommended COLD tire pressure has been reached. After the recommended COLD tire pressure has been reached, the horn sounds once and the hazard warning lamps stop blinking.

-
If the tire pressure value is equal to or greater than 4 psi (0.31 kg/cm2, 30 kPa) more than the recommended COLD tire pressure, the hazard warning lamps flash and horn sounds three times.
-
To return the tire to the recommended COLD tire pressure, deflate the tire until the horn sounds once and the hazard warning lamps stop blinking.
Warning/indicator/chime List
Warning Lamp/Indicator Lamp
TYPE A METER
| Name | Design | Layout/Function |
|---|---|---|
| Low tire pressure warning lamp | ![]() |
For layout, refer to Design. |
| For function, refer to Low Tire Pressure Warning Lamp. |
TYPE B METER
| Name | Design | Layout/Function |
|---|---|---|
| Low tire pressure warning lamp | ![]() |
For layout, refer to Design. |
| For function, refer to Low Tire Pressure Warning Lamp. |
Warning/Indicator (On Information Display)
| Name | Layout/Function |
|---|---|
| Low tire pressure warning | Refer to Low Tire Pressure Warning Lamp. |
| Tire pressure display | Refer to Tire Pressure Display. |
Low Tire Pressure Warning
DESIGN/PURPOSE
The low tire pressure location indicator is displayed in the information display of the combination meter with the low tire pressure warning lamp and warning message under the following conditions:
-
Tire pressure is low.
-
Tire goes flat.
| Symbol | Massage |
|---|---|
|
|
Tire Pressure Low Add Air |
SYNCHRONIZATION WITH MASTER WARNING LAMP
Applicable to low tire pressure warning lamp lighting by low air pressure. Refer to Master Warning Lamp.
SYSTEM DIAGRAM

Signal transmission function list
| Signal name | Input | Output | Description |
|---|---|---|---|
| Low tire pressure wheel location signal | BCM | Combination meter (CAN) | Transmits the low tire pressure wheel location signal to the combination meter via CAN communication. |
| Low tire pressure warning lamp signal | BCM | Combination meter (CAN) | Transmits the low tire pressure warning lamp signal to the combination meter via CAN communication. |
SIGNAL PATH
-
BCM receives a signal transmitted from the tire pressure sensors installed in each wheel.
-
If the BCM detects the following condition, it sends the signal to the combination meter via CAN communication:
-
Tire pressure is low
-
-
Combination meter turns the low tire pressure warning lamp ON. In addition, a warning message will be displayed in the information display.
WARNING/INDICATOR OPERATION CONDITION
-
Tire pressure is low
-
Tire pressure is extremely low (flat tire)
WARNING/INDICATOR CANCEL CONDITION
-
Erasing DTC records.
-
Tire pressure of all the tires reaches the reference value. For the reference value of tire pressure, refer to Tire Air Pressure.
TIMING CHART

Tire Pressure Display
The adoption of this function allows tire pressure indication on the information display in the combination meter.
| Design | Description |
|---|---|
|
|
The tire pressure of each tire is displayed. |
| Design | Description |
|---|---|
|
|
The tire pressure of each tire is displayed. |
| Message | Description |
|---|---|
| See Tire Pressure | The tire pressure of each tire is low. |
| Message | Description |
|---|---|
| Check Tire Pressures for Best Fuel Economy | Adjust the tire pressure for each tire. |
SYSTEM DIAGRAM

Signal transmission function list
| Signal name | Input | Output | Description |
|---|---|---|---|
| Tire pressure data signal | BCM | Combination meter (CAN) | Transmits the tire pressure data signal to the combination meter via CAN communication. |
SIGNAL PATH
-
BCM receives a signal transmitted from the tire pressure sensors installed in each wheel.
-
BCM transmits a tire pressure data signal to the combination meter via CAN communication.
-
The combination meter displays tire pressure of each tire on the information display when receiving a tire pressure data signal.
Other materials:
Symptom Diagnosis. Unbalance Steering Wheel Turning Force and Return Between Right and Left
Description
Unbalance steering wheel turning force and return between right and left.
Diagnosis Procedure
PERFORM SELF-DIAGNOSIS
CONSULT
Pull the parking brake switch.
NOTE:
Check to make sure that the parking brake switch indicator is turned ON.
Ignition switch OFF.
Get out ...
How to park with predictive course lines
Basic information
WARNING
If the tires on your Nissan Rogue are replaced with
different sized tires, the predictive
course lines may be displayed
incorrectly.
On a snow-covered or slippery
road, there may be a difference
between the predictive course
line and the actual course line, so alwa ...
NissanConnect Owner's Manual
For models equipped with the advanced NissanConnect System found in the Nissan Rogue, you can access the full digital NissanConnect Owner's Manual using the QR code on this page (US only) or refer to the printed version if supplied. This dedicated manual provides detailed guidance for operating th ...




