Nissan Rogue (T33) 2021-Present Service Manual: Simplified Confirmation by Birds-Eye View Screen
Work Procedure
If the front grille upper is removed or replaced, perform the simplified confirmation by birds-eye view screen.
CAUTION:
-
This procedure should only be performed if the front grille upper has been removed or replaced.
-
Perform camera calibration when removing or replacing each camera, removing the camera mounting parts (front bumper mall center, door mirror, etc.), or replacing the around view monitor control unit. Refer to Work Procedure (WITHOUT ProPILOT ASSIST 2.1) or Work Procedure (WITH ProPILOT ASSIST 2.1).
TAKE A SCREENSHOT OF THE BIRDS-EYE VIEW SCREEN 1
-
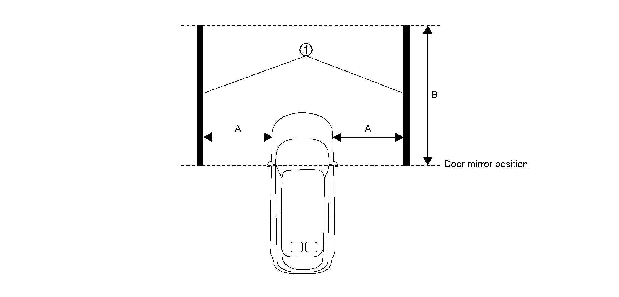
Draw white lines with a width of 10 cm (3.9 in) or more as shown in the figure and place the Nissan Ariya vehicle.


White lines
[10 cm (3.9 in) or more in width]A : 2 m (78.7 in) B : 3 m (118.1 in) -
Activate the around view monitor and display the birds-eye view screen.
-
Take a screenshot of the birds-eye view screen in the state shown in the figure.

NOTE:
A screenshot of the birds-eye view screen can be taken by following the steps below.
-
Insert the USB memory into the USB port.
NOTE:
Using a USB memory with an access lamp makes it easier to determine the communication status of the USB memory.
-
While pressing the camera switch, quickly turn the volume dial 3 clicks in the order of right→left→right (switches to system diagnostic mode).
-
Select “Display Diagnosis”.
-
Select “Screenshot to USB” and turn ON the screenshot.
-
Display the birds-eye view screen.
-
Press the camera switch.
-
Wait at least 10 seconds until the data is written to the USB memory.
-
>>
GO TO 2.
REMOVAL OR REPLACEMENT OF FRONT GRILL UPPER
Remove or replace the front grill upper. Refer to Removal and Installation.
>>
GO TO 3.
TAKE A SCREENSHOT OF THE BIRDS-EYE VIEW SCREEN 2
Take a screenshot of the birds-eye view screen again in the state of the figure.

>>
GO TO 4.
SCREENSHOT COMPARISON OF BIRDS-EYE VIEW SCREEN
Compare the screenshots of the birds-eye view screen before and after
removing or replacing the front grill upper, and check if the white
lines
in the figure is misaligned.

Is there a gap in the white lines?
YES>>Perform camera calibration. Refer to Work Procedure (WITHOUT ProPILOT ASSIST 2.1) or Work Procedure (WITH ProPILOT ASSIST 2.1).
NO>>Work End.
Other materials:
Dtc/circuit Diagnosis. Automatic Back Door Serial Communication
Diagnosis Procedure
CHECK AUTOMATIC BACK DOOR SERIAL COMMUNICATION SIGNAL
Ignition switch ON.
Check signal between BCM harness connector and ground using oscilloscope.
(+) (–)
Signal
(Reference value)
(Approx.)
BCM
Connector Terminal
B26 (with type B meter)
83
Gro ...
Basic Inspection. Anti-Pinch Inspection
Description
Check anti-pinch function when the initialization of moonroof and sunshade system is performed. Refer to Work Procedure.
Work Procedure
CHECK ANTI-PINCH FUNCTION
Fully open the moonroof.
Place a piece of wood near the fully closed position.
Close the moonroof completely ...
Intake Air Temperature Sensor 2
Component Inspection
CHECK INTAKE AIR TEMPERATURE SENSOR 2
Turn ignition switch OFF.
Disconnect turbocharger boost sensor harness connector.
Check resistance between turbocharger boost sensor terminals as follows.
Turbocharger boost sensor Condition Resistance (kΩ)
+ −
...
