Nissan Rogue (T33) 2021-Present Service Manual: Removal and Installation :: Windshield Glass
Exploded View
NMK Production

![]() |
Spacer (upper) | ![]() |
Dam sealant rubber | ![]() |
Spacer (lower) |
![]() |
Windshield glass | ![]() |
Windshield glass molding | ![]() |
Clip (lower) |
![]() |
Clip (upper) | ![]() |
Headlining assembly | ![]() |
Painted surface primer |
![]() |
Adhesive | ![]() |
Glass primer | ![]() |
Roof panel |
![]() |
Cowl top cover | ![]() |
Dash upper | ![]() |
body side outer panel |
![]() |
: Front camera unit and cover bracket (with front camera unit) | ||||
![]() |
: inside mirror base | ||||
![]() |
: R end | ||||
![]() |
: Always replace after every disassembly. | ||||
Unit: mm (in)
| Portion | Primer range | Adhesive range | |||
|---|---|---|---|---|---|
| L | M | ||||
| Windshield glass – Roof panel | –![]() |
F |
21.7 (0.854) |
7.0 (0.276) |
12.0 (0.47) |
| G |
15.0 (0.59) |
||||
| Windshield glass – Dash upper | –![]() |
H |
13.0 (0.512) |
||
| I |
R end to R end |
||||
| Windshield glass – Body side outer panel | –![]() |
J |
12.0 (0.47) |
||
| K |
18.0 (0.71) |
||||
USA Production

![]() |
Spacer (upper) | ![]() |
Dam sealant rubber | ![]() |
Spacer (lower) |
![]() |
Windshield glass | ![]() |
Windshield glass molding | ![]() |
Clip (lower) |
![]() |
Clip (upper) | ![]() |
Headlining assembly | ![]() |
Adhesive |
![]() |
Glass primer | ![]() |
Roof panel | ![]() |
Cowl top cover |
![]() |
Dash upper | ![]() |
body side outer panel | ||
![]() |
: Front camera unit and cover bracket (with front camera unit) | ||||
![]() |
: inside mirror base | ||||
![]() |
: Always replace after every disassembly. | ||||
| Portion | Primer range | Adhesive range | |||
|---|---|---|---|---|---|
| J | K | ||||
| Windshield glass – Roof panel | –![]() |
F |
21.7 (0.854) |
7.0 (0.276) |
12.0 (0.47) |
| Windshield glass – Dash upper | –![]() |
G |
13.0 (0.512) |
||
| Windshield glass – Body side outer panel | –![]() |
H |
12.0 (0.47) |
||
Removal and Installation
REMOVAL
Replacement Windshield Glass
CAUTION:
Never damage body panel.
Remove headlining assembly. Refer to Removal and Installation.
Remove inside mirror. Refer to Removal and Installation.
Remove front camera unit. Refer to Removal and Installation (with front camera unit).
Remove cowl top cover. Refer to Removal and Installation.
Remove pillar finisher. Refer to Removal and Installation.
Apply protective tape (A) on roof panel and body side outer panel around windshield glass to protect painted surface from damage.

Insert a windshield cutter (A) between windshield glass
and body panel
. Cut the adhesive
by pulling the windshield cutter, keeping the tip parallel to the edge of windshield glass.

CAUTION:
Use piano wire to cut sealant if its difficult to use windshield cutter.
Apply protective standish cover (A) on instrument panel to protect it from damage.

Cut the adhesive using a piano wire.Pass the piano wire (B) from passenger room to bonded area of glass using a wire pierce (A).

CAUTION:
-
Never use plane surface of wire pierce tip vertically.
-
Never press piano wire excessively against edge of glass.
-
Never damage surrounding parts.


CAUTION:
-
Never press piano wire excessively against edge of glass.
-
To cut adhesive, 2 workers are required by all means.
Use rubber suction cups or suction lifter (A), etc. to remove windshield glass from the Nissan Ariya vehicle.

CAUTION:
Due to weight of windshield glass, 2 workers are required by all means.
Reuse Windshield Glass
CAUTION:
-
Never use a windshield cutter if the windshield glass is reused. (It may scratch the glass surface)
-
Never damage windshield glass and body panel.
Remove headlining assembly. Refer to Removal and Installation.
Remove inside mirror. Refer to Removal and Installation.
Remove front camera unit. Refer to Removal and Installation (with front camera unit).
Remove cowl top cover. Refer to Removal and Installation.
Remove pillar finisher. Refer to Removal and Installation.
Apply protective tape (A) on roof panel and body side outer panel around windshield glass to protect painted surface from damage.

Apply matching marks to windshield glass, roof panel and both side of body side outer panel.

CAUTION:
To prevent the gap when install windshield glass put on matching marks by all means.
Apply protective standish cover (A) on instrument panel to protect it from damage.

Cut the adhesive using a piano wire.Pass the piano wire (B) from passenger room to bonded area of glass using a wire pierce (A).

CAUTION:
-
Never use plane surface of wire pierce tip vertically.
-
Never press piano wire excessively against edge of glass.
-
Never damage surrounding parts.


CAUTION:
-
Never press piano wire excessively against edge of glass.
-
To cut adhesive, 2 workers are required by all means.
Use rubber suction cups or suction lifter (A), etc. to remove windshield glass from the Nissan Ariya vehicle.

CAUTION:
Due to weight of windshield glass, 2 workers are required by all means.
INSTALLATION
CAUTION:
Before installing, check the painted surface is not have scratched.
If it has scratched, touch up the same color by touch up pen etc.
Replacement Windshield Glass
Use a cutter knife or scraper, and leave the of adhesive and sealant on the body side approximately 2 mm (0.079 in) (A) to make adhesive and sealant surface smooth.

CAUTION:
-
If the bonded area on the body is scratched, repair it using a 2 liquid type urethane paint. Never use lacquer type paint.
-
Smooth out adhesive and sealant surface.
Place new windshield glass on the Nissan Ariya vehicle temporarily, put on matching marks on windshield glass, roof panel and both side of body side outer panel.

CAUTION:
To prevent the gap when install new windshield glass put on matching marks by all means.
Use suction lifter (A) to set windshield glass
on glass stand (B).

Clean the bonded area on windshield glass and body panel side using a white gasoline or degreasing agent.
Install windshield glass molding.Temporarily install new windshield
glass molding on windshield glass to check for apply glass primer
position. Clean windshield glass to applying position of glass primer by
using white gasoline or degreasing agent. Apply glass primer on
windshield glass of windshield glass instal position. Remove release
liner of double sided tape for installing windshield glass molding.
Install windshield glass molding
on windshield glass
as shown in figure.

![]() |
: The ends of windshield glass molding |
![]() |
: Black print matching mark |
| C | : 2.5 mm (0.098 in) |
CAUTION:
When installing, the lip
of windshield glass molding
is touch on the edge
of windshield glass
as shown in figure. (Never press lip to edge.)

| C | : 0 – 0.75 mm (0 – 0.0295 in) |
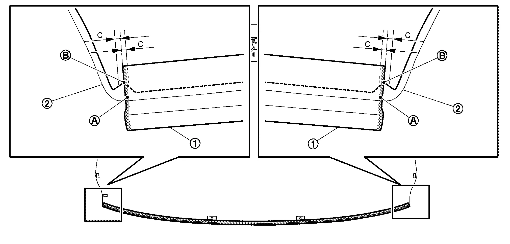
Install dam sealant rubber.Clean windshield glass to applying position for dam sealant rubber by using white gasoline or degreasing agent. Remove release liner of double sided tape for installing dam sealant rubber. Install dam sealant rubber on windshield glass.
CAUTION:
-
The stop/start position is as shown in figure.


: Dam sealant rubber 
: Windshield glass 
: Black print matching mark B : 1.0 mm (0.039 in) C : 0 mm – 5.0 mm (0 – 0.20 in) -
The left/right side are along with edge
of windshield glass edge as shown in figure.
-
The lower left
to installing dam sealant rubber are as shown in figure.

: Dam sealant rubber 
: Windshield glass 
: Connected line of black print matching marks 
: Black print matching mark D : 1.0 mm (0.039 in) -
The lower right position
as shown in figure.

: Dam sealant rubber 
: Windshield glass 
: Black print matching mark 
: Connected line of black print matching marks D : 1.0 mm (0.039 in) -
The lower middle
is as shown in figure.

: Dam sealant rubber 
: Windshield glass 
: Black print matching mark 
: Connected line of black print matching marks D : 1.0 mm (0.039 in)
Apply glass primer along the entire circumference of windshield glass. The range of glass primer refer to Exploded View.
For NMK production only, apply painted surface primer to the body side bonding surface. The range of painted surface primer refer to Exploded View.
Apply adhesive to windshield glass by using a sealant gun. The volume of adhesive refer to Exploded View.
CAUTION:
-
The stop/start position to applying adhesive
are locate
on windshield glass
as shown in figure. -
When finish to applying adhesive, its should be overlap from start position as shown in figure.

B : 68 mm (2.68 in) -
When applying adhesive
onto lower middle position
, never cover windshield glass
black print matching marks
as shown in figure.
-
The lower left
to applying adhesive as shown in figure.

: Adhesive 
: Windshield glass 
: Spacer (lower) 
: Black print matching mark 
: Fully cover 

: Not cover
and touch spacer (lower) 

: Only half cover 
-
The left/right side
to applying adhesive
along windshield glass
black print edge
as shown in figure.
-
The upper left/right
to applying adhesive are as shown in figure.

: Adhesive 
: Clip (upper) 
: Windshield glass 
: Black print matching mark 
: Black print matching mark [for spacer (upper)] -
The upper middle
to applying adhesive as shown in figure.

: Adhesive 
: Windshield glass 
: The edge bend of windshield glass 
: Black print matching mark D : 12.8 mm (0.504 in)
Use suction lifter (A) that is installed in advance, align the
matching marks between the holder and roof panel hole and between the
body panel and windshield glass
to install them on the Nissan Ariya vehicle.

CAUTION:
Due to weight of windshield glass, 2 workers are required by all means.
Press entire surface of windshield glass lightly to fit it completely.
Correct any adhesive overflow or shortage using a spatula to make the surface smooth.
CAUTION:
-
Dry the adhesive according to the specification of adhesive kit.
-
After installing windshield glass, keep the all door glass open until the adhesive is completely cured.
-
Never drive the Nissan Ariya vehicle before the adhesive is completely cured.
Remove protective tape.
Install removed parts.
CAUTION:
-
Perform additional service after removing front camera unit (with front camera unit). Refer to Work Procedure.
-
Adjust the front wiper arms auto stop position. Refer to Adjustment.
-
Check the matching with surrounding parts. Adjust if necessary.
-
After installing, perform the inspection. Refer to Inspection.
Reuse Windshield Glass
CAUTION:
Never reuse if it has damage, crack etc..
Use a cutter knife or scraper, and leave the of adhesive and sealant on the body side approximately 2 mm (0.079 in) (A) to make adhesive and sealant surface smooth.

CAUTION:
-
If the bonded area on the body is scratched, repair it using a 2 liquid types urethane paint. Never use lacquer type paint.
-
Smooth out adhesive and sealant surface.
Remove remaining adhesive, dam sealant rubber, spacers and clips from windshield glass surface.
Clean the bonded area on windshield glass and body panel side using a white gasoline or degreasing agent.
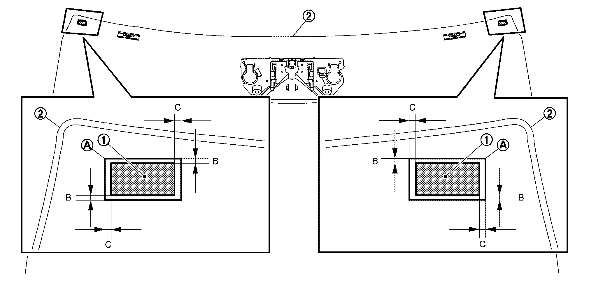
Install clip (upper).Clean windshield glass to install position of
clip (upper) by using white gasoline or degreasing agent. Apply glass
primer on windshield glass of clip (upper) install position. Remove
release liner of double sided tape for installing clip (upper). Install
clip (upper)
on windshield glass
.

CAUTION:
Install on the position correctly as shown in figure.
![]() |
: Windshield glass black print matching mark |
| B | : 365.7 mm (14.40 in) |
| C | : 59.0 mm (2.32 in) |
| D | : 90° |
| E | : 29.8 mm (1.173 in) |
| F | : 46.1 mm (1.815 in) |
Install clip (lower).Clean windshield glass to install position of
clip (lower) by using white gasoline or degreasing agent. Apply glass
primer on windshield glass of clip (lower) install position. Remove
release liner of double sided tape for installing clip (lower). Install
clip (lower)
on windshield glass
.

CAUTION:
Install on the position correctly as shown in figure.
![]() |
: Windshield glass black print matching mark |
| B | : 90° |
| C | : 183.3 mm (7.22 in) |
| D | : 39.9 mm (1.571 in) |
| E | : 5.0 mm (0.20 in) |
| F | : 0.25 mm (0.0098 in) |
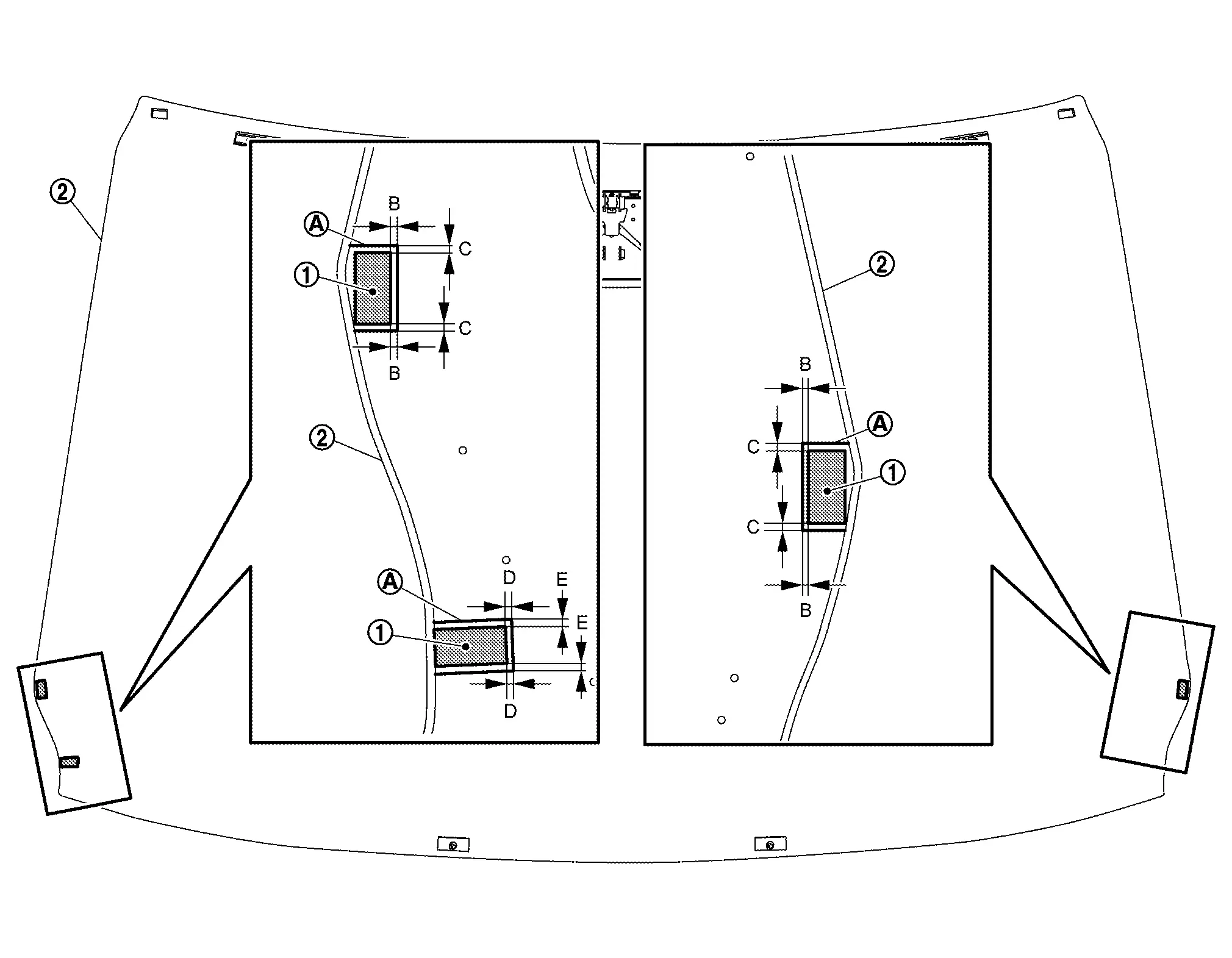
Install spacer (upper).Clean windshield glass to install position of
spacer (upper) by using white gasoline or degreasing agent. Apply glass
primer on windshield glass of spacer (upper) install position. Remove
release liner of double sided tape for installing spacer (upper).
Install spacer (upper)
on windshield glass
.
CAUTION:
Install on the position correctly as shown in figure.
-
LH and RH side


: Windshield glass black print matching mark B : 1.5 mm (0.059 in) C : 2.0 mm (0.079 in) -
Center


: Windshield glass black print matching mark B : 50.0 mm (1.97 in) C : 90° D : 7.2 mm (0.283 in)
Install spacer (lower).Clean windshield glass to install position of
spacer (lower) by using white gasoline or degreasing agent. Apply glass
primer on windshield glass of spacer (lower) install position. Remove
release liner of double sided tape for installing spacer (lower).
Install spacer (lower)
on windshield glass
.
CAUTION:
Install on the position correctly as shown in figure.

![]() |
: Windshield glass black print matching mark |
| B | : 1.5 mm (0.059 in) |
| C | : 2.0 mm (0.079 in) |
| D | : 1.5 mm (0.059 in) |
| E | : 2.0 mm (0.079 in) |
Install windshield glass molding.Temporarily install new windshield
glass molding on windshield glass to check for apply glass primer
position. Clean windshield glass to applying position of glass primer by
using white gasoline or degreasing agent. Apply glass primer on
windshield glass of windshield glass instal position. Remove release
liner of double sided tape for installing windshield glass molding.
Install windshield glass molding
on windshield glass
as shown in figure.

![]() |
: The ends of windshield glass molding |
![]() |
: Black print matching mark |
| C | : 2.5 mm (0.098 in) |
CAUTION:
When installing, the lip
of windshield glass molding
is touch on the edge
of windshield glass
as shown in figure. (Never press lip to edge.)

| C | : 0 – 0.75 mm (0 – 0.0295 in) |
Install dam sealant rubber.Clean windshield glass to applying position for dam sealant rubber by using white gasoline or degreasing agent. Remove release liner of double sided tape for installing dam sealant rubber. Install dam sealant rubber on windshield glass.
CAUTION:
-
The stop/start position is as shown in figure.


: Dam sealant rubber 
: Windshield glass 
: Black print matching mark B : 1.0 mm (0.039 in) C : 0 mm – 5.0 mm (0 – 0.20 in) -
The left/right side are along with edge
of windshield glass edge as shown in figure.
-
The lower left
to installing dam sealant rubber are as shown in figure.

: Dam sealant rubber 
: Windshield glass 
: Connected line of black print matching marks 
: Black print matching mark D : 1.0 mm (0.039 in) -
The lower right position
as shown in figure.

: Dam sealant rubber 
: Windshield glass 
: Black print matching mark 
: Connected line of black print matching marks D : 1.0 mm (0.039 in) -
The lower middle
is as shown in figure.

: Dam sealant rubber 
: Windshield glass 
: Black print matching mark 
: Connected line of black print matching marks D : 1.0 mm (0.039 in)
Apply glass primer along the entire circumference of windshield glass. The range of glass primer refer to Exploded View.
For NMK production only, apply painted surface primer to the body side bonding surface. The range of painted surface primer refer to Exploded View.
Apply adhesive to windshield glass by using a sealant gun. The volume of adhesive refer to Exploded View.
CAUTION:
-
The stop/start position to applying adhesive
are locate
on windshield glass
as shown in figure. -
When finish to applying adhesive, its should be overlap from start position as shown in figure.

B : 68 mm (2.68 in) -
When applying adhesive
onto lower middle position
, never cover windshield glass
black print matching marks
as shown in figure.
-
The lower left
to applying adhesive as shown in figure.

: Adhesive 
: Windshield glass 
: Spacer (lower) 
: Black print matching mark 
: Fully cover 

: Not cover
and touch spacer (lower) 

: Only half cover 
-
The left/right side
to applying adhesive
along windshield glass
black print edge
as shown in figure.
-
The upper left/right
to applying adhesive are as shown in figure.

: Adhesive 
: Clip (upper) 
: Windshield glass 
: Black print matching mark 
: Black print matching mark [for spacer (upper)] -
The upper middle
to applying adhesive as shown in figure.

: Adhesive 
: Windshield glass 
: The edge bend of windshield glass 
: Black print matching mark D : 12.8 mm (0.504 in)
Use suction lifter (A) that is installed in advance, align the
matching marks between the holder and roof panel hole and between the
body panel and windshield glass
to install them on the Nissan Ariya vehicle.

CAUTION:
Due to weight of windshield glass, 2 workers are required by all means.
Press entire surface of windshield glass lightly to fit it completely.
Correct any adhesive overflow or shortage using a spatula to make the surface smooth.
CAUTION:
-
Dry the adhesive according to the specification of adhesive kit.
-
After installing windshield glass, keep the all door glass open until the adhesive is completely cured.
-
Never drive the Nissan Ariya vehicle before the adhesive is completely cured.
Remove protective tape.
Install removed parts.
CAUTION:
-
Perform additional service after removing front camera unit (with front camera unit). Refer to Work Procedure.
-
Adjust the front wiper arms auto stop position. Refer to Adjustment.
-
Check the matching with surrounding parts. Adjust if necessary.
-
After installing, perform the inspection. Refer to Inspection.
Inspection
WATER LEAKAGE INSPECTION
CAUTION:
-
Dry adhesive according to the specification of adhesive kit, do the leaking check when adhesive is stiffen.
-
If leakage was found, start over from the beginning as windshield glass removal, install and leaking check.
Other materials:
Removal and Installation. Door Lock/unlock Switch Rh
Removal and Installation
CAUTION:
Never bend the pawl of power window switch finisher.
REMOVAL
Remove power window switch finisher RH. Refer to Removal and Installation.
Release pawl using a suitable tool and remove the door lock/unlock switch RH from the power window switch finisher RH ...
P01f0 Engine Coolant Temperature
DTC Description
DTC DETECTION LOGIC DTC
CONSULT screen terms
(Trouble diagnosis content)
DTC detection condition
P01F0
00
Coolant temperature
(Coolant temperature relapsed below diagnostic monitoring temperature)
Diagnosis condition
After engine warmed up
Nissan ...
Diagnosis System (driver Monitor Camera Control Unit)
CONSULT Function (Driver Monitor Camera)
APPLICATION ITEMSCONSULT performs the following functions via CAN communication using driver monitor camera control unit. Diagnosis mode Description
Self Diagnostic Result
Retrieve DTC from ECU and display diagnostic items
Data Monitor
Monitor ...














