Nissan Rogue (T33) 2021-Present Service Manual: Removal and Installation :: Side Guard Molding
Exploded View

![]() |
Front door panel | ![]() |
Front side guard molding | ![]() |
Rear side guard molding |
![]() |
Rear door panel | ![]() |
Double-sided tape [t: 1.2 mm (0.047 in)] |
||
![]() |
: Clip | ||||
![]() |
: Nissan Ariya Vehicle front | ||||
![]() |
: Always replace after every disassembly. | ||||
Front Side Guard Molding
Removal and Installation
REMOVAL
CAUTION:
Never damage the front door panel.
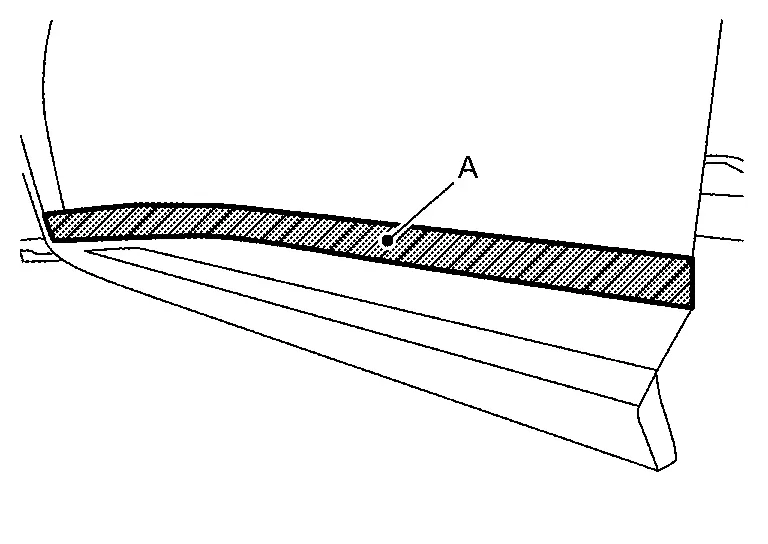
Apply a protective tape (A) on the part to protect it from damage.

Cut double-sided tape using a remover tool (A) and cutter (B).

Disengage front side guard molding fixing clips using a remover tool (A), and then remove front side guard molding.

![]() |
: Clip |
INSTALLATION
Installation is in the reverse order of removal.
CAUTION:
-
Always replace double-sided tape with a new one, if front side guard molding is reused.
-
Remove double-sided tape remaining on front door panel and back of front side guard molding with a double-sided tape remover, after removing front side guard molding.
-
When installing front side guard molding, visually check the clips, then replace them with new parts if they are damaged.
-
When installing front side guard molding, check that clips are securely in door panel holes, and press them in.
-
Never wash the Nissan Ariya vehicle within 24 hours after installing so as to keep adhesive.
Rear Side Guard Molding
Removal and Installation
REMOVAL
CAUTION:
Never damage the rear door panel.
Remove rear fillet molding front. Refer to Removal and Installation.
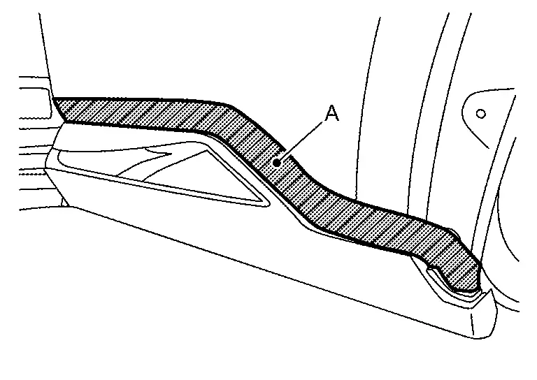
Apply a protective tape (A) on the part to protect it from damage.

Cut double-sided tape using a remover tool (A) and cutter (B).

Disengage rear side guard molding fixing clips using a remover tool (A), and then remove rear side guard molding.

![]() |
: Clip |
INSTALLATION
Installation is in the reverse order of removal.
CAUTION:
-
Always replace double-sided tape with a new one, if rear side guard molding is reused.
-
Remove double-sided tape remaining on rear door panel and back of rear side guard molding with a double-sided tape remover, after removing rear side guard molding.
-
When installing rear side guard molding, visually check the clips, then replace them with new parts if they are damaged.
-
When installing rear side guard molding, check that clips are securely in door panel holes, and press them in.
-
Never wash the Nissan Ariya vehicle within 24 hours after installing so as to keep adhesive.
Other materials:
Towing load/specification
WARNING
The towing capacities in this manual are general guidelines. Actual safe towing capacity of your Nissan Rogue depends on factory or dealer-installed equipment, passenger load, and cargo weight. You must weigh both the vehicle and trailer as described to determine true towing capacity. Never ...
Restraints. Seat Belt Control System
Precaution :: Precautions
Precaution for Supplemental Restraint System (SRS) "AIR BAG" and "SEAT BELT PRE-TENSIONER"
The Supplemental Restraint System such as “AIR BAG” and “SEAT BELT
PRE-TENSIONER”, used along with a front seat belt, helps to reduce the
risk or severity of injury to t ...
Emergency Call (SOS) button
Emergency support
Basic information
NissanConnect Services provide a range of emergency assistance features designed to support the driver of the Nissan Rogue in critical situations.
For example, in the event of a medical emergency or serious injury, pressing the in-vehicle Emergency Call (SOS) b ...








