Nissan Rogue (T33) 2021-Present Service Manual: Removal and Installation :: Roof Side Molding
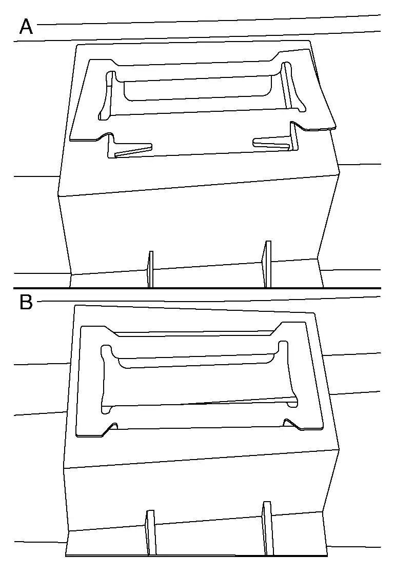
Exploded View

![]() |
Roof side molding | ||||
![]() |
: Rivet | ||||
![]() |
: Clip | ||||
![]() |
: Pawl | ||||
![]() |
: Always replace after every disassembly. | ||||
Removal and Installation
REMOVAL
NOTE:
Without Rock Creek® shown, with Rock Creek® similar.
Apply protective tape (A) on the part to protect it from damage.

Disengage roof side molding fixing clips using a remover tool (A).

![]() |
: Clip |
Remove roof side molding fixing pawls, and then remove roof side molding.

![]() |
: Pawl |
Remove any roof rail clips (A) that may have detached from the roof rail, and then reattach them to the roof rail.

Remove roof side molding rivet.
NOTE:
Grind the head of rivet
with a drill (B) [bit of φ4.7 −φ4.9 mm (φ0.185 −φ0.193 in)].

INSTALLATION
Securely crimp roof rail rivet with a hand riveter (A).

Inspect roof rail clips still attached to the roof rail, and confirm that they are completely seated. Seat the roof rail clips as needed.

| (A) | : Partially seated |
| (B) | : Fully seated |
Using suitable tool (A), remove any sealer and any remaining pieces of the roof rail clip that are present from the leading roof rail clip hole.

NOTE:
-
Remove any remaining sealer with isopropyl alcohol.
-
Ensure that the paint is not damaged. If paint damage occurs, follow NISSAN paint guidelines.
Replace roof rail clip, and remove seal (A) from roof rail clip.

Apply a small bead of silicone sealer around hole (A).

Install the roof rail.
Other materials:
Basic Inspection. Anti-Pinch Inspection
Description
If any of the following operations are performed, the initialization
is necessary for normal operation of anti-pinch function. Refer to Work
Procedure.
When front power window motor (driver side) replaced.
Power supply to the front power window motor (driver side) is not cut ...
Informations de base
AVERTISSEMENT
Le non-respect des instructions et avertissements relatifs à l'utilisation correcte du système BSW sur le Nissan Rogue peut entraîner des blessures graves, voire mortelles.
Le système BSW ne remplace pas une conduite responsable et attentive. Il n'est pas conçu pour éviter l ...
Removal and Installation. Sonar Control Unit
Removal and Installation
REMOVALCAUTION:
When replacing the sonar control unit, perform “ADDITIONAL SERVICE WHEN REPLACING SONAR CONTROL UNIT”. Refer to Description.
Remove the luggage rear plate. Refer to Removal and Installation.
Disconnect the harness connector.
Press the mounting pawls ...




