Nissan Rogue (T33) 2021-Present Service Manual: Removal and Installation :: Side Air Spoiler
Removal and Installation
Remove back door window glass. Refer to Removal and Installation.
Using a suitable tool, cut adhesive (A).

Remove side air spoiler.
INSTALLATION
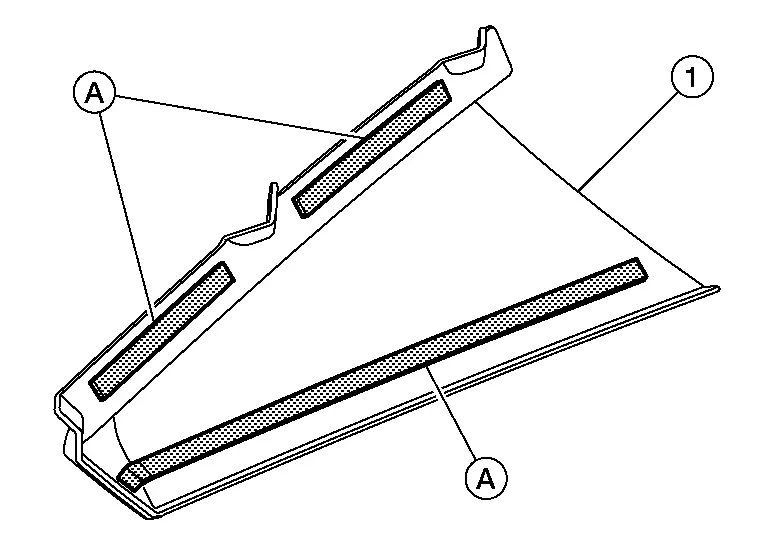
Apply double sided tape (A) to side air spoiler (1) in areas shown..

Align locator tabs (A) and install side air spoiler (1) to back door.

Remainder of installation is in the reverse order of removal.
Other materials:
Situations de conduite pour le système d'intervention sur l'angle mort
intelligent
Informations de base
Témoin allumé
Témoin éteint
Témoin clignotant
Illustration 1 - Approchant par l'arrière
Un autre véhicule s'approche par
l'arrière
Illustration 1 : Sur le Nissan Rogue, le témoin lumineux latéral s’allume dès qu’un véhicule pénètre dans la ...
Additional Service When Replacing Around View Monitor Control Unit
Description
CAUTION:
When replacing the around view monitor control unit, always replace
it with a new one. Intelligent around view monitor system does not
operate properly in case of reuse of the around view monitor control
unit from another Nissan Ariya vehicle.
When before writin ...
Air Pressure Monitor
CONSULT Function [BCM - AIR PRESSURE MONITOR]
DATA MONITORNOTE:
The following table includes information [items]
inapplicable to this Nissan Ariya vehicle. For information [items]
applicable to this vehicle, refer to CONSULT display items.
Monitor Item
[Unit] Description
Tire status-r ...
