Nissan Rogue (T33) 2021-Present Service Manual: Removal and Installation :: Outside Key Antenna
Rear Door
Removal and Installation
REMOVAL
Remove rear door finisher. Refer to Removal and Installation.
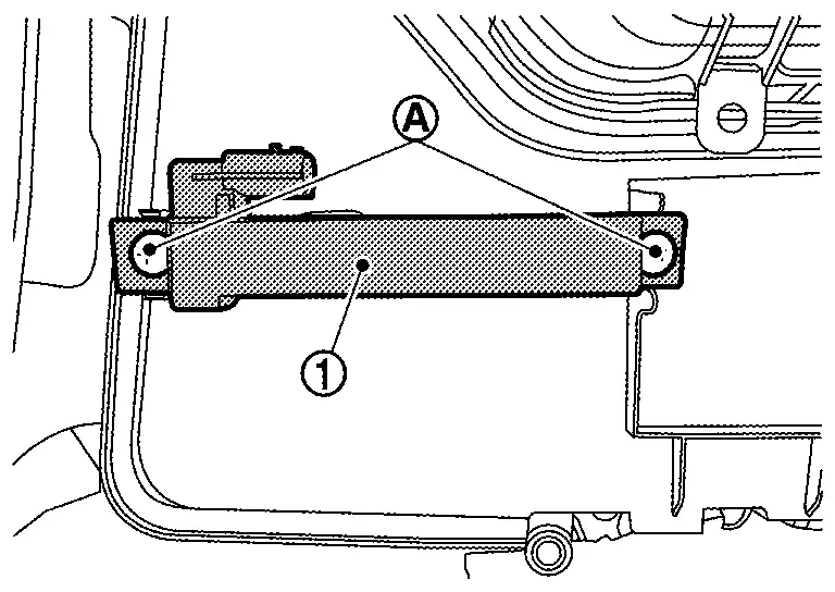
Remove the outside key antenna (rear door) fixing screws
, and then remove outside key antenna (rear door)
.

INSTALLATION
Installation is in the reverse order of removal.
Rear Bumper
Removal and Installation
REMOVAL
Remove rear bumper fascia. Refer to Removal and Installation.
Remove the outside key antenna (rear bumper) fixing clips
, and then remove outside key antenna (rear bumper)
.

INSTALLATION
Installation is in the reverse order of removal.
Other materials:
System Description. Component Parts
Air Bag Module
Driver Air Bag Module
Driver air bag module is built into steering wheel.
Driver air bag module mainly consists of air bag (A) and inflator (B) which inflates air bag.
Driver air bag inflates by breaking steering wheel center pad surface (A).
Passenger Air Bag ...
Pns Relay (power Network Separate Relay)
B23c0-04 Power Network Separate Relay
DTC Description
DTC DETECTION LOGIC DTC CONSULT screen terms DTC detection condition
B23C0
04
Power network separate relay
Diagnosis condition
When engine is running
Signal (terminal)
—
Threshold
Power network separate rela ...
Additional Service When Replacing Abs Actuator and Electric Unit (control Unit)
Work Procedure
DescriptionWhen replacing the ABS actuator and electric
unit (control unit), the procedures of BEFORE REPLACEMENT and AFTER
REPLACEMENT must be performed.BEFORE REPLACEMENTWhen replacing the ABS actuator and electric unit (control unit), save “Operation log”.AFTER REPLACEMENT ...
