Nissan Rogue (T33) 2021-Present Service Manual: Removal and Installation :: Front Stabilizer
Exploded View
JAPAN PRODUCTION MODELS
| 1. | Strut | 2. | Stabilizer connecting rod | 3. | Stabilizer bar |
| 4. | Front suspension member | — | — | — | — |
![]() |
: Nissan Ariya Vehicle front | ||||
![]() |
: N·m (kg-m, ft-lb) | ||||
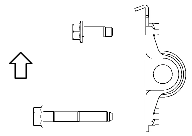
NORTH AMERICA PRODUCTION MODELS
| 1. | Strut | 2. | Stabilizer connecting rod | 3. | Stabilizer bar |
| 4. | Front suspension member | — | — | — | — |
![]() |
: Nissan Ariya Vehicle front | ||||
![]() |
: N·m (kg-m, ft-lb) | ||||
Removal and Installation
REMOVAL
Remove front suspension member. Refer to Removal and Installation.
Remove mounting bolts (A) of stabilizer clamp, and then remove stabilizer clamp and stabilizer bushing from front suspension member.

Remove stabilizer bar.
Perform inspection after removal. Refer to Inspection.
INSTALLATION
Note the following, and install in the reverse order of removal.
-
Install stabilizer bar as shown in the figure.


: Upper side -
When installing the stabilizer clamp mounting bolts, tighten in numerical order.
Temporary tightening
(by hand): 1 – 2 Temporary tightening
(by tool): 3→6 Final tightening
(Specified torque): 7→10 
: Nissan Ariya Vehicle front 
Temporary tightening
(by hand): 1 – 2 Temporary tightening
(by tool): 3→6 Final tightening
(Specified torque): 7→10 
: Nissan Ariya Vehicle front -
To install stabilizer connecting rod (1), tighten the mounting nut with the hexagonal part (A) on the stabilizer connecting rod side fixed.

-
Perform final tightening of bolts and nuts at the Nissan Ariya vehicle installation position (rubber bushing), under unladen conditions with tires on level ground.
-
Perform inspection after installation. Refer to Inspection.
Inspection
INSPECTION AFTER REMOVAL
Check stabilizer bar, stabilizer connecting rod, stabilizer bushing and stabilizer clamp for deformation, cracks or damage. Replace it if necessary.
INSPECTION AFTER INSTALLATION
Check wheel alignment. Refer to Inspection.
Adjust neutral position of steering angle sensor. Refer to Description.
Other materials:
Symptom Diagnosis. Low Tire Pressure Warning Lamp Does Not Turn on
Description
The low tire pressure warning lamp does not turn ON when the ignition switch is placed ON.NOTE:
The low tire pressure warning lamp turn ON for
approximately 1 second and then turns OFF when the ignition switch is
placed ON. This is to check that no abnormal condition is present in ...
Symptom Diagnosis. Engine Does Not Start When Intelligent Key Is Inside of Vehicle
Description
Engine does not start when push-button ignition switch is pressed while carrying Intelligent Key.NOTE:
Before starting diagnosis check that Nissan Ariya vehicle condition
is as shown in “Conditions of vehicle”, and check each symptom.
The engine start function, door lock ...
P2096 A/f Sensor 1
DTC Description
DTC DETECTION LOGIC DTC
CONSULT screen terms
(Trouble diagnosis content)
DTC detection condition
P2096
00
POST CATALYST FUEL TRIM SYS B1
(Post catalyst fuel trim system too lean bank 1)
Diagnosis condition
—
Signal (terminal)
Air fuel ratio (A/F) ...

