Nissan Rogue (T33) 2021-Present Service Manual: Removal and Installation :: Front Spoiler
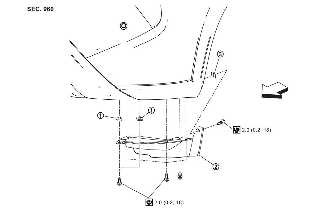
Exploded View

| 1. | Spring nut | 2. | Front spoiler | 3. | Grommet |
![]() |
: Nissan Ariya Vehicle front | ||||
![]() |
N·m (kg-m, in-lb) | ||||
Removal and Installation
REMOVAL
Remove front spoiler fixing screws
and clip
, and then remove front spoiler.

![]() |
: Nissan Ariya Vehicle front |
INSTALLATION
Installation is in the reverse order of removal.
Other materials:
Attention to the road
On ProPILOT Assist 2.1 equipped Nissan Rogue vehicles, the camera-based driver monitor system is used to check whether the driver is watching the road ahead. It is always the driver’s responsibility to stay attentive in order to avoid the following escalating alerts:
First Warning
A beep sounds ...
Système temporairement indisponible
Lorsque le témoin d'avertissement de désactivation du système de commande dynamique du véhicule (VDC) se désactive sur le Nissan Rogue, le témoin d'avertissement de désactivation du système de freinage automatique arrière (RAB) s'allume afin d'informer le conducteur que l'assistance au frei ...
Kr15ddt. Precaution. Precautions
Precautions
Precautions for Removing Battery Terminal
With the adoption of Auto ACC function, ACC power is automatically
supplied by operating the Intelligent Key or remote keyless entry or by
opening/closing the driver side door. In addition, ACC power is supplied
even after the ignitio ...


