Nissan Rogue (T33) 2021-Present Service Manual: Rear Final Drive: R145 :: Preparation. Preparation
Preparation
Special Service Tools
The actual shapes of TechMate tools may differ from those of special service tools illustrated here.
|
Tool number (TechMate No.) Tool name | Description | |
|---|---|---|
|
KV40100610 (NI-26089) Drift a: 63 mm (2.48 in) dia. b: 54.3 mm (2.138 in) dia. |
|
|
|
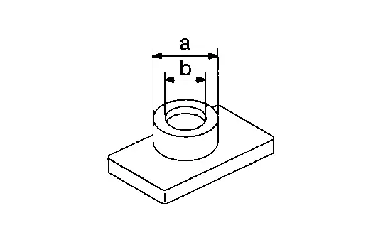
ST33052000 ( — ) Adapter a: 22 mm (0.87 in) dia. b: 28 mm (1.10 in) dia. |
|
Removing side bearing inner race |
|
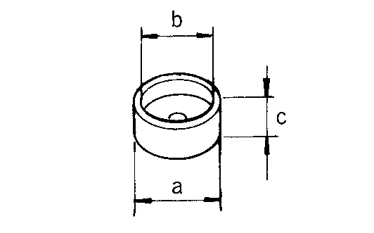
KV40105020 ( — ) Drift a: 39.7 mm (1.563 in) dia. b: 35 mm (1.38 in) dia. c: 15 mm (0.59 in) |
|
Installing side bearing inner race |
|
KV38109300 (NI-53035) Drive pinion socket |
|
|
|
ST3127S000 (NI-25765-A) Preload gauge |
|
Measuring pinion bearing preload and total preload |
|
KV389L0010 ( — ) Dummy cover set 1: Dummy cover 2: Dummy cover spacer 3: Dummy cover shim |
|
|
|
KV38109900 (NI-53029) Pinion nut wrench |
|
|
|
ST33200000 (NI-26082) Drift a: 60 mm (2.36 in) dia. b: 44.5 mm (1.752 in) dia. |
|
Installing pinion rear bearing outer race |
|
ST33230000 (NI-25805-01) Drift a: 51 mm (2.01 in) dia. b: 41 mm (1.61 in) dia. c: 28.5 mm (1.122 in) dia. |
|
Installing pinion front bearing outer race |
|
ST23860000 ( — ) Drift a: 38 mm (1.50 in) dia. b: 33 mm (1.30 in) dia. |
|
|
|
ST38220000 ( — ) Press stand a: 75 mm (2.95 in) dia. b: 63 mm (2.48 in) dia. |
|
Installing pinion front bearing inner race |
Commercial Service Tools
| Tool name | Description | |
|---|---|---|
| Flange wrench |
|
Removing and installing companion flange lock nut |
| Oil seal remover |
|
|
|
Drift a: 58 mm (2.28 in) dia. or less b: 47 mm (1.85 in) dia. or more |
|
Installing electro-hydraulic coupling oil seal |
| Separator |
|
|
| Puller |
|
|
|
Pin punch a: 4.5 mm (0.177 in) dia. |
|
Removing and installing lock pin |
|
Drift a: 63 mm (2.48 in) dia. b: 49 mm (1.93 in) dia. |
|
Installing side oil seal |
|
Drift a: 60 – 73 mm (2.36 – 2.87 in) dia. b: 24 – 53 mm (0.94 – 2.09 in) dia. c: 68 mm (2.68 in) or more |
|
Installing drive pinion oil seal |
| Power tool |
|
Loosening bolts and nuts |
Lubricant or/and Sealant
| Item | Use |
|---|---|
| Electro-hydraulic coupling oil (LSC Transmission Fluid 12-301 or equivalent) | Filling when the parts of electro-hydraulic coupling assembly and/or rear final drive assembly is disassembled |
| Red lead or equivalent | Checking tooth contact |
Other materials:
Dtc/circuit Diagnosis. Push-Button Ignition Switch Illumination Control Circuit
Component Function Check
CHECK PUSH-BUTTON IGNITION SWITCH ILLUMINATION OPERATION
With operating the push-button ignition switch, check that the push-button ignition switch illumination is turned ON/OFF.
Push-button ignition switch ON
: Push-button ignition switch illumination ON
Pus ...
Crankshaft Position Sensor
Component Inspection
CHECK CRANKSHAFT POSITION SENSOR (POS)-1
Turn ignition switch OFF.
Loosen the fixing bolt of the sensor.
Disconnect crankshaft position sensor (POS) harness connector.
Remove the sensor.
Visually check the sensor for chipping.
Is the inspection r ...
Flasher
CONSULT Function (BCM - FLASHER)
DATA MONITORNOTE:
The following table includes information (items)
inapplicable to this Nissan Ariya vehicle. For information (items)
applicable to this vehicle, refer to CONSULT display items.
Monitor item
[Unit] Description
Hazard switch
[Off/On]
...




















