Nissan Rogue (T33) 2021-Present Service Manual: Removal and Installation :: Front Grille
Exploded View
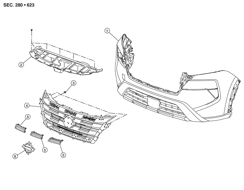
WITHOUT ROCK CREEK®
| 1. | Front bumper fascia | 2. | Grommet | 3. | Front camera (if equipped) |
| 4. | Front grille cover | 5. | Front grille | 6. | Front emblem |
![]() |
: Clip | ||||
![]() |
: Pawl | ||||
WITH ROCK CREEK®
| 1. | Front bumper fascia | 2. | Front grille cover | 3. | Grommet |
| 4. | Front grille | 5. | Front grille inserts | 6. | Front emblem |
![]() |
: Clip | ||||
![]() |
: Pawl | ||||
Removal and Installation
REMOVAL
Fully open hood assembly.
Remove license plate bracket fixing screws, and then remove license plate bracket.
Remove front grille cover fixing clips
, and then remove front grille cover.

Disengage front grille fixing clips and pawls from back side while pulling front grille toward Nissan Ariya vehicle front.

![]() |
: Clip |
![]() |
: Pawl |
Disconnect front camera harness connector. (if so equipped)
Remove front grille.
Remove the following parts after removing front grille.
-
Front camera (if so equipped). Refer to Removal and Installation.
-
Front emblem
INSTALLATION
Installation in the reverse order of removal.
If equipped with front camera, perform camera image calibration. Refer to Work Procedure (WITHOUT ProPILOT Assist 2.1) or Work Procedure (WITH ProPILOT Assist 2.1).
CAUTION:
Perform the calibration and perform the writing to the around view monitor control unit when removing and replacing each camera, removing the camera mounting parts (front grille, door mirror, etc.) and replacing the around view monitor control unit.
Other materials:
U2b8c-88 Ethernet Circuit
DTC Description
DTC DETECTION LOGIC DTC No. CONSULT screen terms DTC detected condition
U2B8C-88
Ethernet circuit
Diagnosis condition
When ignition switch is ON.
Signal (terminal)
—
Threshold
Lost ethernet communication with driving video recorder control module
...
Cvt: Ge0f14a. Symptom Diagnosis
Cvt Control System
Symptom Table
The diagnosis item number indicates the order of check. Start checking in the order from 1.
Perform diagnoses of symptom table 1 before symptom table 2.
Symptom Table 1 Diagnostic item Reference Symptom
Shift Shock Slips/Will Not Engage Other
...
Dtc/circuit Diagnosis. C18d6-09 Brake Power Supply Back up Unit
DTC Description
DTC DETECTION LOGIC DTC No. CONSULT screen terms DTC detection condition
C18D6
09
Backup power supply unit
1
Diagnosis condition
When Ignition switch is ON.
Signal (terminal)
Brake power supply backup unit signal
Threshold
When a malfunction is de ...


