Nissan Rogue (T33) 2021-Present Service Manual: Rear Oil Seal
Removal and Installation
REMOVAL
Remove drive plate. Refer to Removal and Installation.
Remove rear oil seal with a suitable tool.
CAUTION:
-
Do not damage crankshaft or cylinder block.
-
Do not reuse rear oil seal.
INSTALLATION
Install rear oil seal so that each seal lip is oriented as shown.

![]() |
: Dust seal lip |
![]() |
: Oil seal lip |
![]() |
: Engine outside |
![]() |
: Engine inside |
-
Press-fit rear oil seal with a suitable drift (A) outer diameter 115 mm (4.53 in) and inner diameter 90 mm (3.54 in).

CAUTION:
-
Do not damage crankshaft or cylinder block.
-
Press-fit rear oil seal straight to avoid causing burrs or tilting.
-
Do not touch grease applied onto oil seal lip.
-
-
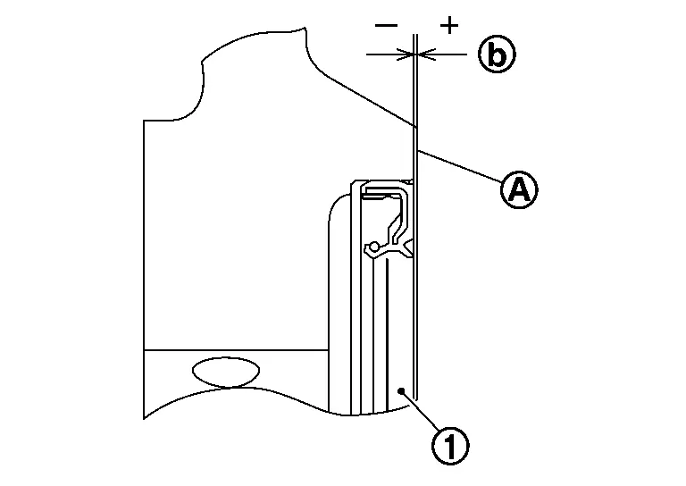
Press in rear oil seal
to the position as shown.
Dimension 
: (–0.3) - (+0.5) mm [(–0.012) - (+0.020) in] 
: Rear end surface of cylinder block
Installation of the remaining components is in the reverse order of removal.
Other materials:
Driver Assistance System. Symptom Diagnosis
Driver Assistance System Symptoms
Symptom Table
Symptom Confirmation item Reference page
All system displays do not display
Combination meter
On Board Diagnosis Function (12 inch Information Display)
On Board Diagnosis Function (7 inch Information Display)
Normal Op ...
Dtc/circuit Diagnosis. Power Supply and Ground Circuit. Sonar Control Unit
Sonar Control Unit
Diagnosis Procedure
CHECK FUSE
Check that the following fuse is not blown (open).
Power source Fuse No. Capacity
ACC power supply
#40
10 A
Is the fuse blown (open)?
YES>>
Be sure to eliminate cause of malfunction before installing new fuse.
NO>&g ...
Intelligent Around View Monitor. Preparation. Preparation
Preparation
Special Service Tools
The actual shape of the tools may differ from those illustrated here.
Tool number
(TechMate No.)
Tool name Description
-
(NI-53373)
ADAS calibration laser level
Target setup and ADAS calibration
-
(NI-53371)
ADAS calibration rod
...



