Nissan Rogue (T33) 2021-Present Service Manual: Periodic Maintenance :: Brake Pedal
Inspection and Adjustment
INSPECTION
Brake Pedal Height
Check the height (H1) between the floor panel
and the brake pedal upper surface.

| H1 | : Refer to Brake Pedal. |
CAUTION:
Remove the front floor carpet.
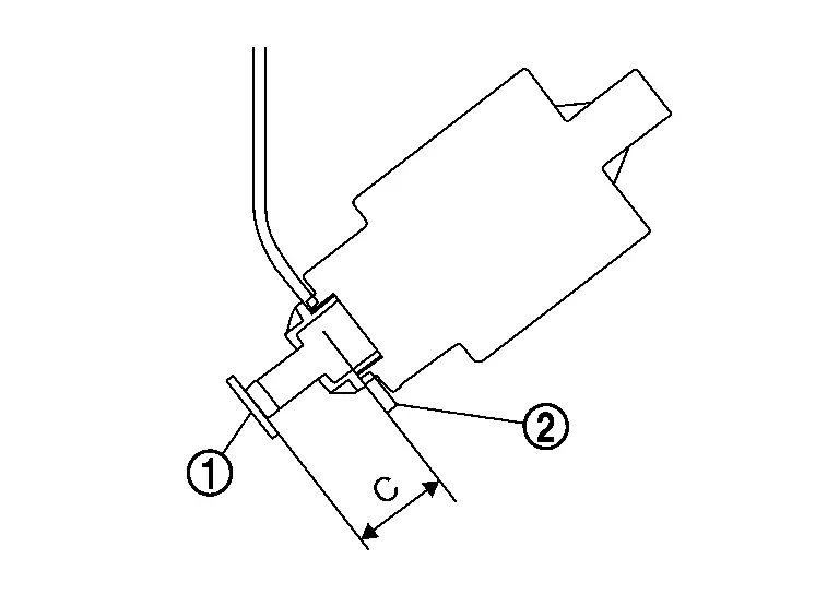
Stop Lamp Switch
Check the clearance (C) among the lever
and the stop lamp switch mounting bracket
.

| C | : Refer to Brake Pedal. |
CAUTION:
The stop lamp must turn off when the brake pedal is released.
NOTE:
Hold the brake pedal pad to make the clearance between the stop lamp switch mounting bracket and brake pedal.
Brake Pedal Play
Press the brake pedal. Check the brake pedal play (A) (stroke until fluid pressure occurs).

| A | : Refer to Brake Pedal. |
Depressed Brake Pedal Height
Check the height between the floor panel
and the brake pedal upper surface (H2) when depressing the brake pedal at 490 N (50 kg, 110 lb) while turning engine ON.

| H2 | : Refer to Brake Pedal. |
CAUTION:
Remove the front floor carpet.
ADJUSTMENT
Brake Pedal Height
Perform the following procedure when brake pedal height is not within the specified value because brake pedal height is not adjustable.
Check the input rod length. Refer to Inspection and Adjustment (without ProPILOT Assist 2.1) or to Electrically-Driven Intelligent Brake Unit (with ProPILOT Assist 2.1).
Replace the brake booster (without ProPILOT Assist 2.1) or the electrically-driven intelligent brake unit (with ProPILOT Assist 2.1) when the input rod length is not the standard.
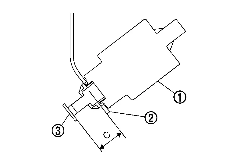
Stop Lamp Switch
Remove instrument lower panel LH. Refer to Removal and Installation.
Disconnect the harness connector from stop lamp switch.
Loosen the stop lamp switch 90° counterclockwise.
The stop lamp switch
penetrate the clip hole of stop lamp switch mounting bracket
and firmly push the stop lamp switch against the lever
.
(Do not touch the pedal during installing stop lamp switch.) And, turn
the stop lamp switch clockwise (about 90°) until the stop lamp switch.

CAUTION:
-
The clearance (C) between the brake pedal bracket and stop lamp switch mounting bracket must be the specified value.
C : Refer to Brake Pedal. -
The stop lamp must be turned off when the brake pedal is released.
Depressed Brake Pedal Height
Perform the air bleeding. Refer to Bleeding Brake System.
Check the height between the floor panel
and the brake pedal upper surface (H2) when depressing the brake pedal at 490 N (50 kg, 110 lb) while turning engine ON.

| H2 | : Refer to Brake Pedal. |
CAUTION:
Remove the front floor carpet.
Other materials:
Symptom Diagnosis. Key Reminder Function Does Not Operate
Diagnosis Procedure
CHECK DOOR SWITCH
Check door switch.
Refer to Component Function Check.
Is the inspection result normal?
YES>>
GO TO 2.
NO>>
Repair or replace the malfunctioning parts.
CHECK UNLOCK SENSOR
Check unlock sensor.
Refer to Diagnosis Procedure.
Is the ins ...
Power Distribution System. Basic Inspection. Diagnosis and Repair Work Flow
Diagnosis and Repair Work Flow
Work Flow
OVERALL SEQUENCEDETAILED FLOWGET INFORMATION FOR SYMPTOM
Get detailed information from the customer about the symptom (the
condition and the environment when the incident/malfunction occurs).
Check operation condition of the function that is mal ...
Basic information
WARNING
Always confirm the liftgate of the Nissan Rogue is securely closed before driving.
Never drive with the liftgate open to prevent exhaust gases from entering the cabin.
Do not leave children, pets, or dependent persons inside the Nissan Rogue unattended.
Keep hands and feet clear of the ...
