Nissan Rogue (T33) 2021-Present Service Manual: Manual Function
System Description
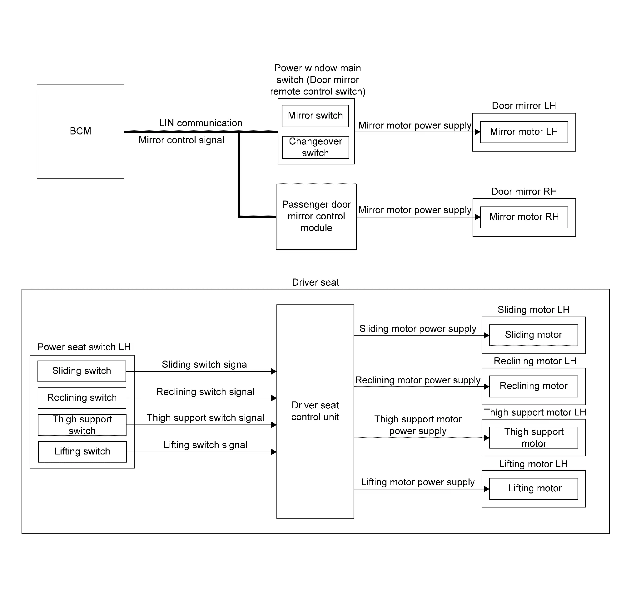
SYSTEM DIAGRAM

| Component | Function | |
|---|---|---|
| Power window main switch (door mirror remote control switch) |
|
|
| Passenger door mirror control module | Operates door mirror RH with the signal from the BCM. | |
| Door mirror LH | Mirror motor | It makes mirror face operate from side to side and up and down with the electric power that power window main switch supplies. |
| Door mirror RH | Mirror motor | It makes mirror face operate from side to side and up and down with the electric power that passenger door mirror control module supplies. |
| BCM |
|
|
| Power seat switch LH | Sliding switch | The operation signal is inputted to driver seat control unit when sliding switch is operated. |
| Reclining switch | The operation signal is inputted to driver seat control unit when reclining switch is operated. | |
| Thigh support switch | The operation signal is inputted to driver seat control unit when thigh support switch is operated. | |
| Lifting switch | The operation signal is inputted to driver seat control unit when lifting switch is operated. | |
| Sliding motor LH | Sliding motor |
|
| Reclining motor LH | Reclining motor |
|
| Thigh support motor LH | Thigh support motor |
|
| Lifting motor LH | Lifting motor |
|
| Driver seat control unit | Refer to Driver Seat Control Unit. | |
DESCRIPTION
The driving position (seat and door mirror position) can be adjusted manually with power seat switch LH and door mirror remote control switch.
Operation procedure
-
Operate power seat switch LH and door mirror remote control switch.
-
The driver seat or door mirror operates according to the operation of each switch.
NOTE:
Seat operates only up to two places at the same time.
DETAIL FLOW
Seat
| Order | Input | Output | Control unit condition |
|---|---|---|---|
| 1 |
Power seat switch LH (Sliding, lifting, reclining, thigh support) |
— | The power seat switch LH signal is inputted to the driver seat control unit when the power seat switch LH is operated. |
| 2 | — |
Motors (Sliding, lifting, reclining, thigh support) |
The driver seat control unit outputs signals to each motor according to the power seat switch LH input signal. |
NOTE:
The power seat can be operated manually regardless of the ignition switch position.
Door Mirror
| Order | Input | Output | Control unit condition |
|---|---|---|---|
| 1 | Door mirror remote control switch | — | The door mirror remote control switch signal received to the BCM via LIN communication when the door mirror remote control switch is operated. |
| 2 | — |
Motor (Door mirror) |
The BCM transmits mirror control signal to power window main switch and passenger door mirror control module via LIN communication and actuates each motor according to the operation of the door mirror remote control switch. |
NOTE:
The door mirrors can be operated manually when ignition switch is ON or OFF (auto ACC status) position.
Other materials:
Basic Inspection. Additional Service When Replacing Power Steering Control Module Control Unit
Work Procedure
DESCRIPTIONWhen replacing the power steering control
module, the procedures of BEFORE REPLACEMENT and AFTER REPLACEMENT must
be performed. For work procedure, refer to the following:
Before power steering control module replacement.
After power steering control module rep ...
Dtc/circuit Diagnosis. B2ccf-04 Passenger Door Mirror Control Module
DTC Description
DTC DETECTION LOGIC DTC No.
CONSULT screen terms
(Trouble diagnosis content) DTC detection condition
B2CCF-04
Passenger door mirror control module
(Passenger door mirror control module)
Diagnosis condition
Ignition switch is ON or OFF (auto ACC status).
Signal ...
Kr15ddt. Preparation. Preparation
Preparation
Commercial Service Tools
HFO-1234yf (R-1234yf) Service Tool and Equipment
Never mix HFO-1234yf (R-1234yf) refrigerant and/or its specified
lubricant with CFC-12 (R-12) or HFC-134a (R- 134a) refrigerant and/or
its lubricant.
Separate and non-interchangeable service equipment ...
