Nissan Rogue (T33) 2021-Present Service Manual: Front Drive Shaft (kr15ddt)
Exploded View
LEFT SIDE

| 1. | Circular clip | 2. | Dust shield | 3. | Housing |
| 4. | Snap ring | 5. | Spider assembly | 6. | Stopper ring |
| 7. | Boot band | 8. | Boot | 9. | Shaft |
| 10. | Damper band | 11. | Dynamic damper | 12. | Circular clip |
| 13. | Joint sub-assembly | 14. | Dust shield | — | — |
![]() |
: Wheel side | ||||
![]() |
1: Fill NISSAN Genuine grease or equivalent. | ||||
![]() |
2: Apply paste [service parts (440037S000)] | ||||
![]() |
: Always replace after every disassembly. | ||||
RIGHT SIDE

| 1. | Dust shield | 2. | Joint sub-assembly | 3. | Circular clip |
| 4. | Boot band | 5. | Boot | 6. | Shaft |
| 7. | Stopper ring | 8. | Spider assembly | 9. | Snap ring |
| 10. | Damper band | 11. | Dynamic damper | 12. | Support bearing bracket |
| 13. | Housing | 14. | Support bearing | 15. | Dust shield |
| A. | Removal and Installation | — | — | ||
![]() |
: Wheel side | ||||
![]() |
1: Fill NISSAN Genuine grease or equivalent. | ||||
![]() |
2: Apply paste [service parts (440037S000)] | ||||
![]() |
: Always replace after every disassembly. | ||||
Removal and Installation
REMOVAL
Left Side
Remove tires. Refer to Removal & Installation.
Remove engine under cover. Refer to Removal and Installation.
Remove lock plate from strut assembly. Refer to Exploded View.
Release stacked area of wheel hub lock nut. Refer to Removal and Installation.
Loosen wheel hub lock nut using a hub lock nut wrench (A) (SST: KV40104000). Refer to Removal and Installation.

Patch hub lock nut with a piece of wood. Hammer the wood to disengage wheel hub from drive shaft.

CAUTION:
-
Never place drive shaft joint at an extreme angle.
-
Also be careful not to overextend slide joint.
-
Never allow drive shaft to hang down without support for joint sub assembly, shaft and the other parts.
NOTE:
Use suitable puller, if wheel hub and bearing assembly and drive shaft cannot be separated even after performing the above procedure.
Remove wheel hub lock nut.
Separate transverse link from steering knuckle (lower side). Refer to Removal and Installation.
Remove drive shaft from wheel hub and bearing assembly.

CAUTION:
-
Never place drive shaft joint at an extreme angle.
-
Be careful not to overextend slide joint.
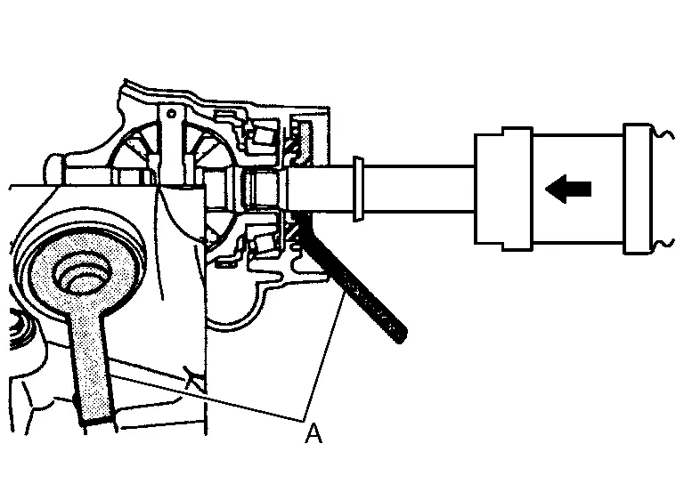
Insert suitable tool (A) between the drive shaft and the transaxle. Remove the drive shaft from the transaxle (LH/RH).

CAUTION:
-
Confirm that the circular clip is attached to the drive shaft.
-
Do not place the drive shaft joint at an extreme angle when removing the drive shaft. Also be careful not to overextend the slide joint.
| Tool (A) | : Drive shaft joint puller (Commercially available) |
Right Side
Remove tires. Refer to Removal & Installation.
Remove engine under cover. Refer to Removal and Installation.
Remove lock plate from strut assembly. Refer to Exploded View.
Release stacked area of wheel hub lock nut. Refer to Removal and Installation.
Loosen wheel hub lock nut using a hub lock nut wrench (A) (SST: KV40104000). Refer to Removal and Installation.

Patch hub lock nut with a piece of wood. Hammer the wood to disengage wheel hub from drive shaft.

CAUTION:
-
Never place drive shaft joint at an extreme angle.
-
Also be careful not to overextend slide joint.
-
Never allow drive shaft to hang down without support for joint sub assembly, shaft and the other parts.
NOTE:
Use suitable puller, if wheel hub and bearing assembly and drive shaft cannot be separated even after performing the above procedure.
Remove wheel hub lock nut.
Separate transverse link from steering knuckle (lower side). Refer to Removal and Installation.
Remove drive shaft from wheel hub and bearing assembly.

CAUTION:
-
Never place drive shaft joint at an extreme angle.
-
Be careful not to overextend slide joint.
If necessary, remove the catalyst bracket, support bearing bracket mounting bolts and the support bearing bracket.
Remove drive shaft from transaxle assembly.
INSTALLATION
Left Side
Note the following, and install in the reverse order of removal.
CAUTION:
Always replace differential side oil seal with new one when installing drive shaft. Refer to Removal and Installation.
-
Place the protector (A) (SST: KV38107900) onto transaxle assembly to prevent damage to the differential side oil seal while inserting drive shaft. Slide drive shaft sliding joint and tap with a hammer to install securely.

WARNING:
Ensure that circular clip is properly engaged, otherwise the joint sub-assembly could pull away from transaxle during Nissan Ariya vehicle operation resulting in loss of drive force and possible drive shaft damage, which may cause a crash and serious injury or damage the drive shaft.
CAUTION:
-
To ensure the circular clip is properly engaged, grasp the housing (1) and pull back and forth in axial direction while listening for clicking sounds.


: Wheel side -
Pull the joint sub-assembly in the axial direction away from transaxle assembly (arrow). Confirm that the joint sub assembly cannot be pulled out.
-
-
Clean the matching surface of wheel hub lock nut and wheel hub and bearing assembly.
CAUTION:
Never apply lubricating oil to these matching surface.
-
Clean the matching surface of drive shaft and wheel hub and bearing assembly. And then apply paste [service parts (440037S000)] to surface (A) of joint sub-assembly of drive shaft.

CAUTION:
Apply paste to cover entire flat surface of joint sub-assembly of drive shaft.
Amount paste : 1.0 – 3.0 g (0.04 – 0.10 oz) -
Tighten the wheel hub lock nut to the specified torque. Refer to Exploded View.
CAUTION:
-
Since the drive shaft is assembled by press-fitting, use the tightening torque range for the wheel hub lock nut.
-
Be sure to use torque wrench to tighten the wheel hub lock nut. Never use a power tool.
-
Never reuse wheel hub lock nut.
-
-
Insert drive shaft to wheel hub, and then temporarily tighten hub lock nut.
CAUTION:
Never overlap drive shaft stacked area (A) and wheel hub bolts (1).

-
Using suitable tool (A) and cold chisel (B) stake the wheel hub lock nut (C) as shown.

WARNING:
To avoid the risk of death or severe personal injury:
-
Use the following range when staking the wheel hub lock nut.

(A) : 6.2 mm (0.244 in) (B) : 26.4 - 27.8 mm (1.039 - 1.094 in) -
Right Side
Note the following, and install in the reverse order of removal.
CAUTION:
Always replace differential side oil seal with new one when installing drive shaft. Refer to Removal and Installation.
-
Place the protector (A) (SST: KV38107900) onto transaxle assembly to prevent damage to the differential side oil seal while inserting drive shaft. Slide drive shaft sliding joint and tap with a hammer to install securely.

-
CAUTION:
Never reuse differential side oil seal.
-
-
When installing support bearing bracket tighten the mounting bolt with the following procedure.
-
To install support bearing bracket (1) and mounting bolts, temporarily tighten the bolts before tightening to the specified torque, referring to the tightening method and the numerical order shown below:

Temporary tightening : 1 → 2 → 3 Final tightening (Specified torque) : 4 → 5 → 6 Bolt 48.0 Nm (4.9 kg-m, 35 ft-lb) CAUTION:
-
Never reuse bolt (A).

-
After inserting the drive shaft (1) into correct position in the bearing bracket (2), completely tighten bolt (A).
-
-
-
Clean the matching surface of wheel hub lock nut and wheel hub and bearing assembly.
CAUTION:
Never apply lubricating oil to these matching surface.
-
Clean the matching surface of drive shaft and wheel hub and bearing assembly. And then apply paste [service parts (440037S000)] to surface (A) of joint sub-assembly of drive shaft.

CAUTION:
Apply paste to cover entire flat surface of joint sub-assembly of drive shaft.
Amount paste : 1.0 – 3.0 g (0.04 – 0.10 oz) -
Tighten the wheel hub lock nut to the specified torque. Refer to Exploded View.
CAUTION:
-
Since the drive shaft is assembled by press-fitting, use the tightening torque range for the wheel hub lock nut.
-
Be sure to use torque wrench to tighten the wheel hub lock nut. Never use a power tool.
-
Never reuse wheel hub lock nut.
-
-
Insert drive shaft to wheel hub, and then temporarily tighten hub lock nut.
CAUTION:
Never overlap drive shaft stacked area (A) and wheel hub bolts (1).

-
Using suitable tool (A) and cold chisel (B) stake the wheel hub lock nut (C) as shown.

WARNING:
To avoid the risk of death or severe personal injury:
-
Use the following range when staking the wheel hub lock nut.

(A) : 6.2 mm (0.244 in) (B) : 26.4 - 27.8 mm (1.039 - 1.094 in) -
Disassembly and Assembly
DISASSEMBLY
Transaxle Assembly Side
Fix shaft with a vise.
CAUTION:
Protect shaft using aluminum or copper plates when fixing with a vise.
Remove boot bands, and then remove boot from housing.
Remove stopper ring.
Put matching marks on housing and shaft, and then pull out housing from shaft.
CAUTION:
Use paint or an equivalent for matching marks. Never scratch the surfaces.
Put matching marks (A) on the spider assembly and shaft.

CAUTION:
Use paint or an equivalent for matching marks. Never scratch the surfaces.
Remove snap ring (1), and then remove spider assembly from shaft.

Remove boot from shaft.
Remove circular clip from housing (left side).
Remove dust shield from housing.
Remove damper band, and then remove dynamic damper from shaft.
Clean old grease on housing with paper waste.
Support Bearing
Remove dust shield from housing.

Remove snap ring (1).

Press out support bearing from housing.

Remove dust shield.
Wheel Side
Fix shaft with a vise.
CAUTION:
Protect shaft using aluminum or copper plates when fixing with a vise.
Remove boot bands, and then remove boot from joint sub-assembly.
Screw drive shaft puller (A) (commercial service tool) into joint sub-assembly screw part to a length of 30 mm (1.18 in) or more. Support drive shaft with one hand and pull out joint sub-assembly from shaft.

CAUTION:
-
If joint sub-assembly cannot be removed after five or more unsuccessful attempts, replace shaft and joint sub assembly as a set.
-
Align sliding hammer and drive shaft and remove them by pulling directory.
Remove circular clip from shaft.
Remove boot from shaft.
Clean old grease on joint sub-assembly with paper towels while rotating ball cage.
ASSEMBLY
Transaxle Assembly Side
Install dynamic damper and damper band to shaft.
CAUTION:
-
Just pass the damper band through the joint sub-assembly, never tighten yet.
-
Never reuse damper band.
Wrap serration on shaft with tape (A) to protect boot from damage. Install new boot and boot bands to shaft.

CAUTION:
Never reuse boot and boot band.
Remove the tape wrapped around the serration on shaft.
To install the spider assembly (1), align it with the matching marks (A) on the shaft (2) put during the removal, and direct the serration mounting surface (B) to the shaft.

Secure spider assembly onto shaft with snap ring (1).

CAUTION:
Never reuse snap ring.
Apply the appropriate amount of grease to spider assembly and sliding surface.
Assemble the housing onto spider assembly, and apply the balance of the specified amount grease.
| Grease amount | : Refer to Drive Shaft (KR15DDT). |
Align matching marks put during the removal of housing.
Install stopper ring.
CAUTION:
Never reuse stopper ring.
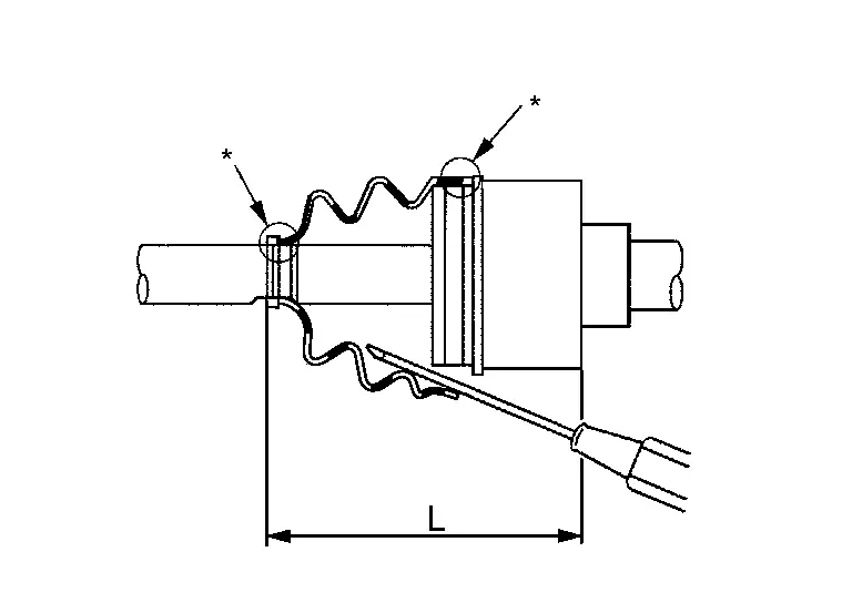
Install boot securely into grooves (indicated by “*” marks) shown in the figure.

CAUTION:
If grease adheres to the boot mounting surface (indicated by “*” mark) on shaft or housing, boot may be removed. Remove all grease from the surface.
To prevent from deformation of the boot, adjust the boot installation length to the value shown below (L) by inserting the suitable tool into the inside of boot from the large diameter side of boot and discharging inside air.
| L | : Refer to Drive Shaft (KR15DDT). |
CAUTION:
-
If the boot installation length exceeds the standard, it may cause breakage in boot.
-
Be careful not to touch the inside of the boot with the tip of tool.
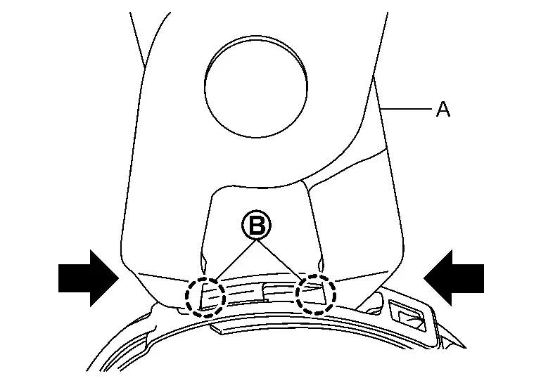
Secure the small end of the boot with boot bands using the boot band crimping tool (A) (SST: KV40107300).

CAUTION:
Never reuse boot band.
NOTE:
Secure boot band so that dimension (M) meets the specification as shown in the figure.
| M | : 1.0 – 4.0 mm (0.039 – 0.157 in) |

Secure the large end of the boot with boot band.
CAUTION:
Never reuse boot band.
Set boot band to the drive shaft boot groove and temporarily fix pawl
of boot band to
of boot band.

with boot band crimping tool (SST: KV40107310) (A) in the direction shown by arrows (
).

CAUTION:
Securely install boot band
to boot band pawl
.

Secure housing and shaft, and then make sure that they are in the correct position when rotating boot. Install them with new boot band when the mounting positions become incorrect.
Install dust shield (left side).
CAUTION:
Never reuse dust shield.
Install circular clip to housing (left side).
CAUTION:
Never reuse circular clip.
Secure dynamic damper, follow the procedure described below.Secure dynamic damper with damper bands in the following specified position (A) when installing.

| A | : Refer to Drive Shaft (KR15DDT). |
of damper band to
of damper band.

with boot band crimping tool (SST: KV40107310) (A) in the direction shown by arrows (
).

CAUTION:
Securely install damper band
to damper band pawl
.

Support Bearing
Install dust shield on housing.
CAUTION:
Never reuse dust shield.
Press support bearing (1) onto housing to using the suitable tool (A).

Install snap ring.
CAUTION:
Never reuse snap ring.
Install dust shields.

CAUTION:
Never reuse dust shields.
Wheel Side
For further details, refer to the installation procedure of “Removal and Installation” for the drive shaft boot.
Inspection
INSPECTION AFTER REMOVAL
-
Move joint up/down, left/right, and in the axial directions. Check for motion that is not smooth and for significant looseness.
-
Check boot for cracks, damage, and leakage of grease.

-
Disassemble drive shaft and exchange malfunctioning part if there is a non-standard condition.
INSPECTION AFTER DISASSEMBLY
Shaft
Check shaft for runout, cracks, or other damage. Replace if there are.
Dynamic Damper
Check dynamic damper for cracks or wear. Replace if necessary.
Joint Sub-Assembly (Wheel Side)
Check the following:
-
Joint sub-assembly for rough rotation and excessive axial looseness
-
The inside of the joint sub-assembly for entry of foreign material
-
Joint sub-assembly for compression scars, cracks, and fractures inside of joint sub-assembly
Replace joint sub-assembly if there are any non-standard conditions of components.
Housing and Spider assembly (Transaxle Side)
Replace housing and spider assembly if there is scratching or wear of housing roller contact surface or spider roller contact surface.
NOTE:
Housing and spider assembly are used in a set.
Support Bearing (Right Side)
Make sure wheel bearing rolls freely and is free from noise, cracks, pitting or wear. Replace support bearing if there are any non-standard conditions.
Support Bearing Bracket (Right Side)
Check for bending, cracks, or damage. Replace support bearing bracket if there are any non-standard conditions.
INSPECTION AFTER INSTALLATION
Check wheel sensor harness for proper connection. Refer to Exploded View.
Check the wheel alignment. Refer to Inspection.
Adjust neutral position of steering angle sensor. Refer to Work Procedure.
Other materials:
Système de freinage
Précautions relatives au freinage
Informations de base
Le système de freinage du Nissan Rogue est constitué de deux circuits hydrauliques distincts. En cas de dysfonctionnement affectant l’un de ces circuits, la capacité de freinage reste assurée sur les deux autres roues, ce qui permet de ...
Basic Inspection. Configuration
Description
Vehicle specification needs to be written with CONSULT because it is
not written after replacing the power steering control module.The
configuration requires network connection. CONSULT connects to network
and then it downloads the configuration data from the server. Then
CONSUL ...
Combination Meter
Reference Value
VALUES ON THE DIAGNOSIS TOOLNOTE:
The following table includes information (items)
inapplicable to this Nissan Ariya vehicle. For information (items)
applicable to this vehicle, refer to CONSULT display items.
Monitor Item Condition Value/Status
SPEED METER
[mph or km/ ...



