Nissan Rogue (T33) 2021-Present Service Manual: Vehicle Security System
System Description
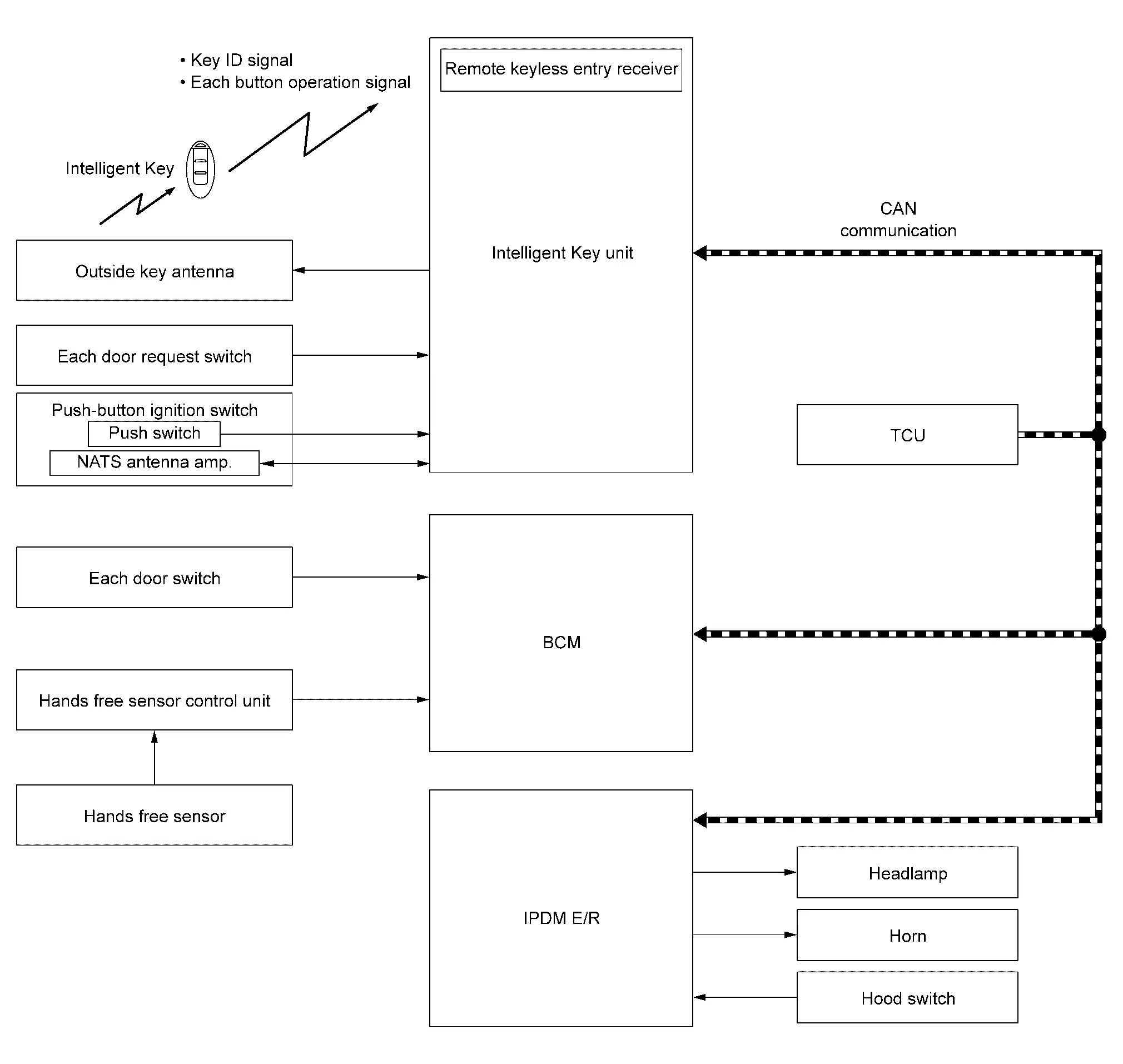
SYSTEM DIAGRAM

| Component | Function |
|---|---|
| Door switch | Door switch detects door open/close condition and then transmits door switch signal to BCM. |
| IPDM E/R |
|
| BCM |
|
| Push-button ignition switch |
|
| Intelligent Key | The Intelligent Key system is a system that makes it possible to lock and unlock the door locks (door lock/unlock function) by carrying the Intelligent Key, which operates based on the results of electronic ID verification using two-way communication between the Intelligent Key and the Nissan Ariya vehicle (Intelligent Key unit). |
| Outside key antenna | Outside key antenna detects whether Intelligent Key is within the detection area or not, and then transmits signal to Intelligent Key unit. |
| Door request switch | Door request switch transmits door lock/unlock request signal to Intelligent Key unit. |
| Hood switch | Refer to Hood Switch. |
| Horn |
|
| Intelligent Key unit | Intelligent Key unit performs the ID verification between Intelligent Key unit and Intelligent Key when the Intelligent Key is carried into the detection area of NATS antenna amp., and push-button ignition switch is pressed. If the ID verification result is OK, ignition switch operation is available. |
| TCU | TCU transmits panic alarm request signal to BCM when panic alarm request is received from Infiniti ConnectionTM date center. |
| Headlamp | Panic alarm function activates headlamps intermittently when operating a cellular phone using the Telematics system function. |
| Hands free sensor control unit | Hands free sensor control unit judges user operation by detecting the hands free sensor. |
| Hands free sensor | Hands free sensor detects when the user performs kick motion toward rear bumper. |
BCM INPUT/OUTPUT SIGNAL CHART
Input Signal Item
| Transmit unit | Signal name | |
|---|---|---|
| IPDM E/R | CAN communication | Hood switch signal |
| TCU | Panic alarm request signal | |
| Remote keyless entry receiver |
|
|
| Push-button ignition switch | Push switch signal | |
| Each door switch | Door switch signal | |
| Each door request switch | Door request switch signal | |
| Hands free sensor control unit | Hands free sensor signal | |
Output Signal Item
| Reception unit | Signal name | |
|---|---|---|
| IPDM E/R | CAN communication |
|
| Outside key antenna | Outside key antenna signal | |
SYSTEM DESCRIPTION
-
The vehicle security system has two alarm functions (theft warning alarm and panic alarm), and reduces the possibility of a theft or mischief by activating horns and headlamps intermittently.
-
The panic alarm does not start when the theft warning alarm is activating, and the panic alarm stops when the theft warning alarm is activated.
The priority of the functions are as per the following.
Priority Function 1 Theft warning alarm 2 Panic alarm
THEFT WARNING ALARM
The theft warning alarm function activates horns and headlamps intermittently when BCM detects that any door, hood or back door is opened by unauthorized means, while the system is in the ARMED state.
Operation Flow

| No. | System state | Switching condition | ||
|---|---|---|---|---|
![]() |
DISARMED to PRE-ARMED | When all conditions of A and one condition of B is satisfied. | A | B |
|
All doors are locked by:
|
|||
![]() |
PRE-ARMED to ARMED | When none of the following conditions are satisfied for 30 seconds. |
|
|
![]() |
ARMED to ALARM | When one of the following condition is satisfied. |
|
|
![]() |
PRE-ARMED to DISARMED | When one of the following condition is satisfied. |
|
|
![]() |
ARMED to DISARMED |
|||
![]() |
ALARM to DISARMED |
|||
![]() |
RE-ALARM | When one of the following condition is satisfied after the ALARM operation is finished. |
|
|
NOTE:
To lock/unlock all doors by operating remote controller button of Intelligent Key or door request switch, Intelligent Key must be within the detection area of outside key antenna. For details, refer to System Description.
DISARMED Phase
The vehicle security system is not set in the DISARMED phase. The vehicle security system stays in this phase while Any door other than back door is open, because it is assumed that the owner is inside or nearby the Nissan Ariya vehicle.
When the vehicle security system is reset, each phase switches to the DISARMED phase directly.
PRE-ARMED Phase
The PRE-ARMED phase is the transient state between the DISARMED phase and the ARMED phase. This phase is maintained for 30 seconds, so that the owner can reset the setting due to a mis-operation. This phase switches to the ARMED phase when Nissan Ariya vehicle conditions are not changed for 30 seconds.
To reset the PRE-ARMED phase, refer to the switching condition of No. 4 in the table above.
ARMED Phase
The vehicle security system is set, and BCM monitors all necessary inputs. If any door or hood is opened without using Intelligent Key, Nissan Ariya vehicle security system switches to the ALARM phase.
To reset the ARMED phase, refer to the switching condition of No. 5 in the table above.
ALARM Phase
BCM transmits “horn request” signal and “High Beam Request” signal intermittently to IPDM E/R via CAN communication. In this phase, horns and headlamps are activated intermittently for approximately 27 seconds to warn that the Nissan Ariya vehicle is accessed by unauthorized means. After 27 seconds, the vehicle security system returns to the ARMED phase. At this time, if BCM still detects unauthorized access to the Nissan Ariya vehicle, the system is switched to the ALARM phase again. This RE-ALARM operation is carried out a maximum of 3 times.
To cancel the ALARM operation, refer to the switching condition of No. 6 in the table above.
NOTE:
If a battery terminal is disconnected during the ALARM phase, theft warning alarm stops. But when the battery terminal is reconnected, theft warning alarm is activated again.
PANIC ALARM
-
The panic alarm function activates horns and headlamps intermittently when the owner presses the PANIC ALARM button of Intelligent Key outside the Nissan Ariya vehicle while the ignition switch is OFF.
-
When BCM receives panic alarm signal from Intelligent Key, BCM transmits “horn request” signal and “High Beam Request” signal intermittently to IPDM E/R via CAN communication. To prevent the activation due to mis-operation of Intelligent Key by owner, the panic alarm function is activated when BCM receives the signal for 0.4 - 0.6 seconds.
-
Panic alarm operation is maintained for approximately 27 seconds.
-
Panic alarm operation is canceled when BCM receives one of the following signals.
-
LOCK button of Intelligent Key: ON
-
UNLOCK button of Intelligent Key: ON
-
PANIC ALARM button of Intelligent Key: Pressed
-
Any door request switch: ON
-
-
Telematics system (horn & light) activates horns or horns and headlamps intermittently by Smartphone while the ignition switch is OFF.
-
Telematics system (horn & light) is operated 3 times for a total duration of approximately 15 seconds.
-
Telematics system (horn & light) operation is canceled when ignition switch ON.
Other materials:
2wd. Symptom Diagnosis. Noise, Vibration and Harshness (nvh) Troubleshooting
Noise, Vibration and Harshness (nvh) Troubleshooting
NVH Troubleshooting Chart
Use chart below to find the cause of the symptom. If necessary, repair or replace these parts. Possible cause and SUSPECTED PARTS Symptom Reference
REAR AXLE
Noise Shake Vibration Shimmy Judder Poor quality ...
Crevaison
Système de contrôle de la pression des
pneus (TPMS)
Ce véhicule Nissan Rogue est équipé du système de contrôle de la pression des pneus (TPMS), conçu pour assister le conducteur dans la surveillance permanente de la pression des pneumatiques afin d’améliorer la sécurité, la stabilité ...
NissanConnect Owner's Manual
For models equipped with the advanced NissanConnect System found in the Nissan Rogue, you can access the full digital NissanConnect Owner's Manual using the QR code on this page (US only) or refer to the printed version if supplied. This dedicated manual provides detailed guidance for operating th ...







