Nissan Rogue (T33) 2021-Present Service Manual: System Description :: System
System Description
-
The electric parking brake system uses the signal from the parking brake switch to have the ABS actuator and electric unit (control unit) operate the parking brake actuator to apply and release the parking brake.
-
The parking brake switch is placed in the console finisher so that it can be operated close at hand (applied/released).
-
When the parking brake is operated, the electric parking brake indicator lamp in the combination meter and the parking brake switch indicator turn ON.
-
When the parking brake is released, the electric parking brake indicator lamp in the combination meter and the parking brake switch indicator turn OFF.
-
When a malfunction occurs in the electric parking brake system, electric parking brake warning lamp turn ON, electric parking brake indicator lamp turn ON/OFF (depends on the electric parking brake system) or blink, and parking brake switch indicator turn ON/OFF (depends on the electric parking brake system) or blink, and the function for entering the fail-safe status is held.
-
When a malfunction occurs in the electric parking brake system, the parking brake can be mechanically released. Refer to Diagnosis Procedure.
OPERATION
-
When the parking brake switch is pulled, a parking brake operation switch signal is transmitted from the ABS actuator and electric unit (control unit) to the parking brake actuator.
-
When the parking brake actuator receives a parking brake switch signal, it activates the motor in the parking brake actuator.
-
When the motor is operated, rotating torque is generated, and transmitted to the piston in the parking brake actuator of the rear brake caliper via gears in parking brake actuator.
-
The piston is pushed out by the rotating torque, and the parking brake operates by pressing the brake pad against the disc rotor.
RELEASE
-
When the parking brake switch is pushed, a parking brake release switch signal is transmitted from the ABS actuator and electric unit (control unit) to the parking brake actuator.
-
When a parking brake switch signal is input, the motor in the parking brake actuator rotates in reverse and pulls back the piston of the rear brake caliper.
-
By pulling back the piston of the rear brake caliper, the brake pad and disc rotor are released as with the normal brakes, and the parking brake is released.
-
When the motor is operated, rotating torque is generated, and transmitted to the piston in the parking brake actuator of the rear brake caliper via gears in parking brake actuator.
SYSTEM DIAGRAM

INPUT SIGNAL AND OUTPUT SIGNAL
Major signal transmission between each unit via communication lines is shown in the following table:
| Component | Signal description |
|---|---|
| ABS actuator and electric unit (control unit) | Refer to ABS Actuator and Electric Unit (Control Unit). |
| Parking brake actuator | Refer to Parking Brake Actuator. |
| Parking brake switch | Refer to Parking Brake Switch. |
| ECM |
Mainly transmits the following signals to ABS actuator and electric unit (control unit) via CAN communication:
|
| TCM |
Mainly transmits the following signals to ABS actuator and electric unit (control unit) via CAN communication:
|
| IPDM E/R |
Mainly transmits the following signals to ABS actuator and electric unit (control unit) via CAN communication:
|
| BCM |
Mainly transmits the following signals to ABS actuator and electric unit (control unit) via CAN communication:
|
| Combination meter |
Mainly receives the following signals from ABS actuator and electric unit (control unit) via CAN communication:
|
| Chassis control module |
Mainly transmits the following signals to ABS actuator and electric unit (control unit) via CAN communication:
Mainly receives the following signals from ABS actuator and electric unit (control unit) via CAN communication:
|
ELECTRIC PARKING BRAKE OPERATION
Normal Operation

-
When the parking brake switch is pulled while the vehicle is stopped, the parking brake operates. (The motor in the parking brake actuator starts generating rotating torque.)
-
When the parking brake braking force reaches the prescribed value (rotating torque generated by the motor in the parking brake actuator), the electric parking brake indicator lamp turns ON.
-
When the auto ACC is OFF, the electric parking brake indicator lamp is turn OFF.
NOTE:
The braking force of parking brake remains to be held.
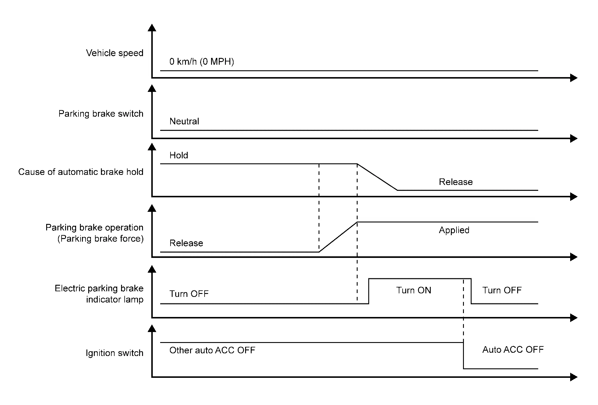
Changing from Automatic Brake Hold to Parking Brake

NOTE:
For automatic brake hold. Refer to System Description.
-
If any of the following conditions are met, parking brake operates automatically: (The braking method for stopping the Nissan Ariya vehicle is changed from automatic brake hold to parking brake.)
-
Automatic brake hold operates for approximately 3 minutes
-
Driver seat belt is unfastened while automatic brake hold is being applied
-
Ignition switch is OFF
-
A malfunction is detected in automatic brake hold
-
Driver side door is open
-
-
When the parking brake effectiveness reaches the specified value, electric parking brake indicator lamp turns ON.
-
When the auto ACC is OFF, the electric parking brake indicator lamp is turn OFF.
NOTE:
The braking force of parking brake remains to be held.
Normal Release (Ignition switch ON)

-
The parking brake is released when the parking brake switch is pushed while the brake pedal is depressed, the ignition switch is ON, and the parking brake is operating.
NOTE:
-
Parking brake is not released if only parking brake switch is pushed.
-
The parking brake can be released by placing ON the ignition switch and pushing the parking brake switch while depressing the brake pedal.
-
-
When release of the parking brake is completed (it means no rotating torque generated by the motor in the parking brake actuator), the electric parking brake indicator lamp turns OFF.
Normal Release (Other ignition switch ON)

-
The parking brake cannot be released if only parking brake switch is pushed while the ignition switch is OFF, the parking brake is applied, and the brake pedal is depressed.
NOTE:
-
Parking brake is not released if only parking brake switch is pushed.
-
The parking brake can be released by placing ON the ignition switch and pushing the parking brake switch while depressing the brake pedal.
-
-
The electric parking brake indicator lamp turns OFF.
NOTE:
The braking force of parking brake remains to be held.
Automatic Release

-
The parking brake automatically releases under the following conditions:
-
Engine running
-
The electric shift selector is in the D or R position
-
Driver side door is close
-
The accelerator pedal is depressed
-
When engine torque necessary for travelling is generated
-
-
When release of the parking brake is completed (it means no rotating torque generated by the motor in the parking brake actuator), the electric parking brake indicator lamp turns OFF.
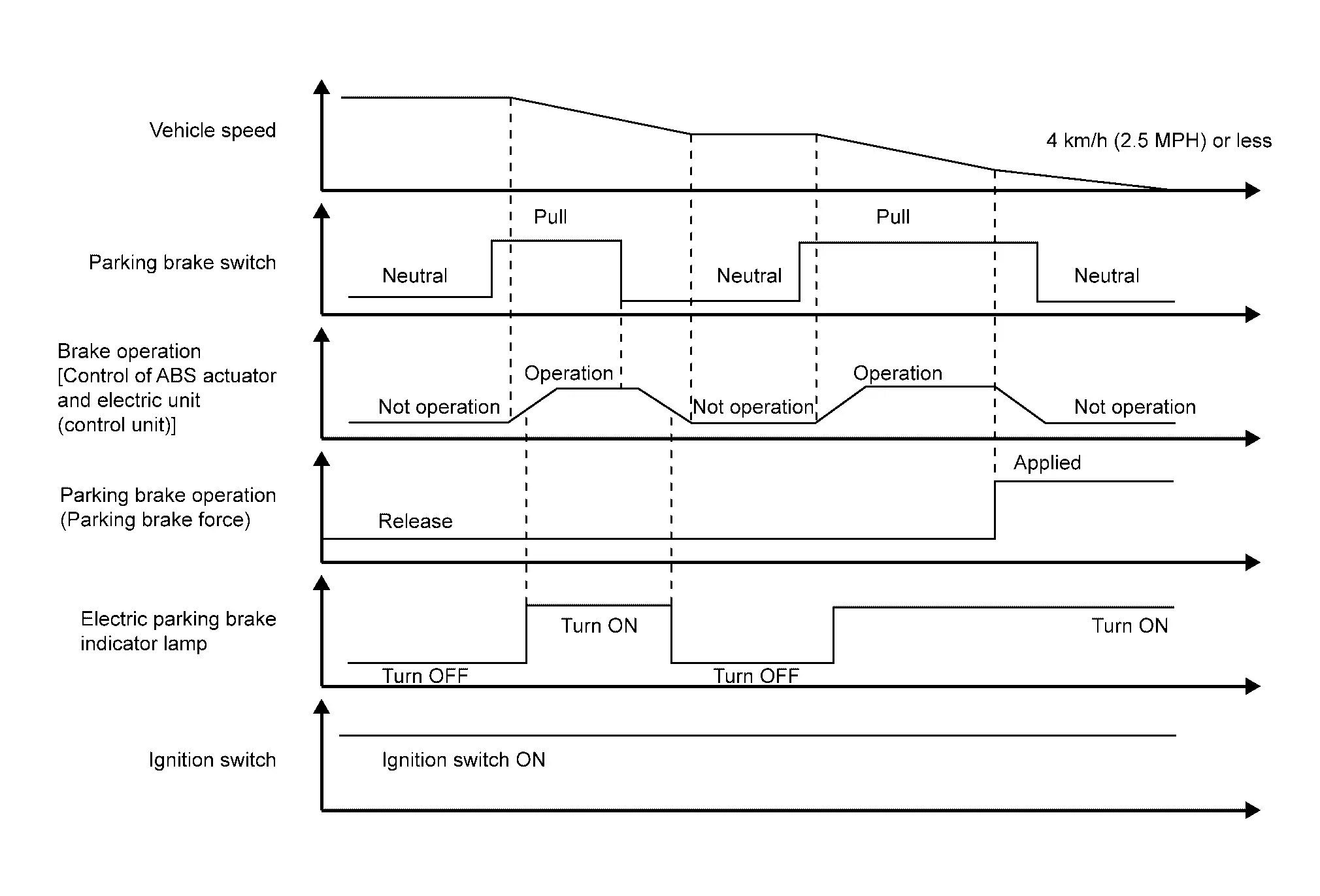
Driving

-
When parking brake switch is pulled while the vehicle is stopping [Vehicle speed is 2.5 MPH (4 km/h) or less.], the electric parking brake starts the operation (the motor in the parking brake actuator starts the rotation). And then the electric parking brake indicator lamp is turned ON.
-
When the parking brake switch is pulled while travelling, a command is transmitted to the ABS actuator and electric unit (control unit), and it applies brake on four wheels to reduce Nissan Ariya vehicle speed.
NOTE:
-
If ABS actuator and electric unit (control unit) cannot operate, the electric parking brake system brakes rear wheels by the parking brake actuator. And then Nissan Ariya vehicle speed is decelerated.
-
When the parking brake switch is released, the ABS actuator and electric unit (control unit) releases the brakes.
-
During the brake operation (deceleration) by the ABS actuator and electric unit (control unit), the status becomes as follows:
-
Electric parking brake indicator lamp and master warning lamp are turned ON.
-
Buzzer beeps.
-
“Release parking brake” is shown on the information display of the combination meter.
-
Stop lamp is turn ON.
-
If the electric parking brake switch is still pulled after the Nissan Ariya vehicle speed decelerates 2.5 MPH (4 km/h), the braking operation is switched from control by the ABS actuator and electric unit (control unit).
-
-
CONDITION FOR TURN ON THE WARNING LAMP, THE INDICATOR LAMP AND INFORMATION DISPLAY
Place ON when ignition switch ON and turns OFF when the system is normal, for bulb check purposes.
| Condition (status) | Electric parking brake indicator lamp (in combination meter) | Master warning lamp (red) (in combination meter) | Electric parking brake warning lamp(in combination meter) | Parking brake switch indicator lamp (in parking brake switch) | Information display (in combination meter) |
|---|---|---|---|---|---|
| Electric parking brake system is operating | ON | OFF | OFF | ON | — |
| Electric parking brake system is released | OFF | OFF | OFF | OFF | — |
| Electric parking brake system is malfunctioning | ON/OFF (Depends on the status of the electric parking brake system.) | OFF | ON | ON/OFF (Depends on the status of the electric parking brake system.) | — |
| The parking brake switch is pushed without depressing the brake pedal. | ON | OFF | OFF | ON | Press brake pedal |
| The automatic release is applied during driving by depressing the accelerator pedal with the door open, and the engine running. | ON | OFF | OFF | ON | Release parking brake |
| The parking brake is operated with the parking brake switch kept pulled during driving. | ON | ON | OFF | ON | Release parking brake |
| Braking force is measured. | ON | OFF | OFF | ON | — |
| The parking brake braking force is insufficient (Nissan Ariya vehicle is moving backward). | Blinking | ON | ON | Blinking | Press brake pedal |
| The combination meter cannot receive signals from the ABS actuator and electric unit (control unit) via CAN communication. | Blinking | OFF | ON | ON/OFF (Depends on the status of the electric parking brake system.) | — |
| A malfunction of the parking brake switch is detected. | ON/OFF (Depends on the status of the electric parking brake system.) | OFF | ON | ON/OFF (Depends on the status of the electric parking brake system.) | — |
| The parking brake switch is operated while a malfunction of the parking brake switch is detected. | Blinking | OFF | ON | Blinking | — |
| Release of the parking brake is inhibited detecting malfunctions of other control units. | ON/OFF (Depends on the status of the electric parking brake system.) | OFF | ON | ON/OFF (Depends on the status of the electric parking brake system.) | — |
| Electric parking brake system does not operate (malfunction check not possible). | Blinking | OFF | ON | Blinking | — |
Warning/indicator/chime List
Warning Lamp/Indicator Lamp
FOR USA
| Name | Design | Layout/Function |
|---|---|---|
| Electric parking brake indicator lamp | ![]() |
For layout
|
|
For function
|
||
| Electric parking brake warning lamp | ![]() |
For layout
|
|
For function
|
EXCEPT FOR USA
| Name | Design | Layout/Function |
|---|---|---|
| Electric parking brake indicator lamp | ![]() |
For layout: Refer to Design. |
| For function: Refer to Electric Parking Brake Indicator Lamp. | ||
| Electric parking brake warning lamp | ![]() |
For layout: Refer to Design. |
| For function: Refer to Electric Parking Brake Warning Lamp. |
Information Display (combination Meter)
Parking Brake Warning
DESIGN/PURPOSE
-
Warns the driver of the necessity of depressing the brake pedal.
-
Warns the driver of the necessity of releasing the parking brake.
Warning Message
| Design | Warning Message |
|---|---|
| — | Press brake pedal |
| — | Release parking brake |
SYNCHRONIZATION WITH MASTER WARNING LAMP
Applicable
-
Full TFT meter: Refer to Master Warning Lamp.
-
7 inch information display: Refer to Master Warning Lamp.
SYNCHRONIZATION WITH WARNING CHIME
Applicable
Refer to System Description.
SYSTEM DIAGRAM

SIGNAL PATH
The ABS actuator and electric unit (control unit) transmits a signal to the combination meter via CAN communication under the conditions bellow:
-
When necessary to depress the brake pedal.
-
When necessary to release the parking brake.
WARNING/INDICATOR OPERATING CONDITION
When the following conditions are satisfied (ignition switch ON):
-
The parking brake switch is pushed without depressing the brake pedal.
-
The parking brake is operated with the parking brake switch kept pulled during driving.
-
The parking brake braking force is insufficient (Nissan Ariya vehicle is moving backward).
-
When the vehicle is moving.
Other materials:
Basic information
WARNING
Always confirm the liftgate of the Nissan Rogue is securely closed before driving.
Never drive with the liftgate open to prevent exhaust gases from entering the cabin.
Do not leave children, pets, or dependent persons inside the Nissan Rogue unattended.
Keep hands and feet clear of the ...
Automatic air conditioner (models with rear control)
Basic information
Temperature control dial (driver's side)
AUTO button
Air recirculation button
Outside air button
Display screen
SYNC button
Temperature control dial (passenger's side)
ON·OFF button
Rear temperature control buttons
Fan speed buttons
Air flow button
Front defr ...
Fuel information
Basic information
Use unleaded regular gasoline with an octane rating of at least 87 AKI (Anti-Knock Index) number (Research octane number 91), as recommended for your Nissan Rogue.
CAUTION
Using a fuel other than specified may negatively affect the emission control system of your Nissan Rogue an ...



