Nissan Rogue (T33) 2021-Present Service Manual: System Description :: Component Parts
Seat Belt Pre-tensioner with Load Limiter
DESCRIPTION
The seat belt system is equipped with pre-tensioner mechanism, load limiter mechanism, and ELR mechanism.
STRUCTURE

![]() |
ELR shaft (torsion bar) | ![]() |
Bobbin | ![]() |
Lock portion |
![]() |
Ring gear | ![]() |
Pinion gear | ![]() |
Gas generator |
![]() |
Sealing element | ![]() |
Stopper | ![]() |
Spacer |
![]() |
Snake | ![]() |
Pipe | ||
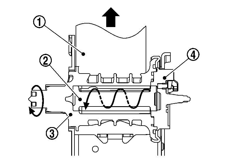
![]() |
Pre-tensioner mechanism cross section | ![]() |
ELR mechanism portion cross section |
PRE-TENSIONER MECHANISM
-
In a frontal collision that exceeds the specified limit, air bag sensor unit detects the collision, transmits an electrical signal to gas generator
in manifold case, and activates gas generator. Gas is generated.

Pre-tensioner mechanism cross section 
ELR mechanism portion cross section -
The pressure of the generated gas moves the snake
inside of pipe
. The snake then presses ring gear
which is engaged to the pinion gear
. -
The rotation of the ring gear rotates the ELR shaft
in the retracting direction of the seat belt. Seat belt is retracted.
LOAD LIMITER (ELR) MECHANISM
-
In a collision, when ELR shaft
is locked, a load caused by impact is applied to webbing
.
-
When a load is continuously applied to webbing and reaches or exceeds the specified level, a rotating force is applied to ELR shaft that is engaged to lock portion
and bobbin
. ELR shaft twists. -
As ELR shaft is twisted, webbing is pulled out while keeping a certain level of tension and easing the impact to the chest of front seat passenger.
Double Pre-tensioner Seat Belt
DESCRIPTION
The system combines lap pre-tensioner mechanism for lumbar seat belt and pre-tensioner seat belt with load limiter. The system upgrades passenger restraint by reducing lumbar movement during a frontal collision.
STRUCTURE

![]() |
Gas generator | ![]() |
Wire | ![]() |
Piston |
![]() |
Pipe | ![]() |
Lap anchor | ![]() |
Seat belt |
LAP PRE-TENSIONER MECHANISM
-
In a frontal collision that exceeds the specified limit, air bag sensor unit detects the collision, transmits an electrical signal to gas generator in pipe, and activates gas generator. Gas is generated. The pressure of the generated gas moves the piston inside of pipe toward pipe front direction, and retracts wire.
-
Lap anchor is installed to end of the wire and end of seat belt is connected to lap anchor. The wire therefore retracts seat belt.
-
When piston stops, clutch mechanism integrated to piston prevents piston from moving in the original direction. Wire and lap anchor therefore remain in the retracted status.
Other materials:
Intake Camshaft Position Sensor
Component Inspection
CHECK INTAKE CAMSHAFT POSITION SENSOR -1
Turn ignition switch OFF.
Loosen the fixing bolt of the sensor.
Disconnect intake camshaft position sensor harness connector.
Remove the sensor.
Visually check the sensor for chipping.
Is the inspection re ...
Precaution. Precautions
PRECAUTIONS FOR SUPPLEMENTAL RESTRAINT SYSTEM (SRS) AIR BAG AND SEAT BELT PRE-TENSIONER
: Precautions
The Supplemental Restraint System such as “AIR BAG” and “SEAT BELT
PRE-TENSIONER”, used along with a front seat belt, helps to reduce the
risk or severity of injury t ...
Fonctionnement du système d'intervention de changement de voie intelligent
Témoin d'activation du système d'intervention de changement de voie intelligent (sur l'écran d'informations du véhicule)
Témoin du système d'intervention de changement de voie intelligent (sur l'écran d'informations du véhicule)
Écran d'informations du véhicule et commande P ...





