Nissan Rogue (T33) 2021-Present Service Manual: Service Data and Specifications (sds)
Steering Wheel
| Item | Standard |
|---|---|
| Steering wheel axial end play | 0 mm (0 in) |
| Steering wheel play on the outer circumference | 0 – 35 mm (0 – 1.38 in) |
| Steering wheel turning force | 34 N (3.5 kg-f, 7.6 lb-f) or less |
Steering Angle
| Item | Standard | ||
|---|---|---|---|
| Inner wheel | Minimum | 35° 10′ (35.17°) | |
| Nominal | 38° 10′ (38.17°) | ||
| Maximum | 39° 10′ (39.16°) | ||
| Outer wheel | 31° 55′ (31.92°) | ||
Steering Column
| Item | Standard |
|---|---|
| Steering column length minimum (Telescope in)* | 374.8 mm (14.76 in) |
| Tilt operating range* | ± 25 mm (0.98 in) |
| Telescopic operating range* | ± 30 mm (1.18 in) |
| Rotating torque | 0 – 0.4 N·m (0 – 0.04 kg-m, 0 – 4 in-lb) |
*: For measuring position, Refer to Inspection.
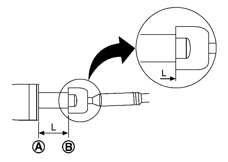
Steering Gear and Linkage
| Item | Standard | |||
|---|---|---|---|---|
|
: Inner socket end |
||||
| Rack stroke neutral position (L) | 37.6 mm (1.480 in) | |||
| Rack stroke (Full stroke) | 156 mm (6.14 in) | |||
| Item | Standard | |||
|---|---|---|---|---|
| Outer socket ball joint | Swing force* (Spring balance measurement) |
4.0 – 41.0 N (0.41 – 4.18 kg-f, 0.90 – 9.21 lb-f) | ||
| Ball joint rotating torque | 0.3 – 3.5 N·m (0.03 – 0.36 kg-m, 3 – 31 in-lb) | |||
| Axial end play | 0.5 mm (0.020 in) or less | |||
| Inner socket ball joint | Swing force* (Spring balance measurement) |
3.0 – 33.0 N (0.31 – 3.36 kg-f, 0.68 – 7.41 lb-f) | ||
| Ball joint rotating torque | 0.5 – 7.0 N·m (0.05 – 0.71 kg-m, 4 – 62 in-lb) | |||
| Axial end play | 0.2 mm (0.008 in) or less | |||
| Inner socket length | 55.7 mm (2.193 in) | |||
*: For measuring position, Refer to Inspection.
Other materials:
B2600-46 Configuration Error
DTC Description
DTC DETECTION LOGIC DTC No. CONSULT screen terms DTC detected condition
B2600-46
Configuration error
Diagnosis condition
When ignition switch is ON.
Signal (terminal)
—
Threshold
Errors are detected in the programming data stored in the 8CH CAN gatewa ...
Kr15ddt. Service Data and Specifications (sds). Service Data and Specifications (sds)
Service Data and Specifications (sds)
Periodical Maintenance Specification
ENGINE COOLANT CAPACITY (APPROXIMATE)Unit: (US qt, Imp qt) Engine coolant capacity (With reservoir tank at “MAX” level)
8.5 (9, 7-1/2)
Reservoir tank engine coolant capacity (At “MAX” level)
0. ...
Symptom Diagnosis. Front Passenger Side Power Window Does Not Operate
When Both Power Window Main Switch and Front Power Window Switch (passenger Side) Are Operated
Diagnosis Procedure
CHECK FRONT POWER WINDOW SWITCH (PASSENGER SIDE) POWER SUPPLY AND GROUND CIRCUIT
Check front power window switch (passenger side) power supply and ground circuit.
Refer to Diagnosis ...


: Gear housing end
: Inner socket end