Nissan Rogue (T33) 2021-Present Service Manual: Removal and Installation :: Rear Washer Nozzle and Tube
Exploded View

![]() |
Rear washer nozzle | ![]() |
Joint | ![]() |
Rear washer tube B |
![]() |
Rear washer tube A | ![]() |
Grommet | ![]() |
Washer tank |
![]() |
: Clip | ||||
Hydraulic Layout

![]() |
Rear washer nozzle | ![]() |
Joint | ![]() |
Rear washer tube B |
![]() |
Rear washer tube A | ![]() |
Grommet | ![]() |
Washer tank |
![]() |
: Clip | ||||
Rear Washer Nozzle
Removal and Installation
REMOVAL
CAUTION:
When washer tube is disconnected/removed, washer fluid may come out so prepare a container to receive the fluid and never allow fluid to be sprinkled.
Remove high-mounted stop lamp. Refer to Removal and Installation.
Disconnect rear washer nozzle
from joint.

While holding rear washer nozzle fixing pawls, push up in the direction of the arrow in the figure, and then remove rear washer nozzle.

![]() |
: Pawl |
INSTALLATION
Note the following items, and then install in the reverse order of removal.
CAUTION:
-
Before installation, check rear washer nozzle. Refer to Inspection and Adjustment.
-
After installation, check rear washer nozzle spray position. Refer to Inspection and Adjustment.
Inspection and Adjustment
INSPECTION
Rear Washer Nozzle (Check Valve Function) Inspection
Check that air can pass through by blowing forward direction [toward washer nozzle], and check that air cannot pass through by sucking reverse direction [toward washer tank].

ADJUSTMENT
Rear Washer Nozzle Spray Position Adjustment
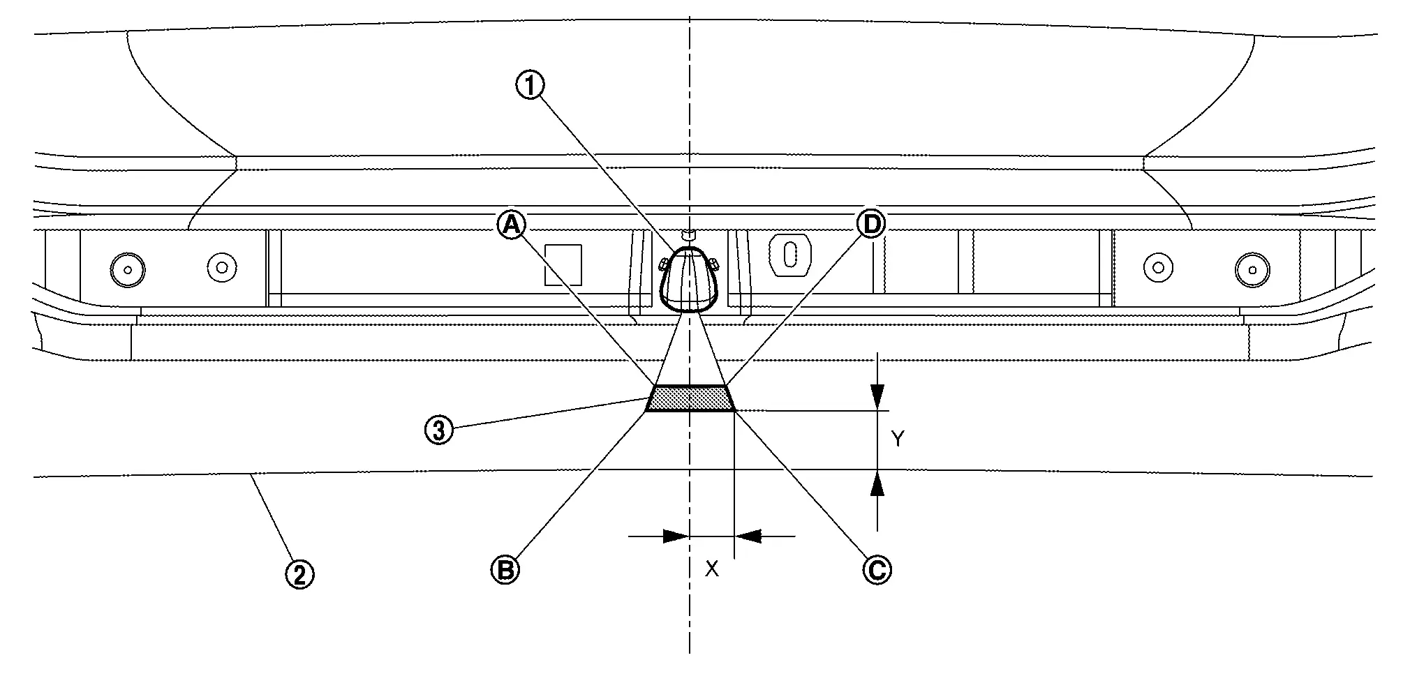
Adjust spray positions to match the positions shown in the figure.

![]() |
Rear washer nozzle | ![]() |
Black print line | ![]() |
Spray area |
| Spray position | X | Y |
|---|---|---|
![]() |
11.4 mm (0.449 in) | 26.3 mm (1.035 in) |
![]() |
12.6 mm (0.496 in) | 18.6 mm (0.732 in) |
![]() |
12.6 mm (0.496 in) | 26.3 mm (1.035 in) |
![]() |
11.4 mm (0.449 in) | 18.6 mm (0.732 in) |
Use washer nozzle adjuster (A) for rear washer nozzle
adjustment.

Rear Washer Tube
Removal and Installation
REMOVAL
CAUTION:
-
Replacement of a single part is not possible due to the adoption of rear washer tube B. For replacement, replace back door assembly as a set.
-
When washer tube is disconnected/removed, washer fluid may come out so prepare a container to receive the fluid and never allow fluid to be sprinkled.
Remove fender protector RH. Refer to Removal and Installation.
Disconnect rear washer tube A
from front and rear washer pump.

Disconnect rear washer tube A
from fixing clips
and remove grommet
, and then pull in rear washer tube A of inside the Nissan Ariya vehicle.

Remove steering member. Refer toRemoval and Installation.
Remove center pillar lower garnish RH. Refer to Removal and Installation.
Remove luggage side upper finisher RH. Refer to Removal and Installation.
Disconnect harness connector (A) and remove harness clip (B).

Remove insulator.
Remove grommet (2), and then rear washer tube A (1).

Remove rear washer tube A from harness protector.
Remove rear washer tube A (1) fixing clips (A).

Remove rear end of headlining to make work space. Refer to Removal and Installation.
Disconnect rear washer tube A (1) from joint, and then remove rear washer tube A.

Remove rear washer nozzle. Refer to Removal and Installation.
Remove grommet, and then remove rear washer tube B.
INSTALLATION
Note the following items, and then install in the reverse order of removal.
CAUTION:
-
Align washer tube marking to the vehicle installation position.
-
Install grommet in the installation hole surely.
Other materials:
B2267-29 Engine Speed
DTC Description
DTC DETECTION LOGIC DTC No.
CONSULT screen terms
(Trouble diagnosis content) DTC detected condition
B2267-29
TACHO METER
(Tacho meter)
Diagnosis condition
When ignition switch is ON.
Signal (terminal)
Engine speed signal
Threshold
ECM continuously t ...
Adas Control Unit. Removal and Installation. Adas Control Unit 2
Adas Control Unit 2
Removal and Installation
With ProPILOT Assist 1.1REMOVALCAUTION:
Be sure to perform “ADDITIONAL SERVICE WHEN REPLACING ADAS
CONTROL UNIT 2” when replacing ADAS control unit 2. Refer to Work
Procedure.
Remove center console assembly. Refer to Removal and Installation.
...
Engine. Exhaust System
Kr15ddt :: Precaution. Precautions
Precautions
Precaution for Supplemental Restraint System (SRS) "AIR BAG" and "SEAT BELT PRE-TENSIONER"
The Supplemental Restraint System such as “AIR BAG” and “SEAT BELT
PRE-TENSIONER”, used along with a front seat belt, helps to reduce the
risk or s ...









