Nissan Rogue (T33) 2021-Present Service Manual: Removal and Installation :: Lower Joint
Exploded View

![]() |
Lower joint | ![]() |
Steering gear | ![]() |
Steering column assembly |
![]() |
: N·m (kg-m, ft-lb) | ||||
![]() |
: Always replace after every disassembly. | ||||
Removal and Installation
REMOVAL
CAUTION:
-
Do not cause impact to steering column or shaft during removal or installation.
-
Do not move the steering gear during removal or installation of lower joint assembly.
Set vehicle to the straight ahead position.
Remove the instrument lower panel. Refer to Removal and Installation.
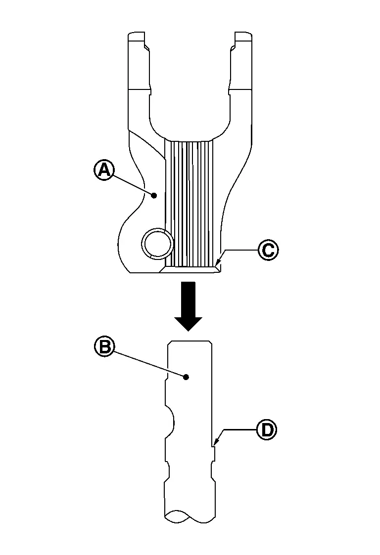
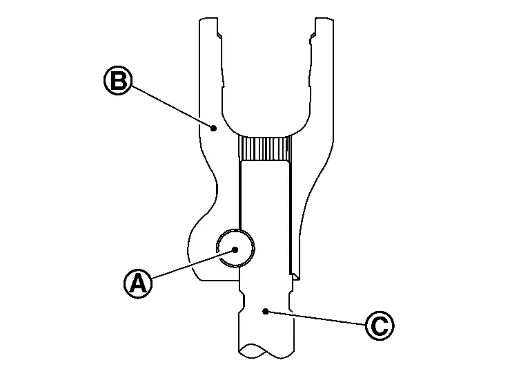
Remove clips (A) and then remove steering shaft lower cover (1).

Remove lower shaft (1) mounting bolt (A).

Remove bolt (A). Separate lower joint (1) from steering column.

Remove lower joint.
INSTALLATION
CAUTION:
-
Fit bolts by hand to ensure bolts turn smoothly without catching before tightening to specified torque.
-
Must perform front wheel alignment resetting the steering wheel and toe.
-
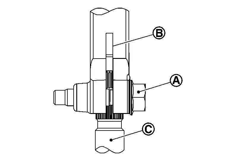
After aligning the blocking phase of pinion, the yoke (A) shall be inserted to the pinion shaft (B) until yoke lower surface (C) is in contact with pinion shaft surface (D).

-
Insert bolt (A).

-
Tighten bolt to the specified torque.
CAUTION:
-
Do not insert the bolt (A) from the reverse direction.

B : Yoke C : Pinion shaft -
Be sure to insert the bolt (A) in the correct position before fastening.

B : Yoke C : Pinion shaft
-
-
If equipped with ProPILOT Assist, perform steering torque calibration after replacing or removing and installing the steering column assembly. Refer to Work Procedure.
-
Perform alignment resetting the front wheel toe with steering wheel on center. Refer to Inspection.
-
Reset steering angle sensor. Refer to Description.
Other materials:
Informations de base
AVERTISSEMENT
Les systèmes de chauffage et de climatisation du Nissan Rogue fonctionnent uniquement lorsque le moteur est en marche.
Ne laissez jamais des enfants, des adultes nécessitant une assistance particulière ou des animaux domestiques seuls dans le véhicule. Ils pourraient active ...
Cold weather driving
Freeing a frozen door lock
To help prevent a frozen door lock, apply deicer through the key hole before freezing occurs. If the lock becomes frozen, gently heat the key before inserting it into the key hole, or use the Intelligent Key system.
Anti-freeze
When outside temperatures are expected to dr ...
Symptom Diagnosis. Rear Window Defogger Does Not Operate but Both Door Mirror Defoggers Operate
Diagnosis Procedure
CHECK REAR WINDOW DEFOGGER
Check rear window defogger. Refer to Component Function Check.
Is the inspection result normal?
YES>>
GO TO 2.
NO>>
Repair or replace the malfunctioning parts.
CONFIRM THE OPERATION
Confirm the operation again.
Is the inspection ...





