Nissan Rogue (T33) 2021-Present Service Manual: Removal and Installation :: Front Seat Belt
Exploded View

![]() |
Anchor bolt | ![]() |
Retaining washer | ![]() |
Seat belt adjuster RH |
![]() |
Seat belt adjuster LH | ![]() |
Adjuster cover RH | ![]() |
Adjuster cover LH |
![]() |
Shoulder anchor RH | ![]() |
Shoulder anchor LH | ![]() |
Spacer |
![]() |
Seat belt pre-tensioner retractor RH | ![]() |
Seat belt pre-tensioner retractor LH | ![]() |
Lap pre-tensioner RH |
![]() |
Lap pre-tensioner LH | ![]() |
Seat belt buckle LH | ![]() |
Anchor nut |
![]() |
Seat belt buckle RH | ||||
![]() |
: Clip | ||||
![]() |
: Pawl | ||||
![]() |
: N·m (kg-m, ft-lb) | ||||
Seat Belt Retractor
Removal and Installation
WARNING:
Before servicing, place the ignition switch in the OFF position, disconnect battery negative terminal and wait for 3 minutes or more (discharges electricity held in the additional power supply circuit of the air bag diagnosis sensor unit).
CAUTION:
When removing, always use a remover tool that is made of plastic to prevent damage to the parts.
REMOVAL
Remove shoulder anchor.Slide front seat to front most position. Remove adjuster cover.
-
Pull adjuster cover lower side, and then disengage adjuster cover lower side fixing pawls.


: Pawl -
Apply protective tape (A) on parts to protect it from damage.

-
Disengage adjuster cover upper side fixing pawl using a remover tool (A).


: Pawl -
Pull adjuster cover, and then remove adjuster cover.

NOTE:
-
When remove an adjuster cover, the release button (A) of seat belt adjuster may come off.
-
Install a release button according to the installation procedure after removed a center pillar upper garnish. Refer to Removal and Installation.
-

Remove lap pre-tensioner.Remove center pillar lower garnish. Refer to Removal and Installation. Peel off front floor carpet to secure work space. Refer to Removal and Installation. Disconnect lap pre-tensioner harness connector (A) and remove anchor bolt (1) and then remove lap pre-tensioner.

![]() |
: Nissan Ariya Vehicle front |
CAUTION:
USA production:
-
For removing the lap pre-tensioner harness connector, lift tabs to release the lock and remove the harness connector.

-
For installing the harness connector, align the connector housing, then press firmly on the connector until the locking tabs are engaged.
CAUTION:
Japan production:
-
For installing/removing lap pre-tensioner harness connector, insert thin screwdriver wrapped in tape into notch, lift lock and remove connector.

-
Install connector with lock raised, and push lock into connector.
-
After installing the connector, check that the lock is pushed securely into it.
Remove seat belt pre-tensioner retractor.Remove seat belt pre-tensioner retractor mounting anchor bolt (1).


CAUTION:
USA production:
-
For removing the lap pre-tensioner harness connector, lift tabs to release the lock and remove the harness connector.

-
For installing the harness connector, align the connector housing, then press firmly on the connector until the locking tabs are engaged.
CAUTION:
Japan production:
-
For installing/removing seat belt pre-tensioner retractor harness connector, insert thin screwdriver wrapped in tape into notch, lift lock and remove connector.

-
Install connector with lock raised, and push lock into connector.
-
After installing the connector, check that the lock is pushed securely into it.
CAUTION:
Never place seat belt pre-tensioner retractor and lap pre-tensioner in an area where the temperature reaches 80°C (176°F) or more.
Remove seat belt adjuster.Remove center pillar upper garnish. Refer to Removal and Installation. Remove seat belt adjuster mounting anchor bolts (1), and then remove seat belt adjuster.

INSTALLATION
Note the following item, and then install in the reverse order of removal.
CAUTION:
If come off release button from seat belt adjuster, install following procedure.
-
Put a hand in the backside of seat belt adjuster and push out a pin.

-
Install the release button to protruding portion of pin.

Inspection
AFTER A COLLISION
WARNING:
To avoid the risk of death or severe injury:
-
Inspect all seat belt system components including the seat belt webbing, retractors, pretensioners, buckles, anchors, and attaching hardware after any collision.
-
NISSAN/INFINITI recommends that all seat belt assemblies and buckles in use during a collision be replaced unless the collision was minor and all seat belt system components including the seat belt webbing, retractors, pretensioners, buckles, anchors, and attaching hardware show no damage and continue to operate properly.
-
Inspect all seat belt assemblies and components including webbing, retractors, buckles, anchors and attaching hardware not in use during a collision. Replace if either damage or improper operation is noted.
-
Seat belt pretensioners activate whenever an air bag deploys and cannot be reused. If an air bag deploys, always replace the seat belt assemblies and system components including webbing, retractors, buckles, anchors and attaching hardware, even if the seat belts were not in use during a collision.
-
Failure to follow any of the above steps could result in serious personal injury in an accident.
Replace any seat belt assembly (including anchor bolts) if:
-
The seat belt is in use at the time of a collision (except for minor collisions and the belts, retractors and buckles show no damage and continue to operate properly).
-
The seat belt is damaged in an accident (i.e. torn webbing, bent retractor or guide, etc.).
-
The seat belt attaching point is damaged in an accident. Inspect the seat belt attaching area for damage or distortion and repair if necessary before installing a new seat belt assembly.
-
Anchor bolts are deformed or worn out.
-
The seat belt assembly must be replaced even if the seat belts were not in use during the collision in which the air bags were deployed.
PRELIMINARY CHECKS
Check the seat belt warning lamp for proper operation as per the following:Place the ignition switch in the ON position. The seat belt warning lamp should illuminate. Fasten the seat belt. The seat belt warning lamp should turn OFF.
If the air bag warning lamp turns ON, perform self-diagnosis using CONSULT. Refer to CONSULT Function.
Check that the seat belt retractor, seat belt anchor and buckle bolts are tightened firmly.
Check the shoulder seat belt guide and shoulder belt height adjuster for front seats. Check that guide swivels freely and that webbing lays flat and does not bind in guide. Check that height adjuster operates properly and holds securely.
Check retractor operation:Fully extend the seat belt webbing and check for twists, tears or other damage. Allow the seat belt to retract. Check that seat belt returns smoothly and completely to the retractor. If the webbing does not return smoothly, the cause may be an accumulation of dust or dirt. Use the “SEAT BELT TAPE SET” and perform the following steps.
Inspect The Front Seat Belt Shoulder Anchor
-
Pull the seat belt out to a length of 500 mm (19.69 in) or more.
-
Fix the seat belt at the center pillar webbing opening with a clip or other device.
-
Pass a thin wire through the shoulder anchor webbing opening. Hold both ends of the wire and pull it tightly while moving it up and down several times along the webbing opening surface to remove dirt stuck there.
-
Any dirt that cannot be removed with the wire can be removed by cleaning the opening with a clean cloth.
-
Apply tape at the point where the webbing contacts the shoulder anchor webbing opening.
NOTE:
Apply the tape so that there is no slack or wrinkling.
-
Remove the clip fixing the seat belt and check that the webbing returns smoothly.
Repeat steps above if necessary to check the other seat belts.
SEAT BELT RETRACTOR ON-VEHICLE CHECK
Emergency Locking Retractors (ELR)
NOTE:
All seat belt retractors are Emergency Locking Retractors (ELR) type. In an emergency (sudden stop) the retractor will lock and prevent the webbing from extending any further.
Check the seat belt retractors with the following test(s) to determine if a retractor assembly is operating properly.
ELR Function Stationary Check
Grasp the shoulder webbing and pull forward quickly. The retractor should lock and prevent the belt from extending further.
ELR Function Moving Check
WARNING:
Perform the following test in a safe, open area clear of other vehicles and obstructions (for example, a large, empty parking lot). Road surface must be paved and dry. Never perform the following test on wet or gravel roads or on public streets and highways. This could result in an accident and serious personal injury. The driver and passenger must be prepared to brace themselves in the event that the retractor does not lock.
Fasten driver seat belt. Buckle a passenger into the seat for the belt that is to be tested.
Proceed to the designated safe area.
Drive the Nissan Ariya vehicle at approximately 16 km/h (10 MPH). Notify any passengers of a pending sudden stop and the driver and passenger must be prepared to brace themselves in the event that the retractor does not lock. Apply brakes firmly and make a very hard stop.
During stopping, seat belts should lock and not be extended. If the seat belt retractor assembly does not lock, perform the retractor off-Nissan Ariya vehicle check.
SEAT BELT RETRACTOR OFF-VEHICLE CHECK
Remove front seat belt retractor assembly. Refer to Removal and Installation.
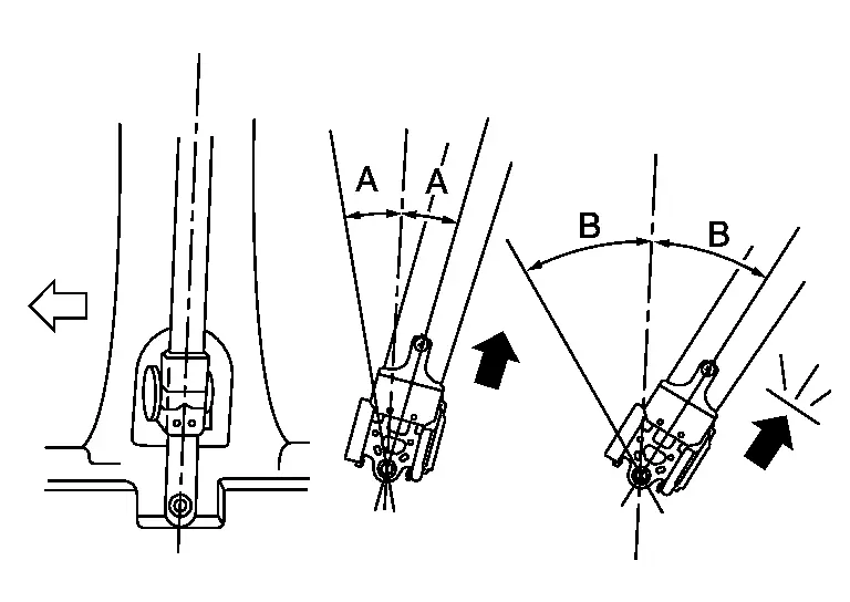
Slowly pull out webbing while tilting the retractor assembly forward from the mounted position without twisting the retractor assembly as shown in the figure.
-
The webbing can be pulled out when the angle (A) is 15 degrees or less.

-
The webbing cannot be pulled out when the angle (B) is 27 degrees or more.
| A and B | : Tilting angles |
![]() |
: Nissan Ariya Vehicle front |
Replace the seat belt assembly if it does not operate normally.
Seat Belt Buckle
Removal and Installation
REMOVAL
Remove front seat (manual seat). Refer to Removal and Installation.
Disconnect seat belt buckle harness connector and disengage harness clip.
Remove seat belt buckle mounting anchor nut, and then remove seat belt buckle.
INSTALLATION
Install in the reverse order of removal.
Inspection
AFTER A COLLISION
WARNING:
To avoid the risk of death or severe injury:
-
Inspect all seat belt system components including the seat belt webbing, retractors, pretensioners, buckles, anchors, and attaching hardware after any collision.
-
NISSAN/INFINITI recommends that all seat belt assemblies and buckles in use during a collision be replaced unless the collision was minor and all seat belt system components including the seat belt webbing, retractors, pretensioners, buckles, anchors, and attaching hardware show no damage and continue to operate properly.
-
Inspect all seat belt assemblies and components including webbing, retractors, buckles, anchors and attaching hardware not in use during a collision. Replace if either damage or improper operation is noted.
-
Seat belt pretensioners activate whenever an air bag deploys and cannot be reused. If an air bag deploys, always replace the seat belt assemblies and system components including webbing, retractors, buckles, anchors and attaching hardware, even if the seat belts were not in use during a collision.
-
Failure to follow any of the above steps could result in serious personal injury in an accident.
Replace any seat belt assembly (including anchor bolts) if:
-
The seat belt is in use at the time of a collision (except for minor collisions and the belts, retractors and buckles show no damage and continue to operate properly).
-
The seat belt is damaged in an accident (i.e. torn webbing, bent retractor or guide, etc.).
-
The seat belt attaching point is damaged in an accident. Inspect the seat belt attaching area for damage or distortion and repair if necessary before installing a new seat belt assembly.
-
Anchor bolts are deformed or worn out.
-
The seat belt assembly must be replaced even if the seat belts were not in use during the collision in which the air bags were deployed.
PRELIMINARY CHECKS
Check the seat belt warning lamp for proper operation as per the following:Place the ignition switch in the ON position. The seat belt warning lamp should illuminate. Fasten driver seat belt. The seat belt warning lamp should turn OFF.
If the air bag warning lamp turns ON, perform self-diagnosis using CONSULT. Refer to CONSULT Function.
Check that the seat belt retractor, seat belt anchor and buckle bolts are tightened firmly.
Repeat steps above if necessary to check the other seat belts.
Other materials:
Dtc/circuit Diagnosis. Rear Window Defogger
Component Function Check
CHECK REAR WINDOW DEFOGGER FUNCTION
CONSULT
Ignition switch ON.
Select “Rear defogger” in “Active test” mode of "BCM".
Touch “On”.
Check that the back door window glass is getting warmer.
NOTE:
When glass is hot, never start inspection un ...
System Description. Diagnosis System (occupant Detection System Control Unit)
CONSULT Function
APPLICATION ITEMCONSULT performs the following functions. Diagnosis mode CGW Status Description
Restricted Mode Diag Test Mode Open Mode
CGW Information
Display
Display
Display
Display the current CGW mode
Enables CGW to switch mode
Data mo ...
Rear-facing child restraint installation using LATCH
For additional information, refer to all Warnings and Cautions in the “Child safety” and “Child restraints” sections before installing a child restraint.
Do not use the lower anchors if the combined weight of the child and the child restraint exceeds 65 lbs (29.5 kg). If the combined wei ...



















