Nissan Rogue (T33) 2021-Present Service Manual: Propilot Assist 2.1 :: Removal and Installation
Power Network Separate Relay
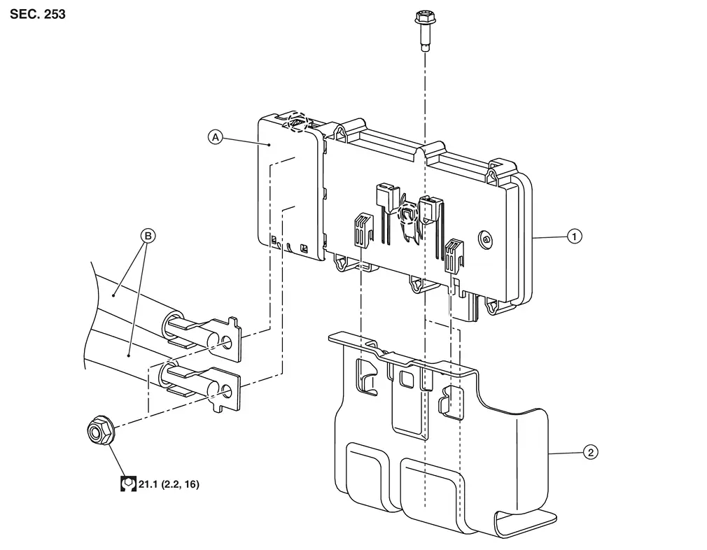
Exploded View

| 1. | Power network separate relay | 2. | Bracket | A. | Terminal cover |
| B. | Positive harness | ![]() |
: Pawl |
Removal and Installation
REMOVAL
Remove the luggage side lower finisher RH. Refer to Removal and Installation.
Release pawl and open terminal cover.
Remove the positive terminals from the power network separate relay.
Release pawl and remove the power network separate relay from the bracket.
Disconnect the harness connector from the power network separate relay and remove.
INSTALLATION
Installation is in the reverse order of removal.
Hd Map Module
Removal and Installation
REMOVAL
Remove the luggage side lower finisher LH. Refer to Removal and Installation.
Turn jack screw counter-clockwise and remove the jack from the Nissan Ariya vehicle.
Remove harness retainer (B) from HD map module (1).

Remove bolts (A) and remove the HD map module.
INSTALLATION
Installation is in the reverse order of removal.
-
Perform "ADDITIONAL SERVICE WHEN REPLACING HD MAP MODULE." Refer to Work Procedure.
Propilot Assist 2.1 Steering Switch
Removal and Installation
REMOVAL
For servicing the Japan production ProPILOT Assist 2.1 steering switch, service the Japan production steering wheel. Refer to Removal and Installation.
NOTE:
The Japan production ProPILOT Assist 2.1 steering switch is serviced as an assembly with the Japan production steering switches, the Japan production paddle shifter, and the Japan production steering wheel.
INSTALLATION
Installation is in the reverse order of removal.
CAUTION:
Perform the "ACTION TEST". Refer to Work Procedure.
Steering Assist Switch
Removal & Installation
REMOVAL
Remove the instrument lower panel (LH). Refer to Removal and Installation.
Remove fixing screws (A), then remove switch bracket (1) from instrument lower panel (LH).

Release steering assist switch fixing pawls, and then remove steering assist switch (1) from switch bracket .

INSTALLATION
Installation is in the reverse order of removal.
Other materials:
Driver and front passenger supplemental
knee air bag
Driver's side
The knee air bag is integrated into the knee
bolster on both the driver's and front passenger's
sides of your Nissan Rogue. All safety information, cautions
and warnings in this manual apply and
must be followed. The knee air bag
is engineered to deploy in higher severity
frontal co ...
Power Supply and Ground Circuit
Diagnosis Procedure
CHECK FUSE
Check that the following fuse is not blown:
Signal name Fuse No.
Ignition power supply
40 (10 A)
Is the fuse blown?
YES>>
Replace the blown fuse after repairing the affected circuit.
NO>>
GO TO 2.
CHECK ADAS CONTROL UNIT 2 POWER SUPP ...
Fuel Level Sensor Signal Circuit
Component Function Check
PERFORM COMPONENT FUNCTION CHECK (1)
Ignition switch OFF.
Disconnect fuel level sensor unit, fuel pump and FPCM (fuel level sensor) (main) harness connector.
Connect variable resistor between harness connector terminals located
on the Nissan Ariya vehicle s ...

