Nissan Rogue (T33) 2021-Present Service Manual: Periodic Maintenance :: Front Suspension Assembly
Inspection
COMPONENT PART
Check the front suspension for the following:
-
Check each component for looseness or play.
-
Inspect each component for abnormal wear or damage.
Ball Joint Axial End Play
WARNING:
When moving the front tires up and down by hand, place a jack (A) at the rear floor jack lift point to stabilize the Nissan Ariya vehicle or the vehicle could rock and fall off the lift resulting in serious personal injury or death.

Set front wheels in a straight-ahead position.
Check ball joint boot for cracks or other damage. If there are cracks or other damage, replace transverse link.
Move axle side of transverse link up and down by hand. Check there is no end play.

CAUTION:
-
Never depress brake pedal when measuring.
-
Never perform with tires on level ground.
-
Be careful not to damage ball joint boot. Do not apply excessive force.
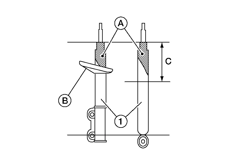
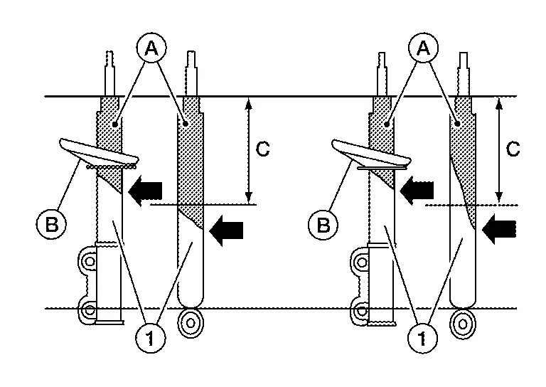
STRUT ASSEMBLY
Oil Leakage Inspection
-
If oil
does not extend beyond the spring seat
or upper half (C) of strut/shock absorber
, this is slight oil seepage and the strut/shock absorber should not be replaced.
-
If oil
does extend beyond the spring seat
or upper half (C) of strut/shock absorber
as shown, perform the following.
– Use a finger to touch the oil that has extended beyond the spring seat or upper half of strut/shock absorber.
– If the oil layer is thick and contains large pieces of dust and debris, replace the strut/shock absorber.
– If the oil is thin and does not contain large pieces of dust and debris, do not replace the strut/shock absorber.
NOTE:
If strut/shock absorber leakage is diagnosed in one strut/shock absorber, do not automatically replace both sides. Replace only the leaking strut/shock absorber.
Other materials:
With Idle Start/stop. Removal and Installation. Sub Starter & Generator
Sub Starter & Generator
Exploded View
REMOVAL 1.
Collar
2.
Sub starter, generator and compressor bracket
3.
Sub starter & generator
4.
Sub starter & generator harness connector
5.
“B” terminal
-
-
: Nissan Ariya Vehicle front
, , , : In ...
Rear View Monitor. Removal and Installation. Rear View Camera
Rear View Camera
Removal and Installation
REMOVALRemove the back door inner finisher. Refer to Removal and Installation.
Remove the rear view camera mounting bolts , And then push the pawls in the direction of the arrow in the figure to remove the rear view camera.
INSTALLATIONInstallation is ...
Symptom Diagnosis. Approach Unlock/walk Away Lock Function Does Not Operate (all Keys)
Description
Approach unlock/walk away lock function does not operate.NOTE:
Before starting diagnosis check that vehicle condition is
as shown in "Conditions of Nissan Ariya vehicle", and check each
symptom.
SYMPTOM TABLE (BOTH INTELLIGENT KEYS HAVE THE SAME SYMPTOM) Door lock operation (remot ...
