Nissan Rogue (T33) 2021-Present Service Manual: Charge Air Cooler Electric Water Pump Relay
Component Inspection
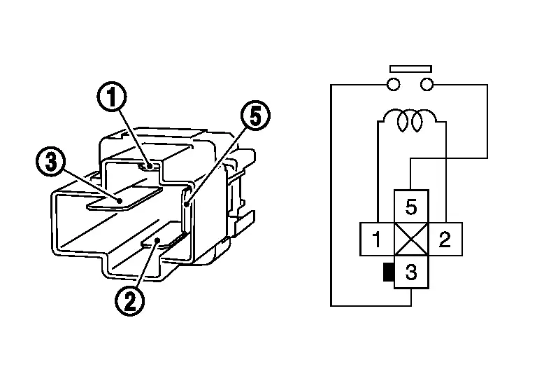
CHECK ELECTRIC WATER PUMP RELAY
-
Turn ignition switch OFF.
-
Remove electric water pump relay.
-
Check the continuity between electric water pump relay terminals under the following conditions.

Terminals Conditions Continuity
and 
12 V direct current supply between terminals
and 
Existed No current supply Not existed
Is the inspection result normal?
YES>>INSPECTION END
NO>>Replace electric water pump relay.
Other materials:
P052a Intake Valve Timing Control
DTC Description
DTC DETECTION LOGIC DTC
CONSULT screen terms
(Trouble diagnosis content) DTC detection condition
P052A
00
CAMSHAFT POSITION TIMING B1
(Cold start “A” camshaft position timing over-advanced bank 1)
Diagnosis condition
Cold condition
Signal (terminal)
...
Combination Meter
Reference Value
VALUES ON THE DIAGNOSIS TOOLNOTE:
The following table includes information (items)
inapplicable to this Nissan Ariya vehicle. For information (items)
applicable to this vehicle, refer to CONSULT display items.
Monitor Item Condition Value/Status
SPEED METER
[mph or km/ ...
Symptom Diagnosis. Intelligent Key Button Operation Has Poor Range (one Key)
Description
Intelligent Key button operation has poor range. (One Intelligent Key has the symptom, other keys operate normally.)SYMPTOM TABLE (ONE INTELLIGENT KEY HAS THE SYMPTOM, OTHER KEYS OPERATE NORMALLY) Door lock operation (remote keyless entry)
Door lock operation (request switch of front ...
