Nissan Rogue (T33) 2021-Present Service Manual: Can Gateway :: System Description
Component Parts
Component Parts Location

![]() |
Instrument panel assembly removed condition | ![]() |
Nissan Ariya Vehicle front |
| No. | Component | Reference | |||
|---|---|---|---|---|---|
| 1. | 8CH CAN gateway | 8CH CAN Gateway | |||
8CH CAN Gateway
EXPLANATIONS OF COMPONENT PARTS
Component Function Within The System
—
Individual Component Function
8CH CAN gateway transmits CAN signals from each network.
-
With type B meter

-
With type A meter

Component Operation
Refer to System Description.
Component Parts Location
8CH CAN gateway is installed at behind the instrument panel. Refer to Component Parts Location.
System
8ch Can Gateway
System Description
8CH CAN GATEWAY
System Diagram
-
With Type B Meter

-
With Type A Meter Without ProPILOT Assist 2.1

-
With Type A Meter With ProPILOT Assist 2.1

System Description
-
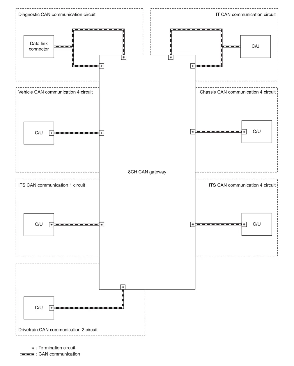
The 8CH CAN gateway system communicates between vehicle CAN communication circuits, ITS CAN communication circuits, chassis CAN communication circuits, IT CAN communication circuits, Drivetrain CAN communication circuit, and diagnostic CAN communication circuit.
-
This system selects and transmits only necessary information.
Diagnosis System (8ch Can Gateway)
CONSULT Function
APPLICATION ITEM
CONSULT performs the following functions via CAN communication with 8CH CAN gateway.
| Diagnosis mode | Function Description |
|---|---|
| Self Diagnostic Result | Display DTC which 8CH CAN gateway memorizes. |
| Work support | Performs VIN data saving/writing, network initial settings and automatic report prevention release. |
| Data monitor |
This item is displayed, but cannot be monitored. |
| ECU Identification | The 8CH CAN gateway part number is displayed. |
| Replace ECU | Write the Nissan Ariya vehicle specification when replacing 8CH CAN gateway |
SELF DIAGNOSTIC RESULT
Refer to DTC Index.
-
When “CRNT” is displayed on “Self Diagnostic Result”
-
The system is presently malfunctioning.
-
-
When “PAST” is displayed on “Self Diagnostic Result”
-
System malfunction in the past is detected, but the system is presently normal.
-
Freeze Frame Data (FFD)
When DTC is detected, a vehicle state shown below is recorded and displayed on CONSULT.
| Item name | Display item |
|---|---|
|
ODO/TRIP METER (km) |
Displays the total mileage when a DTC detected. |
| DTC count | Records the number of times DTC was detected. |
WORK SUPPORT
| Item name | Description |
|---|---|
| VIN registration | Register of the Nissan Ariya vehicle identification number. |
| OTA status reset |
This item is displayed, but cannot be used. |
ECU IDENTIFICATION
The part number of 8CH CAN gateway is displayed.
Other materials:
Memory Function
System Description
SYSTEM DIAGRAMSeveral types of signals are transmitted from the following units to the driver seat control unit via CAN communication.INPUT SIGNAL AND OUTPUT SIGNAL Component Signal
ABS actuator and electric unit (control unit)
Nissan Ariya Vehicle speed signal
Combin ...
Rear View Monitor. Symptom Diagnosis. Rear View Monitor System
Rear View Monitor System
Symptom Table
REAR VIEW MONITOR Symptoms Possible cause Inspection item
Camera image is not shown.
(Nissan Ariya Vehicle width and predictive course line are displayed.)
Harness between rear view camera and AV control unit
Rear view camera
AV contr ...
Common troubleshooting guide
Basic information
Several Driver Assistance features in the Nissan Rogue rely on shared hardware such as cameras and radar units. When warning messages appear or indicator lights flash, inspect the system status. Refer to “System temporarily unavailable” or “System malfunction” in the Owner ...



NOTE: