Nissan Rogue (T33) 2021-Present Service Manual: Awd :: Preparation. Preparation
Preparation
Special Service Tool
|
Tool number Tool name | Description | |
|---|---|---|
|
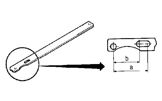
KV40104000 Hub lock nut wrench a: 85 mm (3.35 in) b: 65 mm (2.56 in) |
|
Removing and Installing wheel hub lock nut. |
|
KV40107310 Boot band crimping tool |
|
Installing boot band |
|
KV40107300 Boot band crimping tool |
|
Installing boot band |
|
KV38107900 ( – ) |
|
Installing drive shaft Protector a: 32 mm (1.26 in) dia. b: 25 mm (0.98 in) |
Commercial Service Tool
| Tool name | Description | |
| Drive shaft puller |
|
Removing drive shaft joint sub assembly |
| Drive shaft joint puller |
|
Removing drive shaft |
| Ball joint remover |
|
Removing hub bolt |
Lubricant or/and Sealant
| Name | Description |
|---|---|
| NISSAN Genuine grease or equivalent |
|
Always Replace with New Parts
| Never Reuse These Parts | Part Code | For additional information |
|---|---|---|
| Bush - Radius, Axle | 43052H | Exploded View |
| Bush - LWR Link, FR Axle | 43052D | Exploded View |
| Bush - LWR Link, RR Axle | 43052E | Exploded View |
| Bolt - Hub | 43222 | Exploded View |
| Circlip - Drive SFT | 39634 | Exploded View |
| Circlip - Drive SFT | 39600F | Exploded View |
| Shield - Dust | 39752X | Exploded View |
| Band - Boot, HSG (Small) | — | Exploded View |
| Band - Boot, SFT (Small) | — | Exploded View |
| Band - Boot, HSG (Large) | — | Exploded View |
| Band - Boot, SFT (Large) | — | Exploded View |
| Boot - Fixed JT, RUB | 39641K | Exploded View |
| Boot - Slide JT, RUB | 39741K | Exploded View |
| Boot - Fixed JT, RUB | 39641K | Exploded View |
| Ring - Snap | — | Exploded View |
Other materials:
Led Headlamp. Symptom Diagnosis
Exterior Lighting System Symptoms
Symptom Table
NOTE:
Perform self diagnosis result with CONSULT before the symptom diagnosis. Perform the trouble diagnosis if any DTC is detected.
Symptom Possible cause Inspection item
Headlamp (HI) is not turned ON
One side
Headlamp
LED [ ...
Led Headlamp. Basic Inspection
Diagnosis and Repair Work Flow
Work Flow
OVERALL SEQUENCEDETAILED FLOWGET INFORMATION FOR SYMPTOM
Get detailed information from the customer about the symptom (the
condition and the environment when the incident/malfunction occurs).
Check operation condition of the function that is mal ...
Precautions on seat belt usage
Wearing your seat belt correctly — sitting upright, positioned well back in the seat, and keeping both feet on the floor — significantly reduces the risk of injury or death in an accident. When used properly, seat belts work together with your Nissan Rogue’s safety systems, including suppleme ...







