Nissan Rogue (T33) 2021-Present Service Manual: With Idle Start/stop :: Removal and Installation. Sub Starter & Generator
Sub Starter & Generator
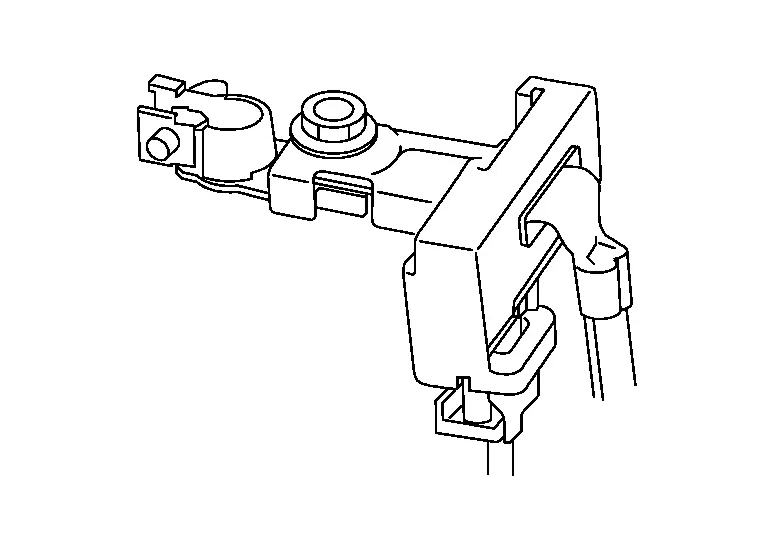
Exploded View
REMOVAL

| 1. | Collar | 2. | Sub starter, generator and compressor bracket | 3. | Sub starter & generator |
| 4. | Sub starter & generator harness connector | 5. | “B” terminal | - | - |
![]() |
: Nissan Ariya Vehicle front | ||||
, , , : Indicates that the part is connected at points with same symbol in actual Nissan Ariya vehicle. |
|||||
Removal and Installation
REMOVAL
Disconnect battery cable from negative terminal. Refer to Precautions for Removing Battery Terminal.
Remove drive belt auto-tensioner. Refer to Removal and Installation.
Remove internal heat exchanger pipe. Refer to Removal and Installation.
Remove front grille cover. Refer to Exploded View.
Remove washer tank inlet. Refer to Exploded View.
Release reservoir tank hose clip.

![]() |
: Clip |
Remove sub radiator reservoir tank mounting bolts, and then move sub radiator reservoir tank to create work space. Refer to Exploded View.
Remove ground harness mounting bolt (A), and then disconnect ground harness.

![]() |
:Front |
Remove oil level gauge.
Remove “B” terminal mounting nut (A), and then disconnect “B” terminal (1).

Disconnect sub starter and generator harness connector (A).

![]() |
:Front |
Remove sub starter and generator bolts, and then remove generator.
CAUTION:
-
Be cafreful not to damage surrounding components.
-
Do not erase the sub starter & generator operation counter except when replacing sub starter & generator.
INSTALLATION
Installation is in the reverse order of removal.
CAUTION:
-
Temporarily tighten sub starter & generator bolts in order from the lower side to the upper side, and then tighten them in order from the upper side to the lower side.
For sub starter & generator, the front side (pulley side) surface is the reference surface. Fit the reference surface to sub starter & generator mounting part, and then tighten bolts.
-
Be careful to tighten “B” terminal nut to the specified torque.
-
Install sub starter & generator, and check tension of belt. Refer to Inspection.
-
For this model (with 12V battery current sensor models), energy management system that controls power generation voltage of sub starter & generator has been adopted. Therefore, energy management system operation inspection should be performed after replacing sub starter & generator, and then make sure that the system operates normally. Refer to Work Flow (With EXP-800 NI or GR8-1200 NI) or Work Flow (Without EXP-800 NI or GR8-1200 NI).
12V Battery current sensor is installed to 12V battery cable at negative terminal.

-
Perform "ADDITIONAL SERVICE WHEN REPLACING SUB STARTER & GENERATOR" when replacing sub starter & generator. Not doing so will cause sub starter & generator control function to not operate normally. Refer to Description
Inspection
Perform the following.
Make sure that generator pulley does not rattle.
Make sure that generator pulley nut is tight.
NOTE:
Replace the generator as an assembly if necessary.
Other materials:
With Idle Start/stop. Basic Inspection
Diagnosis and Repair Work Flow
Work Flow (With EXP-800 NI or GR8-1200 NI)
CHARGING SYSTEM DIAGNOSIS WITH EXP-800 NI OR GR8-1200 NITo test the charging system, use the following special service tools:
EXP-800 NI Battery and electrical diagnostic analyzer
GR8-1200 NI Multitasking battery and ...
Evtc Branch Line Circuit
Diagnosis Procedure
CHECK CONNECTOR
Turn the ignition switch OFF.
Disconnect the battery cable from the negative terminal.
Check the terminals and connectors of the electric intake valve
timing control module for damage, bend and loose connection (unit side
and connector side).
...
Nettoyage intérieur
Informations de base
Nettoyez régulièrement l’habitacle du Nissan Rogue afin de préserver un environnement propre, sain et agréable pour tous les occupants. Les surfaces intérieures, les éléments en plastique ainsi que les sièges doivent être entretenus à l’aide d’un aspirateur ou d ...


,
,
,
: Indicates that the part is connected at points with same symbol in actual Nissan Ariya vehicle. 
