Nissan Rogue (T33) 2021-Present Service Manual: Transfer: Ty92a :: Preparation. Preparation
Preparation
Special Service Tool
The actual shapes of TechMate tools may differ from those of special service tools illustrated here.
|
Tool number (TechMate No.) Tool name | Description | |
|---|---|---|
|
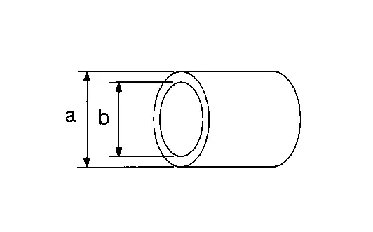
ST33061000 (NI-8107-2) Drift a: 38 mm (1.50 in) dia. b: 28.5 mm (1.122 in) dia. |
|
Removing ring gear bearing inner race (transfer case side) |
|
KV381054S0 (NI-34286) Puller |
|
Removing drive shaft oil seal |
|
ST3127S000 (NI-25765-A) Preload gauge |
|
Measuring preload torque |
|
— (NI-53127) Transfer case seal installer |
|
Installing transfer case oil seal |
Commercial Service Tool
| Tool name | Description | |
|---|---|---|
| Oil seal remover |
|
Removing transfer cover oil seal and transfer cover dust seal |
|
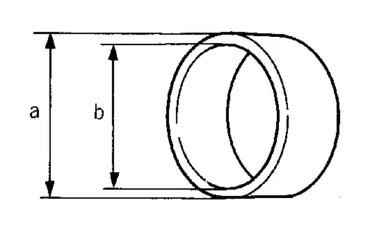
Drift a: 87 mm (3.43 in) dia. |
|
Installing ring gear bearing outer race (transfer cover side) |
|
Drift a: 78 mm (3.07 in) dia. b: 68 mm (2.68 in) dia. |
|
Installing transfer cover oil seal and transfer cover dust seal |
|
Drift a: 52 mm (2.05 in) dia. b: 44 mm (1.73 in) dia. |
|
Removing ring gear bearing inner race (transfer cover side) |
| Separator |
|
|
| Puller |
|
Removing ring gear bearing inner race (transfer case side) |
|
Drift a: 44 mm (1.73 in) dia. b: 33 mm (1.3 in) dia. |
|
Installing drive shaft oil seal |
|
Drift a: 62 mm (2.44 in) dia. b: 58 mm (2.28 in) dia. |
|
Installing ring gear bearing inner race (transfer cover side) |
|
Drift a: 58 mm (2.28 in) dia. b: 55 mm (2.17 in) dia. |
|
Installing ring gear bearing inner race (transfer case side) |
| Flange wrench |
|
Removing and installing drive pinion lock nut |
|
Drift a: 70 mm (2.76 in) dia. b: 60 mm (2.36 in) dia. |
|
Installing drive pinion oil seal |
|
Drift a: 20 mm (0.79 in) dia. |
|
Installing and removing drive pinion |
|
Drift a: 40 mm (1.57 in) dia. b: 25 mm (0.98 in) dia. |
|
Installing companion flange |
|
Drift a: 73.5 mm (2.894 in) dia. |
|
Installing ring gear bearing outer race (transfer case side) |
| Power tool |
|
Loosening bolts and nuts |
Lubricant or/and Sealant
| Item | Use |
|---|---|
| Red lead or equivalent | Checking tooth contact |
Always Replace with New Parts
| Never Reuse These Parts | Part Code | For additional information: |
|---|---|---|
| Transfer cover dust seal | 33142A | Exploded View |
| Gasket | 33100Q, 33100QB | Exploded View |
| Transfer cover oil seal | 33142 | Exploded View |
| O-ring | 38343Y | Exploded View |
| Ring gear bearing (transfer cover side) | 38440QA | Exploded View |
| Gasket | 33100QA | Exploded View |
| Ring gear bearing (transfer case side) | 38440Q | Exploded View |
| O-ring | 33119E | Exploded View |
| O-ring | 33386 | Exploded View |
| Pinion bearing assembly | 33158M | Exploded View |
| Oil seal | 38189X | Exploded View |
| Pinion lock nut | 32140H | Exploded View |
Other materials:
Precaution. Precautions
Precaution for Supplemental Restraint System (SRS) "AIR BAG" and "SEAT BELT PRE-TENSIONER"
The Supplemental Restraint System such as “AIR BAG” and “SEAT BELT
PRE-TENSIONER”, used along with a front seat belt, helps to reduce the
risk or severity of injury to the driver and front passeng ...
P06b3 Sensor Power Supply 2
DTC Description
DESCRIPTIONECM supplies a voltage of 5 V to some of the
sensors systematically divided into 3 groups, respectively.
Accordingly, when a short circuit develops in a sensor power source, a
malfunction may occur simultaneously in the sensors belonging to the
same group as the s ...
Symptom Diagnosis. Remote Engine Start Function Does Not Operate
Description
Engine does not start when operating REMOTE ENGNE START button of Intelligent Key.NOTE:
Check that vehicle is under the condition shown in
“Conditions of Nissan Ariya vehicle” before starting diagnosis, and
check each symptom.
Conditions of Vehicle (Operating Conditions)
Sh ...

















