Nissan Rogue (T33) 2021-Present Owner’s Manual & User Guide: Meters and gauges
MODELS WITH ANALOG METER AND COLOR DISPLAY

- Tachometer
- Warning and indicator lights
- Vehicle information display
- Odometer
- Speedometer
- Engine coolant temperature gauge
- Fuel gauge
CAUTION
- For cleaning, use a soft cloth dampened with water. Never use a rough cloth, alcohol, benzine, thinner or any kind of solvent or paper towel with a chemical cleaning agent. These can damage the lens on the Nissan Rogue's instrument panel.
- Do not spray any liquid directly on the meter lens, as moisture can lead to malfunctioning of the display system.
MODELS WITH FULL-SCREEN DISPLAY

- Tachometer
- Vehicle information display
- Odometer
- Warning and indicator lights
- Speedometer
- Engine coolant temperature gauge
- Fuel gauge
Basic information
CAUTION
- Use only a soft cloth dampened with water for cleaning; harsh products may scratch or stain the display surface, especially on the digital clusters used in the Nissan Rogue.
- Avoid spraying liquid cleaners directly onto the lens to prevent display malfunction.

- Tachometer
- Engine coolant temperature gauge
- Speedometer
- Fuel gauge
Changing the meter screen view (models with full-screen display)
On full-screen display models of the Nissan Rogue, the meter screen view can be adjusted to enlarge the vehicle information display area.
To change the meter screen view:
1. Push the shortcut menu button A on the left side of the steering wheel.
"Shortcut Menu" will appear in the vehicle information display area.
2. Select "Change Meter View" using the scroll dial, then push the dial to confirm.
Speedometer and odometer

Example
Speedometer
The speedometer shows vehicle speed in miles per hour (MPH) and kilometers per hour (km/h), giving the driver clear visibility of speed during any driving condition.

Example
Distance to empty (dte)/Odometer
Distance to empty (dte):
The distance to empty (dte) 1 estimates how far the Nissan Rogue can travel before refueling, calculated from current fuel level and real-time fuel consumption.
The display updates every 30 seconds.
The low fuel warning appears automatically if fuel level becomes critically low. When the tank reaches a minimal amount, the dte display will show “---”.
- If only a small amount of fuel is added, the previous value may temporarily remain displayed.
- Fuel movement during uphill driving or tight curves may momentarily alter the displayed value.
Odometer:
The odometer 2 shows the total mileage driven by the vehicle since new.
Tachometer

Example
The tachometer displays engine speed in revolutions per minute (RPM). Avoid allowing the engine to enter the red zone 1.
CAUTION
If engine speed nears the red zone, upshift or reduce throttle immediately to prevent possible engine damage.
Engine coolant temperature gauge

Full-screen model

Analog model
The coolant temperature gauge shows the engine’s operating temperature.
Normal operating range is when the needle stays within zone 1.
Temperature fluctuations depend on outdoor temperature and driving style.
CAUTION
- If the indicator approaches the hot (H) zone, reduce speed.
- If the gauge exceeds the normal zone, stop safely and allow the engine to idle.
- Driving with an overheated engine may cause severe engine damage.
Fuel gauge

Full-screen model

Analog model
The fuel gauge displays approximate fuel level when the ignition is ON. Fuel sloshing during acceleration, braking or hill driving may cause slight movement of the needle.
The low fuel warning
appears when fuel is low. Refuel as soon as possible, ideally before reaching 0.
The arrow
shows the location of the fuel-filler door.
A small reserve remains when the gauge hits empty.
CAUTION
- If the vehicle runs out of fuel, the
malfunction indicator light (MIL) may illuminate. After refueling, the
light should turn off after a few trips.
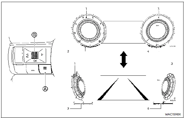
Instrument brightness control


The brightness control switch adjusts the illumination of the instrument panel when the ignition is ON.
Press the + side (A) to brighten; the bar 1 moves right.
Press the – side (B) to dim; the bar 1 moves left.
The display returns to normal mode if the switch is untouched for more than 5 seconds.
Continuously Variable Transmission (CVT) position indicator
The CVT position indicator shows the current shift lever position when the ignition switch is ON.
ECO Drive Report

Example
When the ignition switch of the Nissan Rogue is turned to the ON or OFF position, the ECO Drive Report screen is displayed on the vehicle information display.
- ECO evaluation
- Previous 5 times (History)
- Current fuel economy
- Best fuel economy
The result of ECO evaluation appears after the vehicle has been driven for about 10 minutes or more.
1: The more efficiently you drive the Nissan Rogue, the more segments will appear in the ECO evaluation.
2: The average fuel economy for the previous 5 drives will be displayed.
3: The average fuel economy since the last reset will be displayed.
4: The best fuel economy from the past driving history will be displayed.
When the "See Tire Pressure" message is shown in the ECO Drive Report, you can switch the display to the Tire Pressures screen by pushing the scroll dial on the steering wheel to confirm the additional message.
Variable Compression Turbo

Example
The engine in the Nissan Rogue is equipped with a variable compression ratio system called "Variable Compression Turbo". This system can continuously change the engine compression ratio as needed.
According to driving conditions, the system automatically applies the optimum compression ratio to balance strong performance with good fuel economy.
This is not a physical gauge. It is a selectable display item in the vehicle information display.
- Compression ratio status display
This display shows the current compression ratio controlled by the Variable Compression Turbo system. The lowest compression ratio (8:1) and the highest (14:1) are shown as "Power" and "Eco" respectively.
- Turbo charger boost pressure gauge
This gauge displays the turbo charger boost pressure.
The pressure unit for the gauge can be changed in the "Settings" menu.
NOTE:
Under some conditions, the compression ratio may not change. This does not indicate a malfunction of the system.
CAUTION
If the Variable Compression Turbo system becomes faulty, the Malfunction Indicator Light (MIL) may illuminate and the Nissan Rogue should be inspected by a qualified technician.
Other materials:
System Description. System
System Description
An Electrically-driven Intelligent Brake Unit is a booster system
that generates assist force by using an internal motor to operate a
piston inside the master cylinder part.
Control module is integrated with Electrically-driven Intelligent Brake Unit.
The amount ...
Additional Service When Replacing Front Camera Unit
Work Procedure
Always perform the front camera unit configuration after replacing the front camera unit.
Always perform the camera aiming after removing and installing or replacing the front camera unit.
CAUTION:
The system does not operate normally unless the front
camera unit confi ...
Kr15ddt. Precaution. Precautions
Precautions
Precautions for Removing Battery Terminal
With the adoption of Auto ACC function, ACC power is automatically
supplied by operating the Intelligent Key or remote keyless entry or by
opening/closing the driver side door. In addition, ACC power is supplied
even after the ignitio ...
