FUEL LEVEL SENSOR UNIT
Exploded View
Fuel Level Sensor Unit

Disassembly and Assembly
NOTE: Fuel level sensor unit and fuel tank temperature sensor are replaced as and assembly.
DISASSEMBLY
NOTE: Hold connector with your fingers, because there is no tab for releasing stopper. Pull harness connector straight downward.


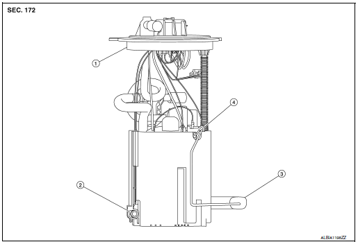
) and remove fuel level
sensor unit (2) from fuel filter and fuel pump assembly (1).CAUTION:

ASSEMBLY


INSPECTION AFTER INSTALLATION
Use the following procedure to check for fuel leaks.
SERVICE DATA AND SPECIFICATIONS (SDS)
Fuel Tank
Standard and Limit
| Fuel tank capacity | Approx. 55 ( 14-1/2
US gal, 12-1/8 Imp gal) |
| Fuel recommendation | Refer to MA-11 |
EVAP canister filter
Exhaust SystemDiagnosis system (BCM) (without intelligent key system)
COMMON ITEM
COMMON ITEM : CONSULT Function (BCM - COMMON ITEM)
APPLICATION ITEM
CONSULT performs the following functions via CAN communication with BCM.
Direct Diagnostic Mode
Description
Ecu Identification
The BCM part number is displayed.
Self Diagnostic ...
Making a call
To make a call from a phone connected to the
vehicle’s Bluetooth® Hands-Free Phone System:
Press the button.
The system will prompt you for a command.
Say “Call”.
Select one of the available voice commands
to continue:
“(a name)” – Speak the n ...
Rear wiper arm
Exploded View
Rear wiper motor
Rear wiper arm
Rear wiper blade
Rear wiper arm cover
Seal
Removal and Installation
REMOVAL
Check that the rear wiper is in the auto stop position.
Remove the rear wiper arm cover.
Remove the rear wiper arm nut from ...